Сварочные работы. Практический справочник - Сергей Кашин
Книгу Сварочные работы. Практический справочник - Сергей Кашин читаем онлайн бесплатно и без регистрации! Читать онлайн вы можете не только на компьютере, но и на андроид (Android), iPhone и iPad. Наслаждайтесь!
160 0 12:57, 13-05-2019Книга Сварочные работы. Практический справочник - Сергей Кашин читать онлайн бесплатно без регистрации
✓ инвертор, обладающий плавной регулировкой тока с точностью до 10–15 А, позволяет варить все металлы (углеродистые и легированные стали, чугун, цветные металлы) и электродом любой марки, в том числе и диаметром 1,6 мм;
✓ инвертор экономно расходует не только энергию, но и электроды, поскольку разбрызгивание электродного металла довольно незначительное;
✓ благодаря микропроцессорному управлению инвертор постоянно отслеживает ситуацию на дуге и, опережая сварщика, вносит необходимые коррективы, например отключает напряжение на дуге через 0,5 секунды после короткого замыкания, поэтому электрод не прилипает, а аппарат не перегревается; при незначительных локальных коротких замыканиях инвертор вырабатывает серию коротких мощных импульсов тока, разрушающих перемычки жидкого металла, что имеет большое значение при сварке короткой дугой;
✓ высокочастотная составляющая обеспечивает высокое качество сварного шва, поскольку осуществляются обжатие и стабилизация сварочной дуги, а также предупреждается возникновение магнитного дутья;
✓ данный источник питания весит в 5–10 раз меньше (10–12 кг), чем обычные сварочные аппараты такой же мощности. Инвертор снабжен ремнем, поэтому его можно повесить на плечо и работать на любом участке (при сварке особо ответственных конструкций из разных материалов, труб и сварных соединений, когда из-за условий работы нельзя подвести громоздкое промышленное оборудование).
При эксплуатации инвертора необходимо иметь представление о некоторых специфических особенностях, в частности:
✓ надо четко различать условия производства и обычные бытовые и не пытаться применять инвертор для работ, на которые он не рассчитан, например перерезать рельсы, – модуль IGBT просто выйдет из строя (это самая дорогая деталь аппарата);
✓ исключается небрежное обращение с инвертором и его эксплуатация при наличии явных неисправностей;
✓ инвертор нуждается в защите от проникновения пыли, поэтому следует обеспечить ему хорошие условия содержания и хранения;
✓ не стоит доверять такого рода технику некомпетентным людям.
Как и для любого другого вида деятельности, для сварки необходимо иметь набор определенных инструментов.
1. Электродержатель, который используют при ручной дуговой сварке. С его помощью зажимают электрод и подводят к нему электрический ток. Конструкция держателя должна быть такой, чтобы:
✓ иметь возможность легко, не прикасаясь к токопроводящим деталям, с минимальными временными затратами (за 4 секунды) заменить электрод;
✓ давать минимальный по длине огарок электрода;
✓ быть удобной в обращении;
✓ не мешать движениям сварщика и не утомлять его руку.
Для фиксации электрода в электродержателе были разработаны разные устройства (рис. 40, 41), например специальные пружины, зажимные устройства наподобие клещей, винтовые зажимы и др.

Рис. 40. Разновидности электродержателей с разжимными губками: а – конструкции завода «Электрик»; б – конструкции В. А. Шебеко; в – конструкции В. Ф. Сидорова

Рис. 41. Разновидности электродержателей с пружинящими губками: а – вилочного типа; б – пластинчатые конструкции Л. Д. Гурвица; в – конструкции Б. Г. Филиппова; 1 – электрод; 2 – головка; 3 – маховичок; 4 – рукоятка; 5 – винт; 6 – провод
Контактные губки, которые должны удерживать электрод, изготавливают из меди. Лучшими считаются конструкции с плоскими губками, которые благодаря своей упругости или усилию особой пружины обеспечивают прочное зажатие электрода.
В этом плане конструкции с винтовым зажимом представляются менее удачными, поскольку из-за перегрева и заклинивания винтового устройства они имеют короткий срок службы. Ручка электродержателя должна быть электроизолированной, т. е. иметь резиновую или пластмассовую оболочку. Кроме того, некоторые электродержатели оснащены специальным устройством, выключающим напряжение в момент замены электрода.
Электродержатели могут быть рассчитаны на разную величину сварочного тока. По этому параметру они делятся на три типа:
✓ I – для тока до 125 А;
✓ II – для тока до 315 А;
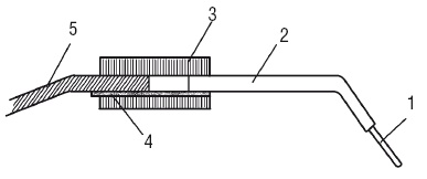
✓ III – для тока до 500 А. Существуют специальные электродержатели для безогаркового электрода (рис. 42), в которых конец последнего приварен встык к торцу стержня электродержателя и при сварке расплавляется без остатка, чем дает экономию электродов примерно на 15–20 %.

Рис. 42. Электродержатель для безогарковых электродов: 1 – электрод; 2 – стальной пруток; 3 – ручка; 4 – стальной лист; 5 – провод
К способу фиксации кабеля к электродержателю также предъявляются определенные требования. Конец кабеля должен закрепляться легко и надежно. При этом обязателен хороший контакт в точке его зажима. Электродержатель должен без ремонта выдержать использование 8000 электродов.
2. Щиток или маска. В процессе сварки необходимо защищать голову и лицо от различных вредных факторов, среди которых:
✓ свечение сварочной дуги;
✓ ультрафиолетовое и инфракрасное излучение;
✓ брызги расплавленного металла;
✓ раскаленный шлак;
✓ ядовитые газы.
Для этой цели предназначены щитки и маски. Сварочный щиток – конструкция наиболее примитивная. Он оснащен затемненным светофильтром и ручкой, за которую сварщик его удерживает.
Последнее обстоятельство одновременно является его достоинством и недостатком, поскольку, с одной стороны, можно легко отодвинуть щиток от лица и осмотреть полученный сварной шов, с другой – одна из рук постоянно занята, поэтому нет возможности придержать изделие или ударить по шву.
Маска, в отличие от щитка, имеет специальные крепления, с помощью которых она держится на голове. Чтобы рассмотреть зону сварки, ее просто поднимают, а чтобы продолжить работу, достаточно кивком головы опустить ее. Маска лишена недостатка щитка, поскольку освобождает руку, но есть один минус – при откинутой маске глаза оказываются незащищенными (например, при работе «болгаркой»).
Более современная конструкция – маска с подъемным светофильтром, в которой пластмассовый щиток защищает глаза, когда фильтр поднят.
Прочитали книгу? Предлагаем вам поделится своим впечатлением! Ваш отзыв будет полезен читателям, которые еще только собираются познакомиться с произведением.
Уважаемые читатели, слушатели и просто посетители нашей библиотеки! Просим Вас придерживаться определенных правил при комментировании литературных произведений.
Просьба отказаться от дискриминационных высказываний. Мы защищаем право наших читателей свободно выражать свою точку зрения. Вместе с тем мы не терпим агрессии. На сайте запрещено оставлять комментарий, который содержит унизительные высказывания или призывы к насилию по отношению к отдельным лицам или группам людей на основании их расы, этнического происхождения, вероисповедания, недееспособности, пола, возраста, статуса ветерана, касты или сексуальной ориентации. Просьба отказаться от оскорблений, угроз и запугиваний. Просьба отказаться от нецензурной лексики. Просьба вести себя максимально корректно как по отношению к авторам, так и по отношению к другим читателям и их комментариям.
Надеемся на Ваше понимание и благоразумие. С уважением, администратор My-Books.me.
Оставить комментарий
-
Александра15 январь 09:37
Очень интересная книга! Особенно, если любишь психологию и хочешь понимать себя и других. Обязательно послушаю до конца. Спасибо....
Кригер Борис – Гнев
-
Галина25 май 13:02
Очень уважаю Артема Шейнина, книга замечательная, очень мне близкая по духу.Перечитываю уже второй раз, столько пережитого и не...
Мне повезло вернуться - Артем Шейнин
-
Екатерина11 январь 08:05
Доброе утро. Подскажите пожалуйста как сохранять книги, ставить закладки?...
Подонок - Анастасия Леманн