Сварочные работы. Практический справочник - Сергей Кашин
Книгу Сварочные работы. Практический справочник - Сергей Кашин читаем онлайн бесплатно и без регистрации! Читать онлайн вы можете не только на компьютере, но и на андроид (Android), iPhone и iPad. Наслаждайтесь!
160 0 12:57, 13-05-2019Книга Сварочные работы. Практический справочник - Сергей Кашин читать онлайн бесплатно без регистрации
отличается устойчивостью. Ток обратной полярности востребован при сварке тонких металлических листов и в других случаях, когда требуется уменьшить выделение тепла;
✓ длина дуги. Она равна расстоянию от торца электрода до поверхности сварочной ванны. Для стального электрода длина дуги составляет не более 2–4 мм. В этом случае она называется короткой. Для нее характерны такие качества, как устойчивое горение и оптимальное протекание сварочного процесса.
Дуга длиной 4–6 мм считается нормальной, более 6 мм – длинной. В последнем случае отмечается ряд негативных явлений: во-первых, плавление происходит неравномерно, дуга неустойчивая; во-вторых, капли металла, капающие с электрода, могут подвергаться окислению кислородом и насыщению азотом из атмосферного воздуха; в-третьих, наплавленный металл приобретает пористость, а шов – неровную поверхность; в-четвертых, падает производительность, возрастает разбрызгивание жидкого металла, возникают непроваренные участки.
Сварочную дугу можно классифицировать не только по принципу действия (прямого, косвенного и комбинированного), длине, роду тока, полярности постоянного тока или виду электрода, но и по таким признакам, как:
✓ длительность горения. Различаются стационарная и импульсная дуга;
✓ степень сжатия. Дуга может быть свободной и сжатой;
✓ характер среды, в которой происходит сварка. Дуга бывает открытой (горение происходит в атмосферном воздухе) или закрытой (если она возникает под флюсом либо в среде защитных газов);
✓ тип статической вольт-амперной характеристики (так называется зависимость падения напряжения в сварочной дуге от силы тока в условиях постоянной длины дуги).
По этому параметру выделяются дуги с жесткой (падение напряжение не зависит от силы тока), падающей (увеличение силы тока приводит к уменьшению падения напряжения) и возрастающей (напряжение возрастает при увеличении тока) характеристикой.
При сварке вокруг дуги и в металле изделия создаются магнитные поля. Если они несимметричны, тогда под их воздействием дуга отклоняется, затрудняя процесс. Действие магнитных полей, в результате которого дуговой разряд отклоняется, называется магнитным дутьем.
Сила магнитного поля пропорциональна квадрату тока, что объясняет такое явление: магнитное дутье усиливается, если вести сварку с применением постоянного тока силой более 300–400 А, в то время как сварка переменным током протекает с менее выраженным магнитным дутьем. Имеют значение и другие факторы, в частности использование флюса, тонко– и толстопокрытых электродов.
Величина магнитного дутья зависит и от других условий, среди которых следующие:
✓ нахождение ферримагнитных масс в непосредственной близости от зоны сварки;
✓ тип сварного соединения;
✓ наличие зазора между кромками;
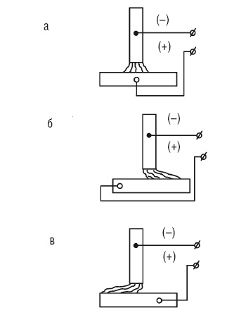
✓ точка подведения электрического тока к изделию (рис. 47) и др.
Поскольку магнитное дутье может создавать трудности при выполнении сварки, для нейтрализации или уменьшения влияния предпринимают соответствующие меры, в частности:
✓ ведут сварку короткой дугой;
✓ подводят сварочный ток как можно ближе к дуге;
✓ варят, наклоняя электрод в сторону действия магнитного дутья, и др.

Рис. 47. Отклонение сварочной дуги вследствие магнитного дутья в зависимости от места подведения тока: а – нормальное положение дуги; б – отклонение дуги в левую сторону; в – отклонение дуги в правую сторону
В процессе сварки плавящийся электродный металл постепенно перетекает в сварочную ванну. Это происходит следующим образом:
1) под воздействием высокой температуры сварочной дуги электродный металл расплавляется, например электроду длиной 450 мм для этого достаточно 1,5–2 минут;
2) в результате действия сил поверхностного натяжения и гравитации жидкий металл электрода принимает форму капли, в основании которой образуется тонкая шейка;
3) шейка капли постепенно утончается, что сопровождается увеличением плотности тока в шейке, и удлиняется вплоть до момента касания поверхности основного металла;
4) касание предшествует короткому замыканию, резкому увеличению тока, разрыву шейки капли и возбуждению дуги между электродом и каплей. В результате давления паров и газов она быстро погружается в расплавленный металл сварочной ванны, разбрызгивая некоторую часть материала, после чего весь процесс повторяется с начала (при ручной дуговой сварке каплями переносятся 95 % металла электрода, а 5 % разбрызгиваются). За 1 секунду с электрода на изделие переносится 20–50 капель приблизительно одинакового размера.
Плавление и перенос металла в сварочной дуге показаны на рис. 48.

Рис. 48. Капельный перенос электродного металла на изделие: а – образование слоя расплавленного металла на конце электрода; б – формирование капли; в – касание капли поверхности сварочной ванны; г – возбуждение новой дуги
Время, в течение которого происходят горение дуги и короткое замыкание, составляет приблизительно 0,02–0,05 секунды. Форма капель и их размер зависят от ряда факторов, к которым относятся:
✓ сила тяжести и сила поверхностного натяжения. При наложении нижнего шва сила тяжести помогает отрыву капли и переносу электродного металла в сварной шов, а при выполнении потолочного шва, напротив, препятствует;
✓ состав и толщина электродного покрытия, которое снижает поверхностное натяжение примерно на 20–30 %;
✓ величина сварочного тока;
✓ диаметр электрода;
✓ длина дуги и т. д.
При расплавлении покрытия электрода выделяется значительное количество газов, благодаря которым давление в зоне дуги повышается, что приводит к размельчению капель расплавленного металла. С повышением сварочного тока капли уменьшаются в размере. Перенос металла электрода в сварочную ванну крупными каплями наблюдается при сварке на малых токах с применением тонкопокрытых электродов. При увеличении плотности сварочного тока и применении толстопокрытых электродов перенос электродного металла в сварочную ванну напоминает поток мельчайших капель, которые следуют друг за другом. Поэтому данный процесс называется струйным переносом металла (рис. 49).
При этом снижается выгорание легирующих веществ в сварочной проволоке, а чистота металла шва возрастает. Это основное преимущество струйного переноса электродного металла по сравнению с капельным. Но при использовании штучных электродов это невозможно, поскольку плотность тока на электроде не превышает 10–20 А/мм2.
Прочитали книгу? Предлагаем вам поделится своим впечатлением! Ваш отзыв будет полезен читателям, которые еще только собираются познакомиться с произведением.
Уважаемые читатели, слушатели и просто посетители нашей библиотеки! Просим Вас придерживаться определенных правил при комментировании литературных произведений.
Просьба отказаться от дискриминационных высказываний. Мы защищаем право наших читателей свободно выражать свою точку зрения. Вместе с тем мы не терпим агрессии. На сайте запрещено оставлять комментарий, который содержит унизительные высказывания или призывы к насилию по отношению к отдельным лицам или группам людей на основании их расы, этнического происхождения, вероисповедания, недееспособности, пола, возраста, статуса ветерана, касты или сексуальной ориентации. Просьба отказаться от оскорблений, угроз и запугиваний. Просьба отказаться от нецензурной лексики. Просьба вести себя максимально корректно как по отношению к авторам, так и по отношению к другим читателям и их комментариям.
Надеемся на Ваше понимание и благоразумие. С уважением, администратор My-Books.me.
Оставить комментарий
-
Александра15 январь 09:37
Очень интересная книга! Особенно, если любишь психологию и хочешь понимать себя и других. Обязательно послушаю до конца. Спасибо....
Кригер Борис – Гнев
-
Галина25 май 13:02
Очень уважаю Артема Шейнина, книга замечательная, очень мне близкая по духу.Перечитываю уже второй раз, столько пережитого и не...
Мне повезло вернуться - Артем Шейнин
-
Екатерина11 январь 08:05
Доброе утро. Подскажите пожалуйста как сохранять книги, ставить закладки?...
Подонок - Анастасия Леманн