Полы, арки и перегородки в современном доме - В. Котельников
Книгу Полы, арки и перегородки в современном доме - В. Котельников читаем онлайн бесплатно и без регистрации! Читать онлайн вы можете не только на компьютере, но и на андроид (Android), iPhone и iPad. Наслаждайтесь!
178 0 16:06, 13-05-2019Книга Полы, арки и перегородки в современном доме - В. Котельников читать онлайн бесплатно без регистрации
Если нагревательный кабель по какой-либо причине впоследствии будет поврежден, не стоит задумываться о смене всей системы. С помощью специального оборудования можно локализовать место повреждения, вскрыть покрытие пола и установить ремонтную муфту.
Нагревательные кабели
Главным элементом теплого пола является нагревательный кабель, необходимый для преобразования протекающего по нему электрического тока в тепло.
Во время работы теплого пола он может нагреваться до 60–70 °C, а материалы изоляции и оболочки выдерживают температуры выше 10 °C.
От надежности нагревательной системы и муфты, соединяющей холодные провода с нагревательным кабелем, зависит срок службы всей системы «теплый пол». Как правило, он составляет не менее 15–20 лет.
Наиболее распространенными являются одножильная и двухжильная экранированные конструкции резистивных нагревательных кабелей. Нагревательная система из одножильного кабеля содержит две муфты и два «холодных конца». Система с двухжильным кабелем на одном конце армируется концевой заглушкой, а на другом находится муфта и «холодный конец». Схема укладки двухжильного кабеля более простая.
Правила выбора системы «теплый пол»
Выбирая систему «теплый пол», необходимо учитывать следующие факторы:
– будет ли теплый пол использоваться только в качестве подогрева, или он полностью заменит систему отопления;
– особенности помещения;
– мощность электропроводки;
– какой вид термостата необходим;
– теплоизоляцию какого вида предпочтительнее использовать в данном помещении;
– стоимость нагревательного кабеля.
Различные системы предназначены для установки на определенную площадь. При этом нужно учитывать, что нагревательную секцию помещают на расстоянии 10–20 см от стен для того, чтобы расположить в этой зоне мебель. Поэтому площадь обогрева следует определять с вычетом неотапливаемых зон.
Рассчитывая мощность, стоит обратить внимание на особенности помещения: первый или последний этаж, большое остекление, покрытие пола толстыми плитами керамогранита и т. п. В таких случаях требуется увеличение мощности системы. Что касается деревянного пола или паркетной доски, то из-за низкой теплопроводности дерева стандартной удельной мощности теплого пола может быть недостаточно. Но ее также не следует излишне увеличивать, так как под деревянным покрытием в пространстве между лагами температура на поверхности кабеля, как правило, повышается и происходит нежелательный нагрев дерева.
Правила выбора датчика температуры
Различают два типа датчиков температуры – пола и воздуха. Выбор, как правило, делают в зависимости от того, показания какого датчика учитываются при работе всей системы.
Если теплый пол предназначен только для поддержания комфортной температуры пола, то целесообразно использовать датчик пола. Если важна температура воздуха и система заменяет основное отопление, то необходим датчик воздуха.
При монтаже терморегулятора с датчиком температуры воздуха для получения наиболее точных данных рекомендуется выбирать место установки, учитывая воздушные потоки и возможные сквозняки.
Правила выбора терморегулятора
Задача терморегулятора – обеспечивать поддержание или регулирование в помещении нужной температуры.
Согласно нормам предельно допустимая мощность бытовых терморегуляторов для теплого пола составляет 3 кВт.
Не рекомендуется устанавливать программируемый терморегулятор в ванной или туалете, так как мощность системы там, как правило, небольшая (не более 400 Вт), а отрегулировать настройку по времени включения и выключения проблематично: так как понадобится помещение может в любое время суток. Программируемые терморегуляторы подходят для использования в таких помещениях, как спальня или гостиная.
Также лучше не использовать дешевые «электромеханические» терморегуляторы, которые отличаются неточностью своего биметаллического термочувствительного элемента.
Наиболее популярны комнатные электронные термостаты с датчиком пола (рис. 9). Они отличаются простотой в использовании и надежностью.

Рис. 9. Подключение терморегулятора: 1 – фаза; 2 – ноль; 3 – датчик температуры пола; 4 – кабель нагревательный
Для обогрева зонированных помещений, например кухни-столовой или гостиной-столовой, рекомендуется обратить внимание на терморегулятор с управлением по двум независимым датчикам пола. Особенно это актуально при использовании разных типов напольного покрытия с различными теплопроводящими характеристиками.
Режимом обогрева можно управлять с помощью одного контроллера. Один такой теплопорт может независимо управлять двумя зонами обогрева.
В каждой зоне можно задавать программу подогрева на неделю. Последние новинки техники оснащены возможностью управления контроллером через СМС-сообщения.
Монтаж теплого пола
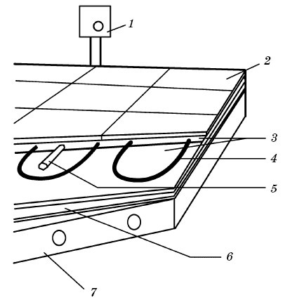
Система «теплый пол» состоит из нагревательной секции, термостата с датчиком температуры, специальных аксессуаров для облегчения и ускорения монтажа (монтажная лента, гофрированная пластиковая трубка и т. п.), теплоизоляции (рис. 10).
Монтаж системы осуществляется на выровненный и очищенный черновой пол, на который предварительно уложена теплоизоляция, а поверх нее закреплена монтажная лента.

1 – терморегулятор; 2 – керамическая плитка;3 – цементно-песочная стяжка; 4 – нагревательный кабель; 5 – трубка с датчиком пола; 6 – теплоизоляция; 7 – перекрытие
Именно с помощью такой ленты происходит крепление нагревательной секции. Для соединения с термостатом «холодные концы» необходимо вывести на стену. Предварительно следует определить место установки термостата, а затем уложить рядом с ним между двумя нитками нагревательного кабеля гофрированную трубку для установки датчика температуры.
Совет мастера
Рекомендуется сделать предварительный эскиз укладки, на котором должны быть указаны места расположения муфты и термодатчика. При возможном повреждении системы (например, при последующем ремонте) эта схема будет очень полезной.
Прочитали книгу? Предлагаем вам поделится своим впечатлением! Ваш отзыв будет полезен читателям, которые еще только собираются познакомиться с произведением.
Уважаемые читатели, слушатели и просто посетители нашей библиотеки! Просим Вас придерживаться определенных правил при комментировании литературных произведений.
Просьба отказаться от дискриминационных высказываний. Мы защищаем право наших читателей свободно выражать свою точку зрения. Вместе с тем мы не терпим агрессии. На сайте запрещено оставлять комментарий, который содержит унизительные высказывания или призывы к насилию по отношению к отдельным лицам или группам людей на основании их расы, этнического происхождения, вероисповедания, недееспособности, пола, возраста, статуса ветерана, касты или сексуальной ориентации. Просьба отказаться от оскорблений, угроз и запугиваний. Просьба отказаться от нецензурной лексики. Просьба вести себя максимально корректно как по отношению к авторам, так и по отношению к другим читателям и их комментариям.
Надеемся на Ваше понимание и благоразумие. С уважением, администратор My-Books.me.
Оставить комментарий
-
Александра15 январь 09:37
Очень интересная книга! Особенно, если любишь психологию и хочешь понимать себя и других. Обязательно послушаю до конца. Спасибо....
Кригер Борис – Гнев
-
Галина25 май 13:02
Очень уважаю Артема Шейнина, книга замечательная, очень мне близкая по духу.Перечитываю уже второй раз, столько пережитого и не...
Мне повезло вернуться - Артем Шейнин
-
Екатерина11 январь 08:05
Доброе утро. Подскажите пожалуйста как сохранять книги, ставить закладки?...
Подонок - Анастасия Леманн