Полы, арки и перегородки в современном доме - В. Котельников
Книгу Полы, арки и перегородки в современном доме - В. Котельников читаем онлайн бесплатно и без регистрации! Читать онлайн вы можете не только на компьютере, но и на андроид (Android), iPhone и iPad. Наслаждайтесь!
178 0 16:06, 13-05-2019Книга Полы, арки и перегородки в современном доме - В. Котельников читать онлайн бесплатно без регистрации
Устройство гидроизоляционного слоя
Гидроизоляционный слой представляет собой уложенные полосы толстой пленки или рубероидные рулоны. Полосы материала должны быть размещены внахлест примерно по 10–15 см. Нахлест на стены, выходящие трубы водоснабжения и канализационные сливы, если они имеются, должен составлять 10 см. При этом трубы и материал теплоизоляции необходимо смазать герметиком или мастикой чуть выше уровня, до которого будет наливаться цементный раствор. Установка гидроизоляционного слоя обязательна для таких помещений, как ванная, туалет и кухня. В других комнатах он понадобится только лишь для защиты квартиры на первых этажах.
Армирование
Производится усиление слоя стяжки с помощью армирования лишь в случаях укладки на грунт. Выполняется с помощью формирования сетки из сваренной арматуры или специальной стальной сетки. В качестве альтернативы можно поместить в раствор бетона или цемента добавку в виде фибрина, который представляет собой волокнистый материал из металла или пластика.
Установка дополнительного оборудования
Если необходимо установить систему «теплый пол» или распределить проводку, то это выполняется именно на данном этапе. Все работы производятся с учетом технологических особенностей. Прокладываются и закрепляются трубы для водяного подогрева пола или размещаются нагревательные элементы для электрического теплого пола.
Процесс укладки стяжки
Для создания ровной стяжки необходимо использовать систему маяков, которые следует распределить по полу (рис. 5, 6).

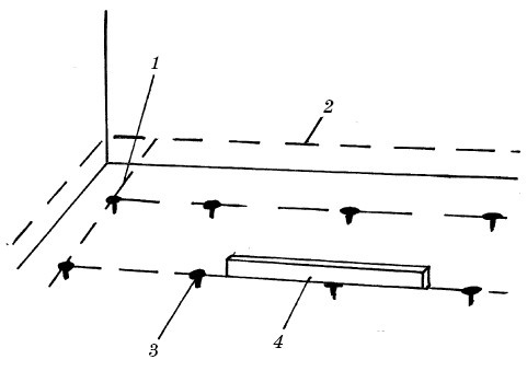
Рис. 5. Штыревые маяки: 1 – натянутые шнуры; 2 – уровень верха стяжки; 3 – саморез; 4 – строительный уровень

Рис. 6. Маяки из направляющих профилей: 1 – демпферный слой; 2 – гидроизоляция; 3 – раствор;4 – ПН-профиль
Для установки маячковой рейки можно использовать раствор, которым впоследствии будет заливаться стяжка. В пол следует вкрутить шурупы по прямой линии параллельно стене. При этом нужно соблюдать отступ от стены в 20 см. Шляпки шурупов должны располагаться на одном уровне. Это можно проверить с помощью ручного или лазерного уровня. Шляпки должны располагаться на высоте ниже результирующего слоя стяжки на 6 или 10 мм, в зависимости от высоты реек. Расстояние между шурупами обычно варьируется в пределах 60–80 см, чтобы маяки, установленные на них, не прогибались.
Следующая линия с шурупами должна находиться уже на расстоянии 1–1,5 м от предыдущей.
Расстояние должно быть немного меньше, чем длина правила, с помощью которого выравнивается слой стяжки. Далее необходимо залить раствором шурупы, а поверх него закрепить маячковую рейку. Когда все рейки окончательно будут находиться в одной плоскости по уровню, нужно будет дождаться высыхания раствора, на котором они расположены. Маяки необходимы в любом случае, даже при небольшой площади помещения, так как выравнивание всегда должно происходить по уровню.
Для раствора можно использовать готовые смеси для выравнивания пола. В настоящее время они представлены в продаже в большом количестве. Многие из них обладают дополнительными свойствами. К каждому товару приложена своя инструкция.
Что касается обычной цементно-песчаной стяжки, то здесь главное – соблюдать пропорции цемента и песка 1: 3. Для достижения большей прочности рекомендуется добавить еще мешок клеевой смеси для плитки. В результате полученный раствор не должен сильно растекаться, но его консистенция не должна быть излишне сухой. Бетон не рекомендуется делать самим, экономичнее и качественнее будет заказать готовый. К тому же бетонная стяжка хороша только для частных домов и первых этажей многоквартирных.
Сам процесс заливки пола в отдельно взятом помещении должен быть выполнен за один заход. При этом необходимо иметь ввиду, что цементный раствор схватывается примерно за 40–60 минут. Если времени пройдет больше, то его уже нельзя будет выровнять, а также добавить воду. Все это скажется на качестве.
В первую очередь должна быть заполнена полоса между маяками в дальней стороне от двери. Тогда можно будет приступать к разравниванию поверхности с помощью правила, которое при этом должно упираться краями на маяки и с небольшими подвижками из стороны в сторону проводится вдоль них.
По мере укладки раствора его необходимо добавлять в те места, где его не хватает. Далее можно будет переходить к заполнению следующих полос между маяками.
После выравнивания очередного участка нужно в некоторых местах проткнуть проволокой слой раствора, чтобы выпустить воздух, который мог попасть во время распределения и разравнивания.
Наступать на поверхность стяжки разрешается только через сутки после ее устройства, особенно в случае использования обычного цементно-песчаного раствора. Для создания так называемого «опорного островка» можно использовать лист ДСП или гипсокартона. В это время можно удалить маяки из слоя стяжки и залить образовавшиеся канавки раствором. Поверхность в этих местах нужно выровнять с помощью кельмы или с использованием затирки.
Если в качестве материала заливки используется бетон, то необходимо отшлифовать его поверхность после полного высыхания. Благодаря этому поверхность будет ровной и готовой для дальнейшей укладки напольного покрытия. При выравнивании бетонного пола можно ограничиться только теми местами, где заметны неровности. Шлифовку рекомендуется проводить с использованием специального круга, установленного на угловой шлифмашинке (болгарке).
Поверхность стяжки можно считать полностью готовой для дальнейших работ только через 1–2 недели после заливки. Запрещается начинать последующие работы до того момента, пока стяжка полностью не высохнет.
Ни в коем случае нельзя искусственно ускорять процесс высыхания раствора, так как основная прочность бетона и цементного состава образуется не за счет испарения воды, а благодаря сцеплению и адгезии.
Наоборот, если в течение первого дня видно, что поверхность высохла значительно, лучше увлажнить ее с помощью валика.
Для полного высыхания бетонной или цементной стяжки необходим месяц, в течение которого следует сохранять помещение от сквозняков, а поверхность пола – от механических повреждений. Из-за сквозняков или излишнего нагрева бетон может растрескаться. Если трещины все-таки появятся, их стоит незамедлительно увлажнить и затереть раствором.
Для того чтобы избежать любых повреждений поверхности стяжки, рекомендуется вместо цемента применять сухие смеси, содержащие специальные добавки, придающие бетону большую вязкость, прочность и влагостойкость.
Прочитали книгу? Предлагаем вам поделится своим впечатлением! Ваш отзыв будет полезен читателям, которые еще только собираются познакомиться с произведением.
Уважаемые читатели, слушатели и просто посетители нашей библиотеки! Просим Вас придерживаться определенных правил при комментировании литературных произведений.
Просьба отказаться от дискриминационных высказываний. Мы защищаем право наших читателей свободно выражать свою точку зрения. Вместе с тем мы не терпим агрессии. На сайте запрещено оставлять комментарий, который содержит унизительные высказывания или призывы к насилию по отношению к отдельным лицам или группам людей на основании их расы, этнического происхождения, вероисповедания, недееспособности, пола, возраста, статуса ветерана, касты или сексуальной ориентации. Просьба отказаться от оскорблений, угроз и запугиваний. Просьба отказаться от нецензурной лексики. Просьба вести себя максимально корректно как по отношению к авторам, так и по отношению к другим читателям и их комментариям.
Надеемся на Ваше понимание и благоразумие. С уважением, администратор My-Books.me.
Оставить комментарий
-
Александра15 январь 09:37
Очень интересная книга! Особенно, если любишь психологию и хочешь понимать себя и других. Обязательно послушаю до конца. Спасибо....
Кригер Борис – Гнев
-
Галина25 май 13:02
Очень уважаю Артема Шейнина, книга замечательная, очень мне близкая по духу.Перечитываю уже второй раз, столько пережитого и не...
Мне повезло вернуться - Артем Шейнин
-
Екатерина11 январь 08:05
Доброе утро. Подскажите пожалуйста как сохранять книги, ставить закладки?...
Подонок - Анастасия Леманн