Интеллектуальная собственность в бизнесе: изобретение, товарный знак, ноу-хау, фирменный бренд... - Микаэл Дашян
Книгу Интеллектуальная собственность в бизнесе: изобретение, товарный знак, ноу-хау, фирменный бренд... - Микаэл Дашян читаем онлайн бесплатно и без регистрации! Читать онлайн вы можете не только на компьютере, но и на андроид (Android), iPhone и iPad. Наслаждайтесь!
221 0 16:06, 21-05-2019Книга Интеллектуальная собственность в бизнесе: изобретение, товарный знак, ноу-хау, фирменный бренд... - Микаэл Дашян читать онлайн бесплатно без регистрации

Рис. Привод штангового глубинного насоса (из реферата к патенту)
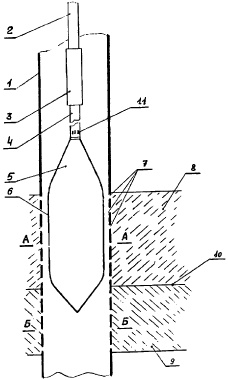
Согласно изобретению повышают скорость движения нефти в полости обсадной колонны напротив перфорации в нефтенасыщенном интервале пласта. Это осуществляют за счет сужения канала прохода нефти. Для этого на конце колонны хвостовых труб укрепляют устройство – наконечник в виде обтекаемого веретенообразного тела с утолщением длиной, выбранной исходя из протяженности нефтенасыщенного интервала.
Патент РФ № 2166630 на изобретение «Способ контроля за разработкой нефтяного месторождения»[155] (патентообладатель: ЗАО «Инжиниринговый центр ЮКОС»; приоритет от 3 сентября 1999 г.)
Извлечения из реферата изобретения:
Изобретение относится к нефтяной промышленности, а именно к способам контроля за разработкой нефтяных месторождений. Обеспечивает повышение эффективности и достоверности способа контроля за разработкой нефтяных месторождений за счет нестационарных процессов фильтрации и определения гидродинамически изолированных участков месторождения, а также позволит обеспечить эффективность проводимых геолого-технических мероприятий. Сущность изобретения: дополнительно исследуют упругие свойства агента вытеснения и вытесняемой жидкости и пористую среду на сжимаемость. Собирают промыслово-технологическую информацию о работе каждой скважины. С учетом этой информации осуществляют математическое моделирование процессов фильтрации с приемлемой степенью совпадения расчетных и фактических технологических показателей и построение математической модели выбранной области нефтяной залежи.
Иностранные компании в этой сфере проявляют значительно меньшую «патентную» активность, чем в других отраслях. Впрочем, в числе зарегистрированных ими патентов можно указать следующие:
Патент РФ № 2272907 на изобретение «Способ и система выполнения операций обработки в скважинах» (патентообладатель: Маратон Ойл компании, США; приоритет от 25 мая 2001 г.)
Извлечения из реферата изобретения
Изобретения относятся к строительству и эксплуатации нефтегазовых скважин и могут быть использованы для выполнения действий в скважине, требующих привязки по глубине.
Способ предусматривает расположение на манжете обсадной колонны на известной глубине идентификационного радиоприбора, который уникально идентифицируется, транспортировку через скважину вместе с устройством обработки устройства, позволяющего обнаружить радиоприбор, передачу радиоприбором ответных сигналов для его идентификации и управление инструментом обработки в ответ на обнаружение радиоприбора.
В качестве идентификационной информации радиоприбора используют информацию о маркировке манжеты обсадной колонны и глубине. Операция может включать в себя процесс, выбранный из группы, состоящей из процессов пробивания отверстий, установки пакера, установки мостовых заглушек, процессов каротажа, инспектирования, химической обработки, установки заплаток на обсадную трубу, реактивного нарезания и процессов очистки.
Система выполнения операции обработки в скважине включает множество идентификационных приборов, расположенных внутри скважины на разнесенных интервалах и известных глубинах, каждый из которых уникально идентифицируется, и соответствующее устройство считывания. Устройство считывания может быть прикреплено к инструменту обработки. Система может содержать транспортный механизм для перемещения устройства считывания и инструмента обработки через скважину. Устройство считывания может содержать приемник для приема ответных сигналов и передатчик для передачи сигналов передачи на идентификационные радиоприборы. Инструментами обработки могут являться перфорационный инструмент или инструмент установки пакера. С устройством считывания может быть связан компьютер, содержащий дисплей для подачи на него сигналов от устройства считывания. Изобретения направлены на повышение точности установки инструмента обработки в скважине.
Патент РФ № 2199659 на изобретение «Способ интенсификации добычи нефти» (патентообладатель: Ойл Технолоджи (Оверсиз) продакшн Лтд., Кипр; приоритет от 1 октября 2001 г.)
Извлечения из реферата изобретения:
Изобретение относится к области нефтегазовой промышленности и может быть использовано для повышения нефтегазоотдачи продуктивных пластов нефтяных и газовых скважин путем воздействия на них энергией ударной волны, возбуждаемой электрическими разрядами в жидкости призабойной зоны.
Техническим результатом изобретения является повышение интенсификации добычи нефти при меньших энергетических затратах за счет эффективного воздействия электрогидроимпульсной ударной волны на продуктивный пласт скважины, уменьшение габаритов энергетического источника импульсов и снижение затрат на производство работы. Для этого генерируют электрогидравлическую ударную волну в жидкости призабойной зоны скважины импульсными разрядами с помощью конденсаторного разрядного устройства с искровым разрядником, введенными в скважину через обсадную трубу. При этом возбуждение ударной волны осуществляют с внешней стороны обсадной трубы, для этого электроразрядное устройство выводят за пределы обсадной трубы через выполненное в ней отверстие. Генерированную в жидкости ударную волну направляют в нефтеносный грунт для отделения нефти от грунта.
Зарегистрированных полезных моделей, связанных непосредственно со сферой нефти в России, не так уж и много. Преимущественно полезные модели регистрируют изобретатели – физические лица.
Если же обсуждать полезные модели, права на которые принадлежат известным компаниям, следует указать следующие:
Патент № 65964 на полезную модель «Устройство для добычи нефти из обводненного продуктивного пласта» (патентообладатель: ОАО «Татнефть» им. В.Д. Шашина; приоритет от 5 сентября 2006 г.)
Реферат изобретения
Устройство для добычи нефти из обводненного продуктивного пласта, содержащее колонну насосно-компрессорных труб, два насоса, приемную камеру, размещенную напротив продуктивного интервала, пакер, изолирующий продуктивный пласт, отличающееся тем, что оно снабжено разделителем фаз, установленным в приемной камере и выполненным в виде концентрично установленных друг в друге труб, позволяющих разделять водогазонефтяную смесь на жидкие фазы и подавать их на приемы насосов, при этом насосы выполнены плунжерными, причем плунжер верхнего насоса колонной насосных штанг связан с приводом, а нижний насос перевернут и его нагнетательный клапан находится под всасывающим клапаном, при этом плунжер нижнего насоса жестко соединен с хвостовиком, жестко установленным на нижнем конце приемной камеры, причем на корпусе нижнего насоса установлен пакер, изолирующий продуктивный пласт, а снизу корпус нижнего насоса снабжен радиальными отверстиями и уперт на забой скважины.
Прочитали книгу? Предлагаем вам поделится своим впечатлением! Ваш отзыв будет полезен читателям, которые еще только собираются познакомиться с произведением.
Уважаемые читатели, слушатели и просто посетители нашей библиотеки! Просим Вас придерживаться определенных правил при комментировании литературных произведений.
Просьба отказаться от дискриминационных высказываний. Мы защищаем право наших читателей свободно выражать свою точку зрения. Вместе с тем мы не терпим агрессии. На сайте запрещено оставлять комментарий, который содержит унизительные высказывания или призывы к насилию по отношению к отдельным лицам или группам людей на основании их расы, этнического происхождения, вероисповедания, недееспособности, пола, возраста, статуса ветерана, касты или сексуальной ориентации. Просьба отказаться от оскорблений, угроз и запугиваний. Просьба отказаться от нецензурной лексики. Просьба вести себя максимально корректно как по отношению к авторам, так и по отношению к другим читателям и их комментариям.
Надеемся на Ваше понимание и благоразумие. С уважением, администратор My-Books.me.
Оставить комментарий
-
Александра15 январь 09:37
Очень интересная книга! Особенно, если любишь психологию и хочешь понимать себя и других. Обязательно послушаю до конца. Спасибо....
Кригер Борис – Гнев
-
Галина25 май 13:02
Очень уважаю Артема Шейнина, книга замечательная, очень мне близкая по духу.Перечитываю уже второй раз, столько пережитого и не...
Мне повезло вернуться - Артем Шейнин
-
Екатерина11 январь 08:05
Доброе утро. Подскажите пожалуйста как сохранять книги, ставить закладки?...
Подонок - Анастасия Леманн