Интеллектуальная собственность в бизнесе: изобретение, товарный знак, ноу-хау, фирменный бренд... - Микаэл Дашян
Книгу Интеллектуальная собственность в бизнесе: изобретение, товарный знак, ноу-хау, фирменный бренд... - Микаэл Дашян читаем онлайн бесплатно и без регистрации! Читать онлайн вы можете не только на компьютере, но и на андроид (Android), iPhone и iPad. Наслаждайтесь!
221 0 16:06, 21-05-2019Книга Интеллектуальная собственность в бизнесе: изобретение, товарный знак, ноу-хау, фирменный бренд... - Микаэл Дашян читать онлайн бесплатно без регистрации
– насосные установки;
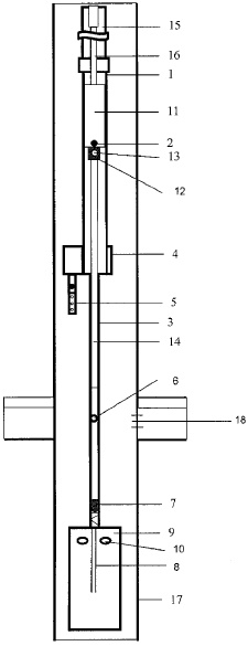
Например, патент РФ № 2299978 на изобретение «насосная установка для одновременной добычи нефти и локальной депрессионно-волновой обработки призабойной зоны пласта»
(приоритет от 24 августа 2006 г.)
Извлечения из реферата изобретения
Изобретение обеспечивает возможность одновременной очистки призабойной зоны имплозионным воздействием, добычи нефти и сбора загрязнений на забое скважины в специальный отстойник. Сущность изобретения: установка включает цилиндр насоса, составленный из двух, соединенных между собой цилиндров разного диаметра, большего сверху и меньшего снизу.

Рис. Насосная установка (из реферата к патенту)
Боковой всасывающий клапан присоединен к большему цилиндру в его нижней части. Меньший цилиндр в средней части снабжен отверстиями и в нижней части снабжен обращенным подпружиненным клапаном, к которому прикреплен контейнер-отстойник, имеющий отверстия в верхней части. Плунжер насоса составлен из двух плунжеров. Верхний плунжер размещен в большем цилиндре и через полый переводник с входными отверстиями соединен с удлиненным заглушенным плунжером, размещенным в меньшем цилиндре. При этом больший цилиндр присоединен к колонне насосно-компрессорных труб, а верхний плунжер – к колонне штанг.
– изобретения, относящиеся к способам строительства скважины;
Например, патент РФ № 2283417 на изобретение «Способ строительства многозабойной скважины» (приоритет от 1 апреля 2004 г.)
Извлечения из реферата изобретения
Строится верхняя часть основного ствола до продуктивного горизонта и закрепляется обсадными трубами, углубляется нижняя часть основного ствола до глубины расположения первого бокового ствола. Бурится боковой ствол, затем производят исследование плотности жидкости, находящейся в данном стволе. По результатам чего пробуренный боковой ствол на входе герметично заполняют затвердевающим в жидкой среде веществом такой же плотности, что и плотность жидкости в боковом стволе.
Перед дальнейшим бурением дается выдержка, достаточная для отверждения вещества. Затем углубляется нижняя часть основного ствола до места расположения следующего бокового ствола, после бурения которого проводятся аналогичные операции по изоляции бокового ствола, описанные выше. Затвердевающее в жидкой среде вещество надежно изолирует попадание жидкости бурения в боковые стволы, а также предотвращает последующее ее поглощение пластом. Число боковых стволов и их расположение могут изменяться в зависимости от характера и местонахождения пласта или пропластков. После строительства всех боковых стволов углубляется нижняя часть основного ствола до установленной глубины, который остается открытым. Перед вводом скважины в эксплуатацию производят вымывание затвердевающего в жидкой среде вещества, например облагороженной жидкостью или пресной водой.
Благодаря использованию затвердевающего в жидкой среде вещества, герметично устанавливаемого только на входах в боковые стволы, снижаются затраты на заполнение и удаление затвердевающего в жидкой среде вещества, кроме того, продуктивные пласты надежно защищены от попадания в них и поглощения ими жидкости, используемой в процессе бурения скважины, что сохраняет коллекторские свойства продуктивного пласта и добычные возможности скважины.
Приведенные выше примеры имеют общий характер. Проводя еще более четкую детализацию и рассматривая, например, такие технологии, как технологии добычи нефти из нефонтанирующих скважин, можно выделить (в числе прочих) следующие патенты:
Патент РФ № 2190085 на изобретение «Способ освоения нефонтанирующей нефтяной скважины» (патентообладатель: ОАО «Сибнефть-Ноябрьскнефтегазгеофизика»; приоритет от 9 января 2001 г.)
Извлечения из реферата изобретения:
Изобретение обеспечивает возможность перехода от освоения скважины к добыче нефти без остановки притока нефти.
Сущность изобретения: способ включает промывку, перфорацию, силовое, тепловое, химическое воздействия на пласт для вызова притока с помощью оборудования для освоения. Согласно изобретению вначале в скважине устанавливают оборудование для добычи нефти, включая насос для добычи нефти. В нем выполняют отверстие для прохода оборудования для освоения. Совместно с оборудованием для освоения, подготовленным к совместным операциям как освоения, так и добычи нефти, выполняют операции освоения. При этом используют оба вида оборудования. После вызова притока сразу приступают к добыче нефти без остановки притока и без извлечения оборудования для освоения или с частичным его извлечением через превентор и лубрикатор.
Патент РФ № 2178063 на изобретение «Способ освоения нефтяных скважин» (патентообладатель: ОАО «Сибнефть-Ноябрьскнефтегазгеофизика»; приоритет от 20 марта 2000 г.)
Извлечения из реферата изобретения
В насосно-компрессорной трубе (НКТ) осуществляют поступательное перемещение поршня. При этом определяют расчетную величину депрессии на пласт. Устанавливают на НКТ пакер на глубину, обеспечивающую расчетную величину депрессии при понижении уровня гидростатического столба жидкости до уровня пакера. Опускают поршень до уровня пакера и совершают локальное возвратно-поступательное перемещение поршня на одинаковую или различную высоту с равной или разной скоростью до момента стабилизации давления подпоршневой жидкости. Рассчитывают теоретический дебит.
В НКТ устанавливают обратный клапан. Опускают поршень на планируемый уровень установки добычного насоса. Определяют скорость перемещения поршня из условия равной производительности удаления жидкости поршнем и насосом. Выполняют несколько возвратно-поступательных перемещений поршня и измеряют объем откаченной жидкости и средний объем за один ход. Этот объем принимают за фактический для данного насоса с перерасчетом на суточный дебит. Повышается качество очистки фильтра и пласта в процессе освоения с получением большего притока за более короткое время.
Патент РФ № 2209939 на изобретение «Способ добычи продукции из прекратившей фонтанирование скважины» (патентообладатель: И.В. Белей; приоритет от 28 января 2002 г.)
Извлечения из реферата изобретения
Способ может быть использован для добычи нефти из скважин, прекративших фонтанирование из-за падения пластового давления или увеличения обводненности.
Обеспечивает добычу в условиях отсутствия источника газа высокого давления и устойчивый режим работы. Сущность изобретения: по способу в прекратившую фонтанирование скважину подают с поверхности газ. Поднимают по подъемному каналу, образованному пространством установленной в скважине колонны насосно-компрессорных труб или кольцевым пространством между этой колонной и стенками скважины, газожидкостную смесь с различным соотношением ее газовой и жидкостной составляющих. Подают смесь в коллектор сбора продукции.
Прочитали книгу? Предлагаем вам поделится своим впечатлением! Ваш отзыв будет полезен читателям, которые еще только собираются познакомиться с произведением.
Уважаемые читатели, слушатели и просто посетители нашей библиотеки! Просим Вас придерживаться определенных правил при комментировании литературных произведений.
Просьба отказаться от дискриминационных высказываний. Мы защищаем право наших читателей свободно выражать свою точку зрения. Вместе с тем мы не терпим агрессии. На сайте запрещено оставлять комментарий, который содержит унизительные высказывания или призывы к насилию по отношению к отдельным лицам или группам людей на основании их расы, этнического происхождения, вероисповедания, недееспособности, пола, возраста, статуса ветерана, касты или сексуальной ориентации. Просьба отказаться от оскорблений, угроз и запугиваний. Просьба отказаться от нецензурной лексики. Просьба вести себя максимально корректно как по отношению к авторам, так и по отношению к другим читателям и их комментариям.
Надеемся на Ваше понимание и благоразумие. С уважением, администратор My-Books.me.
Оставить комментарий
-
Александра15 январь 09:37
Очень интересная книга! Особенно, если любишь психологию и хочешь понимать себя и других. Обязательно послушаю до конца. Спасибо....
Кригер Борис – Гнев
-
Галина25 май 13:02
Очень уважаю Артема Шейнина, книга замечательная, очень мне близкая по духу.Перечитываю уже второй раз, столько пережитого и не...
Мне повезло вернуться - Артем Шейнин
-
Екатерина11 январь 08:05
Доброе утро. Подскажите пожалуйста как сохранять книги, ставить закладки?...
Подонок - Анастасия Леманн