Пчеловодство. Первые шаги к прибыльному хозяйству - Василий Королев
Книгу Пчеловодство. Первые шаги к прибыльному хозяйству - Василий Королев читаем онлайн бесплатно и без регистрации! Читать онлайн вы можете не только на компьютере, но и на андроид (Android), iPhone и iPad. Наслаждайтесь!
199 0 09:39, 25-05-2019Книга Пчеловодство. Первые шаги к прибыльному хозяйству - Василий Королев читать онлайн бесплатно без регистрации

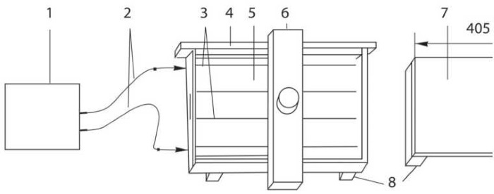
Рис 40. Простой термостат с подогревом (в центре – лампочка на 60–75 Вт) (к стр. 226)

Рис 41. Изолятор маточный
(к стр. 227)

Рис 42. Шпатели для переноса личинок
(к стр. 228)

Рис 43. Прививочная рамка
(к стр. 234)

Рис 44. Шаблон для изготовления маточных мисочек (к стр. 228)

Рис 45. Маточный колпачок
(к стр. 228)

Рис 46. Маточная клеточка (клеточка Титова) (к стр. 228)

Рис 47. Приспособления для мечения маток: а – булавка, б – колпачки, в – клеточка (к стр. 220)

Рис 48. Поилки общие (к стр. 230)

Рис 49. Пыльцеуловитель:
а, б, в – возможная форма отверстий пыльцеотбирающей решетки (к стр. 231)

Рис 50. Электронаващиватель:
1 – трансформатор, 2 – провода с наконечниками, 3 – проволока, 4 – рамка, 5 – вощина, 6 – планка с грузом, 7 – лекало, 8 – бруски (рейки)
(к стр. 233)

Рис 51. Солнечные воскотопки: а – металлическая, б – деревянная (к стр. 235)

Рис 52. Устройства для получения пчелиного яда:
а – комплект приборов для получения яда, б – детали ядоприемной рамки, с – бокс для счистки яда со стекол (к стр. 237, 238)

Рис 53. Пчеловодный фонендоскоп (к стр. 240)

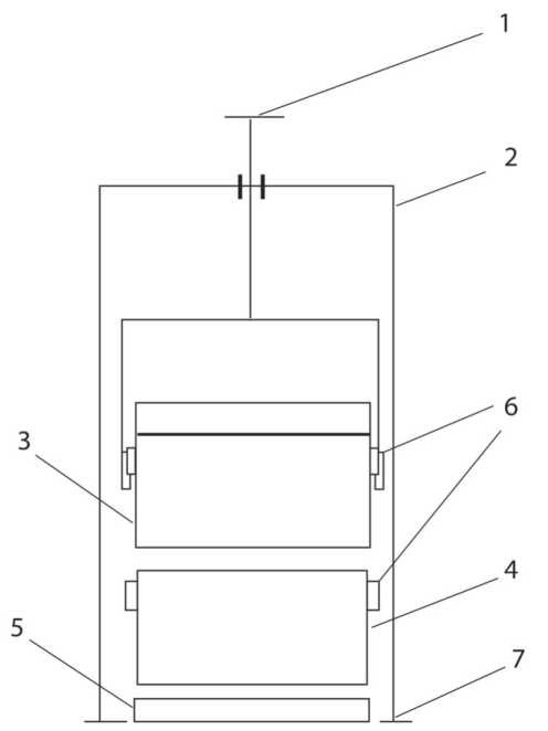
Рис 54. Схема расширения гнезда по Лысову:
1 – подъемный винт, 2 – стойка, 3 – поднятый корпус с пчелами,
4 – подставляемый корпус, 5 – дно улья, 6 – ручки корпуса (для захвата подъемником), 7 – опора подъемника (к стр. 243–248)

Рис 55. Полурамки скреплены с помощью скобочек:
А – полурамка в исходном положении, нижняя полурамка имеет гвоздики (1) вместо плечиков, Б – полурамки в собранном положении, гвоздики удалены, скобочки (2) скрепляют полурамки

Рис 56. Двухматочный улей Полякова, схема:
1– бруски, 2 – дно, 3 – леток и прилетные доски, 4 – 1-й корпус, 5 – 2-й корпус, 6 – 3-й корпус, 7 – подкрышник, 8 – крыша, 9 – рамки (к стр. 257)

Рис 57. Примерно так пчелы должны покрывать рамки при сборке зимнего гнезда (к стр. 269)

Рис 58. Маткоуловитель с верандочкой:
1 – верандочка, 2 – уголок, 3 – усеченная пирамида, 4 – отверстие, 5 – маткоуловитель, 6 – прозрачные окна, 7 – съемные решетки (к стр. 258)

Рис 59. Акация белая

Рис 60. Акация желтая
Прочитали книгу? Предлагаем вам поделится своим впечатлением! Ваш отзыв будет полезен читателям, которые еще только собираются познакомиться с произведением.
Уважаемые читатели, слушатели и просто посетители нашей библиотеки! Просим Вас придерживаться определенных правил при комментировании литературных произведений.
Просьба отказаться от дискриминационных высказываний. Мы защищаем право наших читателей свободно выражать свою точку зрения. Вместе с тем мы не терпим агрессии. На сайте запрещено оставлять комментарий, который содержит унизительные высказывания или призывы к насилию по отношению к отдельным лицам или группам людей на основании их расы, этнического происхождения, вероисповедания, недееспособности, пола, возраста, статуса ветерана, касты или сексуальной ориентации. Просьба отказаться от оскорблений, угроз и запугиваний. Просьба отказаться от нецензурной лексики. Просьба вести себя максимально корректно как по отношению к авторам, так и по отношению к другим читателям и их комментариям.
Надеемся на Ваше понимание и благоразумие. С уважением, администратор My-Books.me.
Оставить комментарий
-
Александра15 январь 09:37
Очень интересная книга! Особенно, если любишь психологию и хочешь понимать себя и других. Обязательно послушаю до конца. Спасибо....
Кригер Борис – Гнев
-
Галина25 май 13:02
Очень уважаю Артема Шейнина, книга замечательная, очень мне близкая по духу.Перечитываю уже второй раз, столько пережитого и не...
Мне повезло вернуться - Артем Шейнин
-
Екатерина11 январь 08:05
Доброе утро. Подскажите пожалуйста как сохранять книги, ставить закладки?...
Подонок - Анастасия Леманн