Лестницы и перила. Проектируем и строим - Галина Серикова
Книгу Лестницы и перила. Проектируем и строим - Галина Серикова читаем онлайн бесплатно и без регистрации! Читать онлайн вы можете не только на компьютере, но и на андроид (Android), iPhone и iPad. Наслаждайтесь!
156 0 19:31, 17-05-2019Книга Лестницы и перила. Проектируем и строим - Галина Серикова читать онлайн бесплатно без регистрации
Используя шаблон, разметьте и выберите пазы в тетиве. Чтобы было удобно работать, положите ее на козлы, на нее поместите подготовленный шаблон, совместив линию первой проступи с линией проступи, проведенной на шаблоне (рис. 21). Чтобы последний не сместился при работе фрезера, временно зафиксируйте его несколькими гвоздями. Выполните фрезой 2 прохода глубиной по 7 мм. Действуя таким образом, проделайте остальные пазы на обеих тетивах. При этом пазы крайних (первой и последней) проступей будут открытыми, поскольку их края и линии отреза тетивы совпадут. Подработайте углы пазов вручную, поскольку фрезер до них не доходит.

Рис. 20. Разметка паза: 1 – шаблон для паза; 2 – брусок; 3 – проступь; 4 – опорная линия; 5 – продленная линия проступи
Перед тем как собрать лестницу, необходимо подготовить проступи и подступенки, которые предстоит выкроить из заготовок. Причем проступь должна быть на 28 мм длиннее ширины лестницы. Для подступенков используйте обрезки размером 75 × 25 мм. При сборке ступеней не забудьте, что подступенки заглублены на 25 мм. Чтобы смонтировать ступени, положите проступь на толстый брусок, вставьте подступенок, посадив его на клей ПВА и добавочно закрепив двумя парами гвоздей, вбив их через проступь под наклоном друг к другу.

Рис. 21. Изготовление пазов на тетиве: 1 – тетива; 2 – козлы; 3 – шаблон; 5 – фрезер; 6 – опорная линия
В пазах обеих тетив просверлите отверстия под шурупы диаметром 12, затем вставьте ступени в пазы одной тетивы (торцы проступей закруглите, чтобы они плотно вошли в пазы), потом наденьте на них вторую. Убедившись, что все детали хорошо пригнаны друг к другу, пронумеруйте ступени и разберите лестницу на части.
Если примерка показала, что погрешностей при изготовлении составляющих лестницы не допущено, можно монтировать ее окончательно. Начните сборку со второй нижней ступени, смазав один торец клеем ПВА и вставив проступь в паз. После того как все проступи будут зафиксированы в тетиве, повторите описанную процедуру со второй тетивой. Чтобы она хорошо села, осадите ее киянкой, нанося удары через прокладку. С помощью угольника проконтролируйте угол между ступенью и тетивой (он должен быть прямым). Если возникнет необходимость, внесите поправки, чуть сместив тетиву. Остается только вкрутить шурупы длиной 50 мм в отверстия, заранее просверленные в пазах, сначала на одной тетиве, потом на другой.
Если были допущены ошибки и ступени входят в пазы недостаточно плотно, необходимо прибегнуть к вынужденным мерам, например расклинить ступени в пазах, усилить крепления шпильками, болтами и т. п.
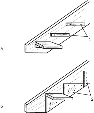
Следует заметить, что представленный способ крепления ступеней к тетивам не единственный. Для этого могут использоваться квадратные или треугольные бруски или прибоины, которые прикручиваются к тетивам с внутренней стороны и на которые устанавливаются ступени (рис. 22). Понятно, что тетивы должны изготавливаться из строганых досок и не иметь пазов.

Рис. 22. Некоторые способы крепления ступеней к тетивам: а – с помощью брусков; б – посредством прибоин; 1 – бруски; 2 – прибоины
С помощью напарника установите лестницу в проем, выставьте тетивы на одном уровне и прибейте их к поперечной опорной балке лестничного проема. Дополнительно зафиксируйте верх тетив кронштейнами. В тетиве, которая примыкает к стене, просверлите отверстия под шурупы длиной 63 мм и прикрепите ее.
Дальнейшие действия по установке лестницы зависят от того, из чего выполнен пол. Если он из бетона, возьмите опорный брусок сечением 100 × 60 мм, вставьте его в сквозной паз в тетивах и просверлите в нем отверстия, чтобы на полу остались насечки. Убрав брусок, перфоратором просверлите в полу отверстия и вставьте в них деревянные пробки, после чего верните балку на место, прикрутите ее шурупами длиной 75 мм в подготовленные отверстия и прибейте тетивы. Вставьте нижнюю фризовую ступень, смазав ее торцы клеем ПВА и дополнительно усилив крепление шурупами.
К деревянному полу тетивы крепятся монтажными кронштейнами.
Лестницу нельзя считать законченной, если у нее отсутствует ограждение. Учитывая характер нашей лестницы, его допустимо сделать самым простым (хотя можно установить и изысканный поручень), использовав для этого 2 бруска сечением 100 × 75 мм, 1 брусок сечением 100 × 50 мм, 3 доски сечением 150 × 37 мм, шурупы диаметром 10 мм и длиной 50 мм. Вверху и внизу марша установите по одной одинаковой стойке, зафиксируйте струбцинами и после проверки вертикальности прикрутите 2 шурупами. В середине марша установите еще одну стойку, закрепив ее тем же способом.
Всевозможные врезки деревянных элементов, в том числе и косоуров, снижают прочность первоначального сечения. Кроме того, при наличии погрешностей, таких как плохо выполненный узел, конструкция может подвергнуться разрушению. Поэтому при альтернативе между запилами и использованием стального крепежа (хомутов, болтов и пр.) предпочтение следует отдать последнему.
Отпилите доски необходимой длины и прикрутите их шурупами к стойкам с внутренней стороны, после чего среднюю опору отпилите заподлицо с поручнем.
Готовое ограждение обработайте наждачной бумагой, устранив мелкие дефекты и шероховатости.
Согласно строительным требованиям край поручня должен возвышаться над валиками ступеней на 840–1000 мм.
Далее рассмотрим устройство лестницы на деревянных косоурах, тем более что при этом работают те же основные принципы, что и при сооружении лестницы на тетивах (формирование лестничного проема, опирание косоуров на нижнюю и верхнюю балки). Разница состоит только в способе крепления ступеней.
Для косоуров подбираются ровные, без сучков доски шириной не менее 250–300 мм при толщине 40–70 мм. Следует признать, что сделать это достаточно трудно. Поэтому вместо того, чтобы использовать массив древесины, можно применить клееные доски, которые благодаря особенностям технологии их изготовления лишены каких-либо недостатков (не имеют сучков, не подвержены трещинообразованию, не скручиваются и пр.), не ограничены в длине и имеют ширину, достаточную для выполнения врезок (запилов).
Проступи могут быть одинарными или состоять из 2 узких шпунтованных досок. Их толщина определяется шириной марша в соотношении с ней приблизительно как 1 : 20. Например, при ширине марша 800 мм для проступей подойдут доски толщиной 40 мм, при ширине 1000 и 1200 мм – 50 и 60 мм соответственно. Допускаются отклонения от представленной пропорции, но исключительно в сторону увеличения толщины проступи либо количества косоуров.
Прочитали книгу? Предлагаем вам поделится своим впечатлением! Ваш отзыв будет полезен читателям, которые еще только собираются познакомиться с произведением.
Уважаемые читатели, слушатели и просто посетители нашей библиотеки! Просим Вас придерживаться определенных правил при комментировании литературных произведений.
Просьба отказаться от дискриминационных высказываний. Мы защищаем право наших читателей свободно выражать свою точку зрения. Вместе с тем мы не терпим агрессии. На сайте запрещено оставлять комментарий, который содержит унизительные высказывания или призывы к насилию по отношению к отдельным лицам или группам людей на основании их расы, этнического происхождения, вероисповедания, недееспособности, пола, возраста, статуса ветерана, касты или сексуальной ориентации. Просьба отказаться от оскорблений, угроз и запугиваний. Просьба отказаться от нецензурной лексики. Просьба вести себя максимально корректно как по отношению к авторам, так и по отношению к другим читателям и их комментариям.
Надеемся на Ваше понимание и благоразумие. С уважением, администратор My-Books.me.
Оставить комментарий
-
Александра15 январь 09:37
Очень интересная книга! Особенно, если любишь психологию и хочешь понимать себя и других. Обязательно послушаю до конца. Спасибо....
Кригер Борис – Гнев
-
Галина25 май 13:02
Очень уважаю Артема Шейнина, книга замечательная, очень мне близкая по духу.Перечитываю уже второй раз, столько пережитого и не...
Мне повезло вернуться - Артем Шейнин
-
Екатерина11 январь 08:05
Доброе утро. Подскажите пожалуйста как сохранять книги, ставить закладки?...
Подонок - Анастасия Леманн