Лестницы и перила. Проектируем и строим - Галина Серикова
Книгу Лестницы и перила. Проектируем и строим - Галина Серикова читаем онлайн бесплатно и без регистрации! Читать онлайн вы можете не только на компьютере, но и на андроид (Android), iPhone и iPad. Наслаждайтесь!
156 0 19:31, 17-05-2019Книга Лестницы и перила. Проектируем и строим - Галина Серикова читать онлайн бесплатно без регистрации
В таком случае балки, на которые должны опираться лестничные площадки, укладываются на уже построенные стены, для чего в них либо оставляются штрабы, либо делаются широкие ниши.
Концы балок, которые будут вкладываться в ниши, обязательно имеют скос, благодаря чему улучшается отдача древесиной влаги. Их нужно предварительно и гидроизолируются рубероидом (его можно заменить обработкой растопленной битумной мастикой), что предохраняет балку от пропитывания ее влагой, идущей от стены. Причем торец балки должен оставаться свободным от гидроизоляции и не соприкасаться со стеной, хотя сам рубероид должен несколько выступать из плоскости стены.

Рис. 16. Устройство монолитного участка при железобетонном перекрытии: 1 – плиты перекрытия; 2 – балки, несущие опалубку; 3 – щит опалубки; 4 – полиэтиленовая пленка; 5 – проволочная скрутка; 6 – монтажка

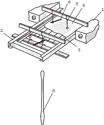
Рис. 17. Устройство лестничного проема у стены при железобетонном перекрытии: 1 – плита перекрытия; 2 – продольная стальная балка; 3 – поперечная стальная балка; 4 – монолитный участок
Под балки могут помещаться деревянные подкладки, которые призваны обеспечить горизонтальность конструкции, предотвратить сминание древесины и увеличить площадь опирания балок на стену и которые целиком обрабатываются антисептиками.

Рис. 18. Оформление проема в лестничной клетке, построенной из штучных стеновых материалов (размеры указаны в миллиметрах): 1 – ниша; 2 – скос балки; 3 – слой гидроизоляции; 4 – балка лестничной площадки; 5 – деревянная подкладка; 6 – рубероид
Площадку под лестницу, как и другие ее элементы, необходимо проектировать. Ее надо рассматривать как большую проступь. А если лестничная площадка имеет Г-образную форму, то ее глубина и ширина должны соответствовать друг другу, иначе марши окажутся неодинаковыми.
После того как балки займут свое место, ниши заполняются кирпичом, укладываемым на растворе, и затираются.
Разобравшись с вопросом организации лестничного проема, можно продолжить проектирование одномаршевой прямой лестницы. Но для начала несколько общих замечаний.
Зная основные величины (ширину проступи, высоту подступенка, количество ступеней и др.), переходите к разметке тетив.
В процессе этой работы (для тетив, как правило, используются доски шириной 225–275 мм (для ориентировки: над и под ступенями должно остаться, как минимум, 50 мм) при толщине 32–50 мм) не забудьте, что перед вами не идентичные детали, а зеркальное отображение.
Для проступей подходит любая древесина, важно только соблюсти параметры: в частности, для лестниц шириной 600 мм проступи должны иметь ширину не менее 32 мм; при увеличении ширины лестницы до 800 мм увеличивается и ширина проступи – до 38 мм.
Пазы для проступей можно выбрать и вручную, но для облегчения и ускорения работы лучше воспользоваться фрезером (если вы не имеете опыта работы с электроинструментом, то попробуйте сначала выполнить паз на куске ненужной доски, чтобы потом не испортить материал).
Учитывая простоту представляемой конструкции, вместо подступенков можно вставить полуподступенки, которые фиксируются к проступи клеем и гвоздями. Понятно, что в этом случае вы избавитесь от необходимости выбирать в тетивах пазы, тем не менее строительные нормы не будут нарушены.
Для простоты изложения разобьем весь процесс по проектированию и сооружению лестницы на несколько этапов.
Помня о том, что все ступени лестницы должны быть одинаковыми, проще всего изготовить их с помощью шаблона, поскольку это позволит свести погрешность к минимуму. Возьмите квадратный кусок 6-миллиметровой фанеры, на сторонах, образующих один из углов, отложите длину проступи и высоту подступенка и соедините найденные точки прямой линией (она называется опорной). Отступив от нее 50 мм, начертите параллельную линию, вдоль которой прибейте рейку. Точно такую же рейку прибейте с другой стороны, после чего отпилите оставшийся кусок фанеры. В результате у вас получится шаблон (рис. 19).
Следующий этап в изготовлении лестницы – разметка тетивы. Для этого, отступив от длинной кромки тетивы 50 мм, начертите опорную линию, после чего положите на тетиву шаблон ступени таким образом, чтобы их опорные линии совпали. Обведите шаблон и доведите линию проступи до противоположной кромки тетивы – так вы получите линию пола (врезки). Остальные ступени разметьте точно так же, т. е. передвигая шаблон и совмещая опорные линии, обводите проступи и подступенки. Дойдя до конца тетивы, линию последнего подступенка доведите с одной стороны до нижней кромки тетивы, с другой – от точки пересечения с опорной линией до верхней кромки – это будет вторая линия врезки, но не торопитесь сразу отпиливать их. Разумнее сначала примерить тетивы по месту, – вполне вероятно, что их концы можно будет врезать в перекрытия.

Рис. 19. Шаблон ступени: 1 – длина проступи; 2 – высота подступенка; 3 – опорная линия
Верхнюю часть тетивы отпилите по этим линиям, а нижнюю – по линии пола и первого подступенка. В нижней части тетивы необходимо предусмотреть паз размером 100 × 50 мм для опорного бруска, к которому будет крепиться лестница внизу. Таким же образом подготовьте и вторую тетиву.
Чтобы выполнение пазов не отняло слишком много времени, а также чтобы исключить какие-либо погрешности, изготовьте шаблон и для пазов (независимо от того, какой материал используется для изготовления тетив (массив или клееная древесина), пазы должны располагаться наискось относительно волокон). Для этого вам понадобятся 12-миллиметровая фанера размером 600 × 350 мм и 2 бруска сечением 50 × 25 мм и длиной 600 мм.
Прибейте бруски к нижней стороне фанеры на расстоянии, равном ширине тетивы. Положите шаблон на пласть тетивы и прочертите на ней опорную линию. Возьмите шаблон ступени, выдерните из него гвозди и удалите рейки, после чего поместите на шаблон для паза, совместив опорные линии. Прочертите линию вдоль стороны проступи и доведите ее до краев шаблона. Снимите оба шаблона с тетивы. Далее возьмите проступь, поставьте ее на шаблон под линию проступи и обведите (рис. 20), после чего, если потребуется, останется только увеличить ширину отверстия на расстояние, отмеренное от фрезы до круглого фланца фрезера, и с помощью лобзика выпилить отверстие под паз.
В зависимости от того, перекрывают тетивы ступени полностью или нет, конструкции называются «с перекрытием ступеней» и «без перекрытия ступеней». Первые характерны для классических лестниц, выполненных из дорогих пород древесины; вторые настолько просты, что их может построить каждый дачник.
Прочитали книгу? Предлагаем вам поделится своим впечатлением! Ваш отзыв будет полезен читателям, которые еще только собираются познакомиться с произведением.
Уважаемые читатели, слушатели и просто посетители нашей библиотеки! Просим Вас придерживаться определенных правил при комментировании литературных произведений.
Просьба отказаться от дискриминационных высказываний. Мы защищаем право наших читателей свободно выражать свою точку зрения. Вместе с тем мы не терпим агрессии. На сайте запрещено оставлять комментарий, который содержит унизительные высказывания или призывы к насилию по отношению к отдельным лицам или группам людей на основании их расы, этнического происхождения, вероисповедания, недееспособности, пола, возраста, статуса ветерана, касты или сексуальной ориентации. Просьба отказаться от оскорблений, угроз и запугиваний. Просьба отказаться от нецензурной лексики. Просьба вести себя максимально корректно как по отношению к авторам, так и по отношению к другим читателям и их комментариям.
Надеемся на Ваше понимание и благоразумие. С уважением, администратор My-Books.me.
Оставить комментарий
-
Александра15 январь 09:37
Очень интересная книга! Особенно, если любишь психологию и хочешь понимать себя и других. Обязательно послушаю до конца. Спасибо....
Кригер Борис – Гнев
-
Галина25 май 13:02
Очень уважаю Артема Шейнина, книга замечательная, очень мне близкая по духу.Перечитываю уже второй раз, столько пережитого и не...
Мне повезло вернуться - Артем Шейнин
-
Екатерина11 январь 08:05
Доброе утро. Подскажите пожалуйста как сохранять книги, ставить закладки?...
Подонок - Анастасия Леманн