» » » Пулеметы России. Шквальный огонь - Семен Федосеев

Пулеметы России. Шквальный огонь - Семен Федосеев

Книгу Пулеметы России. Шквальный огонь - Семен Федосеев читаем онлайн бесплатно и без регистрации! Читать онлайн вы можете не только на компьютере, но и на андроид (Android), iPhone и iPad. Наслаждайтесь!

197 0 21:53, 24-05-2019
Пулеметы России. Шквальный огонь - Семен Федосеев
24 май 2019
Автор: Семен Федосеев Жанр: Книги / Историческая проза Год публикации: 2009 Возрастные ограничения: (18+) Внимание! Аудиокнига может содержать контент только для совершеннолетних.
0 0

Книга Пулеметы России. Шквальный огонь - Семен Федосеев читать онлайн бесплатно без регистрации

Трудно переоценить роль пулеметов в развитии военного дела — оборвав миллионы жизней, они навсегда изменили лицо войны. А ведь даже специалисты далеко не сразу оценили их по достоинству, поначалу рассматривая как специальное оружие с весьма узким кругом боевых задач, — так, на рубеже XIX — ХХ веков пулеметы считались всего лишь одним из видов крепостной артиллерии. Однако уже в ходе Русско-японской войны автоматический огонь доказал свою высочайшую эффективность, а в годы Первой мировой пулеметы стали одним из важнейших средств огневого поражения противника в ближнем бою, устанавливались на танках, боевых самолетах и кораблях. Автоматическое оружие произвело настоящую революцию в военном деле: шквальный пулеметный огонь буквально сметал наступающие войска, став одной из главных причин «позиционного кризиса», радикально изменив не только тактические приемы ведения боя, но и всю военную стратегию. Эта книга — самая полная и подробная на сегодняшний день энциклопедия пулеметного вооружения Русской, Советской и Российской армии с конца XIX и до начала XXI века, как отечественных моделей, так и зарубежных — покупных и трофейных. Автор, ведущий специалист по истории стрелкового оружия, не только приводит подробные описания устройства и работы станковых, ручных, единых, крупнокалиберных, танковых и авиационных пулеметов, но и рассказывает об их боевом применении во всех войнах, которые вела наша страна на протяжении бурного ХХ века.
1 ... 94 95 96 97 98 99 100 101 102 ... 143
Перейти на страницу:

Порядок неполной разборки СГ

Сдвинуть защелку приемника механизма подачи, поднять крышку приемника вертикально и, приподняв основание приемника, отделить извлекатель.

Сдвинуть защелку затыльника назад, утопив ее стопор, повернуть затыльник вправо на четверть оборота и отделить его вместе с возвратно-боевой пружиной. Отделить пружину.

Отделить спусковой механизм от ствольной коробки, сдвигая его назад.

За рукоятку перезаряжания отвести подвижную систему назад и извлечь ее из ствольной коробки. Отделить рукоятку, поворачивая ее вверх.

Отделить ползун от ствольной коробки.

Сдвигая нижнюю планку ствольной коробки назад, снять ее с коробки.

Выбить ось крышки и основания приемника и отделить их от ствольной коробки.

Отделить ствол, для чего нажать на защелку замыкателя и сдвинуть последний влево до отказа.

Отделить газовый регулятор от газовой камеры, предварительно сдвинув его легким ударом.

Сборка производится в обратном порядке.

ТАКТИКО-ТЕХНИЧЕСКИЕ ХАРАКТЕРИСТИКИ СГ

Патрон — 7,62×54R (7,62-мм обр. 1908 г.).

Масса «тела» пулемета — 14,6 кг.

Масса пулемета на станке со щитом — 44,5 кг.

Масса ствола — 4,1 кг.

Длина «тела» пулемета — 1150 мм.

Длина ствола — 720 мм.

Длина пулемета на станке для стрельбы в положении лежа — 1700 мм.

Число нарезов — 4.

Тип нарезов — правосторонние.

Длина хода нарезов — 240 мм.

Начальная скорость пули — 865 (легкая) и 800 (тяжелая) м/с.

Прицельная дальность — 2000 (легкая пуля) и 2300 (тяжелая пуля) м.

Дальность прямого выстрела по грудной фигуре высотой 50 см — 440 м, по бегущей фигуре высотой 150 см — 670 м.

Дальность, до которой сохраняется убойное действие пули, — 3800 м.

Предельная дальность полета пули — 5000 м.

Длина прицельной линии — 855 мм.

Эффективная дальность стрельбы — 1000 м.

Темп стрельбы — 600–700 выстр./мин.

Боевая скорострельность — 200–250 (предельно — 350) выстр./мин.

Питание — металлическая лента на 50 и 250 патронов или холщовая на 250 патронов.

Масса коробки с лентой на 250 патронов — 10,25 кг.

Тип станка — пехотный колесный универсальный, системы Дегтярева — Гаранина.

Масса станка — 29,9 кг.

Высота линии огня — 500 мм (наземная стрельба) и 1460 мм (зенитная стрельба).

Длина станка — 1300 мм, с подогнутой стрелой — 1000 мм.

Расчет — 3 человека.

Станковый пулемет Горюнова модернизированный (СГМ)

При модернизации пулемета СГ в него внесли следующие изменения:

— введен замыкатель ствола с микрометром и шкалой, позволявшей регулировать зазор между пеньком ствола и зеркалом затвора;

— установлен ствол с продольными ребрами радиатора охлаждения — такой ствол ставился на пулемет уже в 1943 г., но оказался тогда сложен в производстве;

— установлен газовый регулятор, переставляемый без помощи ключа;

— крепление рукоятки ствола позволило производить его первоначальный сдвиг при отделении от ствольной коробки (у СГ-43 перегретый казенник ствола иногда заклинивало в ствольной коробке);

— упразднена рамка приемника как отдельная деталь (при обслуживании пулемета в зенитном положении она часто выпадала); вырезы и скосы горловины приемника, фиксировавшие патрон в положении для досылания, перенесены с рамки на ствольную коробку; правда, без отдельной рамки работа системы подачи патрона стала несколько «жестче» — патрон сажался на дно приемника с ударом;

— горловина приемника и окно ствольной коробки для выброса гильз снабжены подпружиненными откидными пылезащитными крышками — это удачное решение будет впоследствии повторено на ПК;

— основание приемника укорочено;

— установлена более надежная трехперая пружина крышки приемника;

— улучшена конструкция спускового механизма, рукоятка заряжания перенесена снизу на правую сторону ствольной коробки;

— повышено удобство пользования целиком боковых поправок прицела, уменьшена цена деления шкалы боковых поправок;

— крепление затыльника штифтом заменено на сухарное;

— изменено крепление пулемета под эксцентрик нового станка.


Пулеметы России. Шквальный огонь

Станковый пулемет СГМ на треножном станке Малиновского — Сидоренко


Пулеметы России. Шквальный огонь

«Тело» станкового пулемета СГМ с патронной лентой

Модернизация не устранила такой недостаток, как поперечные разрывы гильз (только переход в ПК к короткому симметричному узлу запирания с предварительным страгиванием гильзы при отпирании позволил решить эту проблему). Так что ручной извлекатель остался для расчета важным приспособлением.

На СГМ был отработан процесс повышения живучести ствола изготовлением его из высоколегированных сталей и покрытием стенок канала сравнительно толстым слоем хрома. Живучесть ствола повысилась в 3–4 раза.

Модернизированный пулемет был принят с новыми наземными станками. Колесный станок обр. 1946 г. был разработан Г.С. Гараниным и В.Г. Селезневым еще в 1944 г. для пулемета «Максим», но в связи с прекращением производства последнего передан для СГМ. Он вобрал в себя черты станка Соколова и станка Дегтярева — Гаранина. Вертлюг получил вместо шкворневого эксцентриковое крепление, щит не устанавливался — опыт войны лишь подтвердил, что вместо защиты он демаскирует расчет пулемета. Амортизатор люльки повышал устойчивость при стрельбе. Масса станка уменьшилась с 26,6 до 23,4 кг, пулемета со станком — с 40,4 до 36,9 кг, относительная масса станка — с 1,93 до 1,73. Возможность зенитной стрельбы оставалась — для этого станок также опрокидывался вперед, а на конце хобота крепили вертлюг; передней точкой опоры при этом служила люлька станка. Как и с предыдущим станком, такое зенитное положение было малоустойчивым из-за сильного раскачивания станка.


Пулеметы России. Шквальный огонь

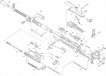
Детали и сборки пулемета СГМ: 1 — пламегаситель, 2 — мушка с основанием, 3 — газовый регулятор, 4 — газовая камера с патрубком, 5 — ручка ствола, 6 — газовая трубка, 7 — ствол, 8 — вкладыш, 9 — ствольная коробка, 10 — пружина, 11 и 16 — крышка и основание приемника, 12 — фиксирующие пальцы подачи, 13 — защелка крышки, 14 — снижатель патрона, 15 — клин, 17 — прицельная рамка с целиком, 18 — пружина рамки, 19 — основание прицела, 20 — кулачок, 21 — шептало, 22 — корпус спускового механизма, 23 — выключатель, 24 — затыльник ствольной коробки, 25 — пружина предохранителя, 26 — предохранитель, 27 — защелка затыльника, 28 — пусковой рычаг, 29 — толкатель выключателя, 30 — направляющий стержень, 31 — предохранительная крышка, 32 — подающие пальцы, 33 — ползун подачи, 34 — возвратно-боевая пружина, 35, З6 и 37 — хомутик, защелка и основание замыкателя, 38 — движок, 39 — затвор, 40 — ударник, 41 — рукоятка перезаряжания, 42 — затворная рама, 43 — выбрасыватель, 44 — извлекатель патрона, 45 — шток с поршнем

1 ... 94 95 96 97 98 99 100 101 102 ... 143
Перейти на страницу:
  1. Жалоба
Отзывы - 0

Прочитали книгу? Предлагаем вам поделится своим впечатлением! Ваш отзыв будет полезен читателям, которые еще только собираются познакомиться с произведением.


Уважаемые читатели, слушатели и просто посетители нашей библиотеки! Просим Вас придерживаться определенных правил при комментировании литературных произведений.

Просьба отказаться от дискриминационных высказываний. Мы защищаем право наших читателей свободно выражать свою точку зрения. Вместе с тем мы не терпим агрессии. На сайте запрещено оставлять комментарий, который содержит унизительные высказывания или призывы к насилию по отношению к отдельным лицам или группам людей на основании их расы, этнического происхождения, вероисповедания, недееспособности, пола, возраста, статуса ветерана, касты или сексуальной ориентации. Просьба отказаться от оскорблений, угроз и запугиваний. Просьба отказаться от нецензурной лексики. Просьба вести себя максимально корректно как по отношению к авторам, так и по отношению к другим читателям и их комментариям.

Надеемся на Ваше понимание и благоразумие. С уважением, администратор My-Books.me.


Новые отзывы

  1. Александра Александра15 январь 09:37 Очень интересная книга! Особенно, если любишь психологию и хочешь понимать себя и других. Обязательно послушаю до конца. Спасибо.... Кригер Борис – Гнев
  2. Галина Галина25 май 13:02 Очень уважаю Артема Шейнина, книга замечательная, очень мне близкая по духу.Перечитываю уже второй раз, столько пережитого и не... Мне повезло вернуться - Артем Шейнин
  3. Екатерина Екатерина11 январь 08:05 Доброе утро. Подскажите пожалуйста как сохранять книги, ставить закладки?... Подонок - Анастасия Леманн
Все комметарии
Новинки бесплатной онлайн библиотеки