Т-62: Убийца «Центурионов» и «Олифантов» - Михаил Барятинский
Книгу Т-62: Убийца «Центурионов» и «Олифантов» - Михаил Барятинский читаем онлайн бесплатно и без регистрации! Читать онлайн вы можете не только на компьютере, но и на андроид (Android), iPhone и iPad. Наслаждайтесь!
319 0 15:49, 26-05-2019Книга Т-62: Убийца «Центурионов» и «Олифантов» - Михаил Барятинский читать онлайн бесплатно без регистрации
Танк Т-62 в Танковом музее Бундесвера в Мунстере.
Средний танк Т-62 образца 1962 года.

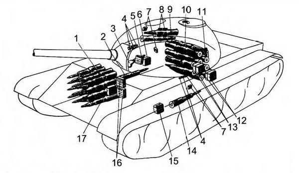
Размещение боекомплекта в танке:
1 — укладка на 16 выстрелов в двух баках-стеллажах; 2 — хомутиковая укладка на один выстрел; 3 — укладка автомата АК; 4 — стеллажи с сумками для ручных гранат Ф-1; 5 — магазин-коробка в установке пулемета; 6 — магазин-коробка для пулемета на правом борту корпуса танка; 7 — сумки с патронами для сигнального пистолета; 8 — две сумки под магазины с патронами для автомата АК; 9 — хомутиковая укладка на два выстрела; 10 — стеллажная укладка на 20 выстрелов; 11 — кобура сигнального пистолета; 12 — магазин-коробки к пулемету на левом борту корпуса танка; 13 — магазин-коробки к пулемету на перегородке стеллажной укладки; 14 — хомутиковая укладка на один выстрел; 15 — магазин-коробка к пулемету на кронштейне баллонов воздухопуска; 16 — магазин-коробки к пулемету на щитке аккумуляторов; 17 — магазин-коробка к пулемету у перегородки аккумуляторов.
Стреляные гильзы автоматически удаляются из боевого отделения с помощью механизма выброса стреляных гильз на всем диапазоне вертикальных и горизонтальных углов наведения пушки.
Механизм выброса состоит из: ограждения; рамки; захвата; гильзы с фиксатором взведения и сброса; механизма взвода; захвата с копиром и тягой; стопорного устройства рамки с зацепом, штоком и пружиной; привода рамки с тягой и рычагами; редуктора рамки с электродвигателем; крышки люка с приводом; копира; редуктора люка с электродвигателем; коробки управления и электромонтажного комплекта.
В исходном положении рамка опущена вниз и стопорится зацепом за неподвижное ограждение. Торсион захвата раскручен, дополнительные пружины расслаблены. Защелка под действием пружины коромысла прижата к зубу левого кронштейна захвата. Створка под действием пружины занимает вертикальное положение. Люк выброса закрыт.
При откате ствола во время выстрела вместе с казенником перемещается тяга, шарнирно связанная с копиром, который взводит зацепы захвата, закручивая пластинчатый торсион и растягивая дополнительные пружины. Копир воздействует на кулак захвата до тех пор, пока захват с зацепами не займет положение в плоскости, перпендикулярной к оси канала ствола. При накате ствола (промежуточное положение) штифт копира встречает на пути створку и увлекает ее за собой. Поворачиваясь на своей оси, створка воздействует на зацеп и отклоняет его в направлении перемещения копира, освобождая при этом рамку от стопорения за неподвижное ограждение.
Танки Т-62 в учебной атаке.
Средний танк Т-62 образца 1972 г. в экспозиции военной техники в Казани.
Мотострелки спешиваются с танков Т-62 во время учебной атаки.

Средний танк Т-62 образца 1972 г. (продольный разрез, схема):
1 — бустер гидропневмопривода главного фрикциона; 2 — аккумуляторные батареи; 3 — распределительный щиток отделения управления; 4 — ИК-прожектор ночного прицела; 5 — подъемный механизм пушки; 6 — зенитный пулемет; 7 — прибор наблюдения ТКН-3; 8 — средний топливный бак; 9 — эжектор; 10 — двигатель; 11 — радиатор системы смазки двигателя; 12 — радиатор системы охлаждения двигателя; 13 — вентилятор; 14 — планетарный механизм поворота; 15 — коробка передач; 16 — торсионные валы; 17 — вентилятор боевого отделения; 18 — форсуночный подогреватель; 19 — сиденье наводчика; 20 — сиденье механика-водителя; 21 — рычаг переключения передач; 22 — левый рычаг управления ПМП; 23 — педаль выключения главного фрикциона; 24 — передний топливный бак.
Экстрактируемая гильза, попав на приемный лоток, с силой ударяется фланцем в скосы зацепов захвата и, преодолевая сопротивление пружин, раздвигает их в стороны. При этом резиновые буфера ограничивают развод зацепов в стороны и тем самым обеспечивают надежное удержание гильзы после прохождения ее за зацепы захвата. При ударе фланцем о заднюю стенку ограждения гильза включает кнопку запуска электрической схемы. Происходит открывание люка в башне и подъем рамки на линию выброса. Рамка поднимается до тех пор, пока кулачок не коснется плоскости копира и не включит переключатель ограничения подъема в положение рамки против люка в башне. С включением переключателя подается напряжение на электромагнит сброса, который пальцем освобождает захват с зацепами от удержания его защелкой. Силой взведенного торсиона и пружин гильза выбрасывается через люк наружу. После выброса гильзы рамка опускается в исходное положение и люк в башне закрывается, а все узлы механизма выброса занимают исходное положение.
Боекомплект пулемета ПКТ (или СГМТ) состоит из 2500 патронов (10 лент в магазин-коробках). Боекомплект пулемета ДШКМ (при наличии последнего) включает в себя 300 патронов (6 лент в магазин-коробках).
Колонна танков на полигоне. Головной — Т-62, остальные — Т-55. Московский военный округ, январь 1973 года.
Танк Т-62 преодолевает препятствие по колейному мосту. Московский военный округ, январь 1973 года.

Механизм выброса стреляных гильз:
1 — неподвижное ограждение; 2 — рамка; 3 — захват; 4 — задняя стенка ограждения; 5 — фиксатор взведения и сброса захвата; 6 — пружина; 7 — шток; 8 — зацеп; 9 — копир; 10 — штифт; 11, 12 — тяги; 13, 14 — рычаги; 15 — редуктор; 16 — электродвигатель; 17 — казенник пушки; 18 — вал; 19 — лоток; 20 — пружина; 21 — крышка люка; 22 — привод крышки люка; 23 — копир; 24 — редуктор; 25 — электродвигатель; а — бонка.
Прочитали книгу? Предлагаем вам поделится своим впечатлением! Ваш отзыв будет полезен читателям, которые еще только собираются познакомиться с произведением.
Уважаемые читатели, слушатели и просто посетители нашей библиотеки! Просим Вас придерживаться определенных правил при комментировании литературных произведений.
Просьба отказаться от дискриминационных высказываний. Мы защищаем право наших читателей свободно выражать свою точку зрения. Вместе с тем мы не терпим агрессии. На сайте запрещено оставлять комментарий, который содержит унизительные высказывания или призывы к насилию по отношению к отдельным лицам или группам людей на основании их расы, этнического происхождения, вероисповедания, недееспособности, пола, возраста, статуса ветерана, касты или сексуальной ориентации. Просьба отказаться от оскорблений, угроз и запугиваний. Просьба отказаться от нецензурной лексики. Просьба вести себя максимально корректно как по отношению к авторам, так и по отношению к другим читателям и их комментариям.
Надеемся на Ваше понимание и благоразумие. С уважением, администратор My-Books.me.
Оставить комментарий
-
Александра15 январь 09:37
Очень интересная книга! Особенно, если любишь психологию и хочешь понимать себя и других. Обязательно послушаю до конца. Спасибо....
Кригер Борис – Гнев
-
Галина25 май 13:02
Очень уважаю Артема Шейнина, книга замечательная, очень мне близкая по духу.Перечитываю уже второй раз, столько пережитого и не...
Мне повезло вернуться - Артем Шейнин
-
Екатерина11 январь 08:05
Доброе утро. Подскажите пожалуйста как сохранять книги, ставить закладки?...
Подонок - Анастасия Леманн