» » » Боевые корабли японского флота 10.1918-8.1945 гг. Подводные лодки - Юрий Апальков

Боевые корабли японского флота 10.1918-8.1945 гг. Подводные лодки - Юрий Апальков

Книгу Боевые корабли японского флота 10.1918-8.1945 гг. Подводные лодки - Юрий Апальков читаем онлайн бесплатно и без регистрации! Читать онлайн вы можете не только на компьютере, но и на андроид (Android), iPhone и iPad. Наслаждайтесь!

222 0 17:14, 26-05-2019
Боевые корабли японского флота 10.1918-8.1945 гг. Подводные лодки - Юрий Апальков
26 май 2019
Автор: Юрий Апальков Жанр: Книги / Историческая проза Год публикации: 1999 Возрастные ограничения: (18+) Внимание! Аудиокнига может содержать контент только для совершеннолетних.
0 0

Книга Боевые корабли японского флота 10.1918-8.1945 гг. Подводные лодки - Юрий Апальков читать онлайн бесплатно без регистрации

Предлагаемый вниманию читателей справочник содержит сведения о тактико-технических элементах и карьере подводных лодок, входивших в состав действующих соединений, находившихся в постройке либо внесенных в кораблестроительные программы Японского Императорского флота в период с октября 1918 г. по август 1945 г. Схематично показан продольный разрез подводных лодок, их внешний вид в двух проекциях в различные периоды службы. Справочник предназначен для историков, слушателей и курсантов военно-морских заведений, а также для всех тех, кто интересуется историей войны на море.
1 ... 4 5 6 7 8 9 10 11 12 ... 135
Перейти на страницу:

После окончания Первой Мировой войны в МГШ начались дебаты о необходимости сократить расходы на подводные силы. Дело в том, что в начале 1919 г. основным вероятным противником считалась континентальная Россия, фактически не имевшая флота на Дальнем Востоке. В случае войны с США, как ошибочно полагали, морские коммуникации противника не будут иметь значение из-за скоротечности кампании (в противном случае война вообще не должна была начаться).

В 1920 г., на основе боевого опыта Первой Мировой войны, были пересмотрены Инструкции морского боя. В соответствии с их новой редакцией, лодкам, в порядке значимости, надлежало: осуществлять разведку в интересах командующего Соединенным флотом; перед началом боя между линейными силами атаковать противника в любое время суток (в отличие, например, от эсминцев); преследовать его после боя или прикрывать свои тяжелые корабли; недопускать обстрела побережья, занятого своими частями; вести борьбу с отдельными кораблями и соединениями противника; вести борьбу с торговым судоходством. В соответствии с задачами появилась новая классификация. Лодки теперь подразделялись на: малые — водоизмещением в надводном положении до 300 т и предназначавшиеся для обороны побережья; заградители — до 1300 т для активных минных постановок у побережья противника; средние — от 300 до 1000 т — для борьбы с торговым судоходством противника на небольшом удалении от пунктов базирования; большие (океанские) — от 1000 до 1500 т — для совместных операций с линейными силами и борьбы с боевыми кораблями; патрульные (или крейсерские) — от 1500 до 2000 т — для ведения разведки при помощи бортового гидросамолета и борьбы с судоходством на всей акваторрии Тихого океана. Из-за отсутствия бортовых самолетов с требуемыми эллементами, японцы построили несколько патрульных лодок без авиационного вооружения, которые с конца 1932 г. классифицировались как малые патрульные.

К концу 20-х годов Япония располагала достаточным числом лодок, что позволяло на практике проверить взгляды МГШ на боевое использование кораблей этого класса. Организационно ПЛ были сведены в эскадры, состоявшие из дивизионов трехкорабельного состава. Дивизионы, как правило, состояли из однотипных лодок. Командиры эскадр находились на одной из лодок и подчинялись командующему Шестым флотом. Как показал опыт многочисленных учений, такая организация оказалась не совсем удачной. Так, на больших (крейсерских) ПЛ отсутствовали необходимые средства связи и были ограничены возможности поиска противника. В результате штабы их эскадр перенесли на легкие крейсера, подобно соединениям эсминцев. Крейсер со штабом выходил в назначенный район, где бортовой гидросамолет вел разведку и наводил на противника корабли эскадры, развернутые в строй фронта. ПЛ среднего класса патрулировали самостоятельно, и им не требовалось жесткое руководство со стороны штаба эскадры. Он располагался на тендерах, служивших одновременно ремонтной базой и складом для пополнения запасов. Только патрульные эскадры сохранили в качестве флагманов лодки, так как они имели на вооружении гидросамолет. В мирное время штабы Шестого флота и эскадр являлись чисто административными органами. Дивизионы лодок распределялись между Военно-морскими округами (ВМО) и сводились в эскадры на время проведения учений. В военное время командующий Шестым флотом принимал под свое начало эскадры и действовал в соответствии с приказами руководства Соединенным (впоследствии Объединенным) флотом или МГШ.

Схема боевой организации подводных лодок Императорского флота по состоянию на 1.05.1934 г.


Боевые корабли японского флота 10.1918-8.1945 гг. Подводные лодки

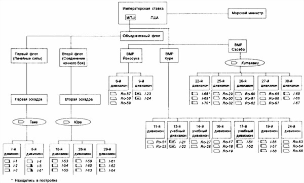
Схема боевой организации подводных лодок Императорского флота по состоянию на 1.12.1941 г.


Боевые корабли японского флота 10.1918-8.1945 гг. Подводные лодки

В апреле 1930 г., после завершения Лондонской конференции, основными потенциальными противниками объявили Великобританию и США Одновременно был разработан оперативный план использования Императорского флота в ходе войны на Тихом океане. В нем лодкам отводилась весьма существенная роль. В частности, две эскадры (общей численностью 18 кораблей) передавались в распоряжение Третьего флота, призванного проводить операции по захвату Филиппинских о-вов. К третьему флоту так же были приписаны четыре заградителя, ранее числившиеся в составе Первого флота. Остальные корабли, подчинявшиеся командующему Шестым флотом, должны были оперировать в центральной и южных частях Тихого океана, базироваться на подмандатные о-ва и оказывать поддержку Объединенному флоту.

В начале 1936 г. была принята новая Имперская политика, предусматривающаяполный отказ от каких-либо ограничений в области морских вооружений. Главным направлением экспансии была выбрана юго-западная часть Тихого океана и тихоокеанское побережье Азии. В числе вероятных противников в порядке значимости фигурировали: США, СССР, Китай и Великобритания. Для достижения поставленных целей Япония должна была иметь 70 лодок со сроком службы не больше 13 лет суммарным водоизмещением 123800 т. Из них: 27 — большие патрульные (Дзинсен) стандартным водоизмешением 2000 т: семь — флагманы соединений (Кикансен) стандартным водоизмещением 2800 т и 36 — большие (Кайдасен) стандартным водоизмещением 1400 т. Эти корабли должны были войти в так называемую Первую линию, состоявшую из Первого и Второго флотов. В распоряжение командующего Первым флотом передавались четыре эскадры. Каждая из эскадр имела своим флагманом лодку стандартным водоизмещением 2800 т (Кикансен) и состояла из трех дивизионов трехкорабельного состава. Дивизионы формировались из больших (океанских) лодок стандартным водоизмещением 1400 т (Кайдасен). Эскадры Первого флота предназначались для совместных действий с линейными силами. Во Второй флот входили две эскадры, так же возглавляемые лодками стандартным водоизмещением 2800 т. Здесь дивизионы, формировавшие эскадры, состояли из больших патрульных лодок стандартным водоизмещением 2000 т (всего 18 единиц). Эти корабли были призваны в любое время суток атаковать линейные силы противника и вести разведку в интересах командования Объединенным флотом. Одна эскадра формировала Четвертый флот, призваннный оперировать в южной части Тихого океана и у западного побережья США Она состояла из девяти больших патрульных лодок стандартным водоизмещением 2000 т, сведенных в три дивизиона. Флагман эскадры принадлежал к кораблям стандартным водоизмещением 2800 т.

17.04.1936 г. МГШ представил Императору и Совету обороны оценку текущего состояния флота и тех мер, которые необходимо предпринятьдля достижения желаемой морской мощи. Согласно этому документу по состоянию на 1936 г. Япония могла включить в состав Первого флота только 14 больших (океанских) ПЛ, срок службы которых к 1941 г. не превышал 13 лет. Второй флот насчитывал четыре большие патрульные лодки, из которых две (I-7 и I-8) находились в постройке. Таким образом, при самом благоприятном стечении обстоятельств, до 1941 г. надлежало построить 52 корабля. Чисто теоретически, эти планы казались выполнимыми, принимая во внимание то, что на постройку девяти ПЛ стандартным водоизмещением порядка 2000 т, японская промышленность затрачивала около трех лет. На практике же, приоритет в развитиии флота отдавался тяжелым артиллерийским кораблям, и о заказе такого большого числа лодок не могло быть и речи.

1 ... 4 5 6 7 8 9 10 11 12 ... 135
Перейти на страницу:
  1. Жалоба
Отзывы - 0

Прочитали книгу? Предлагаем вам поделится своим впечатлением! Ваш отзыв будет полезен читателям, которые еще только собираются познакомиться с произведением.


Уважаемые читатели, слушатели и просто посетители нашей библиотеки! Просим Вас придерживаться определенных правил при комментировании литературных произведений.

Просьба отказаться от дискриминационных высказываний. Мы защищаем право наших читателей свободно выражать свою точку зрения. Вместе с тем мы не терпим агрессии. На сайте запрещено оставлять комментарий, который содержит унизительные высказывания или призывы к насилию по отношению к отдельным лицам или группам людей на основании их расы, этнического происхождения, вероисповедания, недееспособности, пола, возраста, статуса ветерана, касты или сексуальной ориентации. Просьба отказаться от оскорблений, угроз и запугиваний. Просьба отказаться от нецензурной лексики. Просьба вести себя максимально корректно как по отношению к авторам, так и по отношению к другим читателям и их комментариям.

Надеемся на Ваше понимание и благоразумие. С уважением, администратор My-Books.me.


Новые отзывы

  1. Александра Александра15 январь 09:37 Очень интересная книга! Особенно, если любишь психологию и хочешь понимать себя и других. Обязательно послушаю до конца. Спасибо.... Кригер Борис – Гнев
  2. Галина Галина25 май 13:02 Очень уважаю Артема Шейнина, книга замечательная, очень мне близкая по духу.Перечитываю уже второй раз, столько пережитого и не... Мне повезло вернуться - Артем Шейнин
  3. Екатерина Екатерина11 январь 08:05 Доброе утро. Подскажите пожалуйста как сохранять книги, ставить закладки?... Подонок - Анастасия Леманн
Все комметарии
Новинки бесплатной онлайн библиотеки