Танк Т-80 - В. Борзенко
Книгу Танк Т-80 - В. Борзенко читаем онлайн бесплатно и без регистрации! Читать онлайн вы можете не только на компьютере, но и на андроид (Android), iPhone и iPad. Наслаждайтесь!
169 0 15:47, 26-05-2019Книга Танк Т-80 - В. Борзенко читать онлайн бесплатно без регистрации
Масса одного контейнера с двумя ЭДС — 5,2 кг. Масса всего комплекса на танке равнялась 1200–1500 кг.
Позднее — в середине 1980-х гг. — стал применяться серийный комплекс универсальной встроенной защиты «Контакт-5», который уже обеспечивал защиту не только от кумулятивных, но и от бронебойных подкалиберных боеприпасов. При ударе снаряда в контейнер комплекса его крышка из толстой высокопрочной стали за счёт взрыва ВВ рассыпается, превращаясь в поток высокоскоростных осколков. Воздействие такого потока и движущихся пластин снижает бронепробиваемость кумулятивной струи и снарядов.

Демонстрация возможностей танка Т-80У на испытательной трассе Сибирского полигона. Июнь 1999 г.
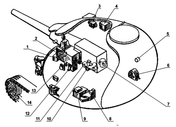
Размещение в танке Т-80 аппаратуры системы управления огнём САУ 1А33:
1 — блок разрешения выстрела; 2 — прицел-дальномер; 3 — датчик линейных ускорений; 4 — баллистический вычислитель; 5 — косинусный потенциометр; 6 — датчик ветра; 7 — датчик крена; 8 — электроблок прицела-дальномера; 9 — блок управления; 10 — питающая установка; 11 — блок тахометров; 12 — ограничитель углов; 13 — прибор приведения орудия; 14 — датчик скорости.
Контейнер «Контакт-5» состоит из элементов 4С22 массой 1,37 кг и габаритами 252x132x13 мм; в него укладывалось по несколько ЭДЗ сразу. Общая масса элементов, устанавливающихся на танк, — около 500 кг, ещё около 1000 кг составляют конструкции секций и блоков размещения.
Этим комплексом начали оснащать танки Т-80У, Т-80УД, Т-72Б (начиная с 1988 г.), а затем и Т-90.
Вооружение танка Т-80У состоит из 125-мм гладкоствольной пушки 2А46М-1, 7,62-мм спаренного пулемёта ПКТ, зенитного 12,7-мм пулемёта НСВТ «Утёс», КУВ 9К119 «Рефлекс», системы постановки дымовых завес «Туча» с гранатами 902Б.
Боекомплект пушки 2А46М-1 включает 46 выстрелов из бронебойно-кумулятивных снарядов 3БК14М и 3БК27, бронебойных подкалиберных с сердечником из сплава вольфрама 3БМ42, бронебойных с сердечником из обеднённого урана 3БМ32, осколочно-фугасных 2ОФ19 и 3ОФ26. Все выстрелы — раздельно-гильзового заряжания.
Основная часть боекомплекта размещается на вращающемся транспортёре механизма заряжания (29 выстрелов); остальные — в механизированных укладках в корпусе и башне (7 снарядов и зарядов в отделении управления, 10 других — в боевом отделении).
Снаряд 3БМ42 принят на вооружение в 1986 г. Предназначен для стрельбы по танкам, самоходным артиллерийским установкам и другим бронированным целям, бронеколпакам и заслонкам амбразур долговременных огневых сооружений (ДОС) из танковой пушки 2А46М-1.

Схема современной танковой системы управления огнём.
Схема установки динамической защиты на башне танка Т-80У (слева) и схема башни танка Т-80У (справа).
Боеприпас повышенного могущества. Имеет очень сложную конструкцию, включающую в себя сплошной баллистический и бронебойный колпачок, бронебойный демпфер и два сердечника из высокопрочного вольфрамового сплава большого удлинения. Сердечники закреплены в рубашке из легкоплавкого сплава, которая при попадании в цель плавится, позволяя сердечникам войти в броню, не расходуя энергию на отделение от корпуса.
Снаряд имеет 5-лопастный стабилизатор; в хвостовой части установлен трассер.
Элементы выстрела — боеприпас с дополнительным зарядом 3БМ44 и основной метательный заряд 4Ж63 — упакованы в герметичные оцинкованные металлические пеналы цилиндрической формы.
125-мм осколочно-фугасный снаряд 3ОФ26 с выстрелом 3ВОФ36 предназначен для поражения живой силы, полевых укреплений, инженерных сооружений, огневых позиций артиллерии, миномётов, ракетных установок, пехотных огневых средств противника. Масса выстрела — 33,0 кг, масса снаряда с дополнительным зарядом — 23 кг, начальная скорость — 850 м/с.
Комплекс управляемого вооружения 9К119 «Рефлекс» предназначается для стрельбы из 125-мм гладкоствольной танковой пушки. Огонь может вестись с места и с ходу при движении танка.
Комплекс разработан в КБ Приборостроения в Туле и принят на вооружение в 1985 г.; позднее был модернизирован и получил обозначение «Рефлекс-М».
За время, прошедшие с 1976 г. — с выпуска комплекса 9К112 «Кобра», конструкторы смогли существенно снизить как массу, так и габариты новой ракеты 9М119, доведя их до обводов 125-мм артиллерийского снаряда. Кроме того, соединили в одно целое два раздельных отсека, как это было в «Кобре», оснастили ракету тандемной кумулятивной боевой частью.

Комплект навесной динамической защиты «Контакт» на лобовом листе и башне танка.
С 1992 г. танки стали вооружаться более совершенной ракетой 9М119М «Инвар», а с середины 1990-х гг. — 9М119М1 «Инвар-М».
В выстреле 3УБК14 (для 9М119М — 3УБК20) объединены ракета и метательное устройство, с помощью которого непосредственно происходит выброс из ствола пушки. Двигатель ракеты — твёрдотопливный с двумя косонаправленными соплами. Боевая часть состоит из двух зарядов — переднего, который обеспечивает преодоление динамической защиты бронетехники, и основного — непосредственно поражающего цель. Разработан также вариант ракеты с фугасной боевой частью.
Ракета выполнена по схеме «утка»; четыре пятиугольных крыла в задней части загнуты по часовой стрелке. Схема наведения — полуавтоматическая с ориентированием по лучу лазера; направленный на цель луч поступает и на приёмник, установленный на ракете.
Дальность поражения цели — до 5000 м с вероятностью 0,8. Масса выстрела — 24,3 кг, масса ракеты — 17,2 кг, длина — 680 мм, скорость полёта — 350 м/с, время полёта на максимальную дальность — 17 с.
В состав комплекса, кроме самой ракеты, входят информационный блок 9С516 и блок автоматики 9С517.
В НАТО комплекс 9К119М называют АТ-11 Sniper-C.
На танке Т-80У поставлена усовершенствованная система управления огнём СУО 1А45 «Иртыш». В неё входят: цифровой баллистический вычислитель 1В528, комплект датчиков условий стрельбы, двухплоскостной стабилизатор вооружения 2Э42-4, прицелы наводчика и командира.

Стабилизированный дневной-ночной прибор наблюдения командира ТКН-4С «Агат» прицельно-наблюдательного комплекса ПНК-4С.

Прицел-дальномер прибор наведения 1А45Т «Иртыш» с аппаратурой комплекса управляемого вооружения «Рефлекс».
Прочитали книгу? Предлагаем вам поделится своим впечатлением! Ваш отзыв будет полезен читателям, которые еще только собираются познакомиться с произведением.
Уважаемые читатели, слушатели и просто посетители нашей библиотеки! Просим Вас придерживаться определенных правил при комментировании литературных произведений.
Просьба отказаться от дискриминационных высказываний. Мы защищаем право наших читателей свободно выражать свою точку зрения. Вместе с тем мы не терпим агрессии. На сайте запрещено оставлять комментарий, который содержит унизительные высказывания или призывы к насилию по отношению к отдельным лицам или группам людей на основании их расы, этнического происхождения, вероисповедания, недееспособности, пола, возраста, статуса ветерана, касты или сексуальной ориентации. Просьба отказаться от оскорблений, угроз и запугиваний. Просьба отказаться от нецензурной лексики. Просьба вести себя максимально корректно как по отношению к авторам, так и по отношению к другим читателям и их комментариям.
Надеемся на Ваше понимание и благоразумие. С уважением, администратор My-Books.me.
Оставить комментарий
-
Александра15 январь 09:37
Очень интересная книга! Особенно, если любишь психологию и хочешь понимать себя и других. Обязательно послушаю до конца. Спасибо....
Кригер Борис – Гнев
-
Галина25 май 13:02
Очень уважаю Артема Шейнина, книга замечательная, очень мне близкая по духу.Перечитываю уже второй раз, столько пережитого и не...
Мне повезло вернуться - Артем Шейнин
-
Екатерина11 январь 08:05
Доброе утро. Подскажите пожалуйста как сохранять книги, ставить закладки?...
Подонок - Анастасия Леманн