» » » Хранители гробницы - Морис Котрелл

Хранители гробницы - Морис Котрелл

Книгу Хранители гробницы - Морис Котрелл читаем онлайн бесплатно и без регистрации! Читать онлайн вы можете не только на компьютере, но и на андроид (Android), iPhone и iPad. Наслаждайтесь!

244 0 02:18, 27-05-2019
Хранители гробницы - Морис Котрелл
27 май 2019
Автор: Морис Котрелл Жанр: Книги / Историческая проза Год публикации: 2004 Возрастные ограничения: (18+) Внимание! Аудиокнига может содержать контент только для совершеннолетних.
0 0

Книга Хранители гробницы - Морис Котрелл читать онлайн бесплатно без регистрации

Гробницу первого китайского императора Цинь Ши Хуанди «охраняют» 7000 терракотовых всадников, выполненных в натуральную величину. Каждый воин имеет индивидуальные черты, и, по предположениям, это портреты реальных лиц, убитых при захоронении властелина Поднебесной империи, чтобы их духи оберегали его и в загробном мире. Но, как считает всемирно известный исследователь древних цивилизаций Морис Котрелл, Цинь Ши Хуанди был не просто правителем Китая, а одним из тех богоподобных Наставников, которые оставили человечеству сакральные знания о чудодейственных свойствах Солнца и высших принципах духовности. А в позах терракотовых воинов, выражениях их лиц, оружии, одеяниях, расположении фигур в пространстве зашифровано его послание к человечеству, предостерегающее от грядущих катаклизмов. Морис Котрелл разгадал тайный код и нашел поразительные аналогии между посланиями египетского фараона Тутанхамона, мексиканского правителя Пакаля, перуанского Виракоче и китайского императора Ши Хуанди. Сенсационность этого открытия дает нам еще один шанс воспользоваться знаниями, оставленными Великими наставниками.
1 ... 37 38 39 40 41 42 43 44 45 ... 61
Перейти на страницу:

7. Как Солнце вызывает раковые заболевания

В 1967 году биолог Джанет Харкер проводила эксперименты на тараканах в попытке выяснить, какая часть мозга отвечает за пробуждение тараканов среди ночи и погружение в сон около шести утра. Используя электронный микроскоп, она сумела выделить области в мозге тараканов, следящие за течением времени. Когда она удаляла эту часть мозга, тараканы теряли чувство времени и оставались в состоянии бодрствования, пока не умирали. Чтобы убедиться в том, что эта часть мозга в действительности представляет собой биологические «часы», Харкер поменяла их у австралийского и британского тараканов. Каждый адаптировался к прежнему ритму своего сородича: британский таракан засыпал в полночь и пробуждался в шесть утра, доказывая, что часы австралийского таракана продолжают «тикать» и после пересадки.

Впоследствии эксперименты Росса Эйди установили, что Солнце воздействует на производство «гормона времени» мелатонина. Следовательно, солнечная радиация синхронизирует и периодически калибрует биологические часы. Таким образом, существует два типа часов: астрономические и биологические. Соответствие между ними гарантирует эндокринную гармонию, несоответствие вызывает хаос.

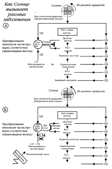
Джанет Харкер продолжила свои эксперименты с тараканами. Она имплантировала тараканам вторые часы, оставляя их собственные, сначала австралийскому, затем британскому. У обоих тараканов развился рак, и они умерли. Это позволяет предположить, что раковые заболевания связаны с десинхронизацией тела с внутренними биологическими часами. Рассмотрим случай с человеком, чей внутренний ритм находится в соответствии с радиационным кодом 123, который превалировал в момент зачатия. Его биологические часы будут регулироваться этой последовательностью. На рис. А13а представлена теоретическая связь между солнечными часами (биоритмический сигнал) и биологической системой (часы).

Радиационный код 123 генерирует магнитную модуляцию 123, которая протекает через шишковидную железу. Она и другие железы вырабатывает гормоны, вызывающие деление клеток у здорового тела. Клетки делятся и растут. Система развивается, и тело растет. Метаболическая система адаптируется к периодичности солнечных часов, клетки делятся и умножаются с периодичностью кода 123. «Здоровая» система посылает стоп-сигнал обратно клеткам тела. Клетки перестают делиться; организм здоров.

На рис. А13b показана нездоровая ситуация. Здесь тот же самый правильный радиационный код снова течет через шишковидную железу. Клетки снова делятся и умножаются. Но теперь на скорость метаболизма влияет внешний канцероген, такой, как табак или кофе. Канцероген заставляет скорость метаболизма переключиться на другой ритм, скажем, 134. Внутренние часы теперь идут вразнобой: одни отсчитывают 123 по Солнцу, другие 134 по интенсивности обмена веществ. Стоп-сигнал для остановки деления клеток теперь не посылается. Клетки делятся и умножаются, делятся и умножаются снова и снова. Это раковое заболевание. Поместите в одно тело два часовых механизма, и, как и у тараканов в экспериментах Харкер, результатом будет хаос.

Введение искусственных гормонов напрямую воздействует на тело и эндокринную систему. Вот почему эстроген в противозачаточных таблетках иногда приводит к образованию раковых опухолей. Все, что вмешивается в анатомию эндокринной системы или нарушает работу солнечных часов, вызывает биоритмическую десинхронизацию и раковые заболевания. Высоковольтная линия над головой вызывает рак, потому что «блокирует» солнечные часы. При этом метаболизм сбивается с нормального ритма, что приводит к раковой активности в клетках.

Это объясняет, почему химиотерапия, современный метод лечения рака химическими препаратами, эффективна лишь в 25 процентах случаев, т. е. в одном случае из четырех. Если же проводить лечение с учетом биоритмов, составив расписание в соответствии с благоприятным солнечным кодом 123, 124, 134 или 234, то можно добиться и 100-процентного успеха.

8. Как ЭЛТ вызывают выкидыши

Электронно-лучевые трубки, которые используются в компьютерных системах и телевизионных приемниках, являются источником электромагнитного излучения и рентгеновских лучей (ионизирующей радиации). Эти виды излучения напрямую воздействуют на шишковидную железу, влияя на количество вырабатываемых гормонов. Результатом может стать недостаток прогестерона в ходе беременности и как следствие спонтанный выкидыш.

9. Причина возникновения солнечных пятен

В 1961 году инженеры Бабкок и Лейтон предложили модель образования солнечных пятен, которая предполагает, что образование солнечных пятен связано со скручиванием солнечного полярного магнитного поля более медленно вращающимся экваториальным магнитным полем. Полярное поле начинает медленно скручиваться, все туже заворачивая себя вокруг солнечной поверхности, подобно часовой спирали магнетизма (см. рис. A14a-d). Под солнечной поверхностью силовые линии магнитного поля спутываются турбулентной плазмой (рис. A14e-f) и прорываются сквозь солнечную поверхность (рис. A14g), формируя пару солнечных пятен (pис. A14b-i).


Хранители гробницы

Рис. A13. (а) Модель деления и роста клеток в здоровом организме. Биоритмический сигнал и внутренние биологические часы имеют одну и ту же «скорость хода», что обеспечивает клеточную гармонию. (b) Модель деления и роста клеток в организме, функционирующем со сбоями. Внутренние биологические часы сбиты при введении в систему канцерогена. Скорость хода биологических часов теперь изменилась, например, на 134. Механизм преобразования/проверки соответствия чувствует отсутствие синхронности. Стоп-сигнал в механизм деления клеток больше не посылается. Клетки делятся и умножаются без всякого контроля. Как и в экспериментах Харкер, сочетание двух «часов» в одном теле приводит к раковому заболеванию.


Полярное магнитное поле Солнца (черные участки на рисунке внизу) совершает полный оборот вокруг солнечной оси каждые 37 дней (каждые 40,5 дня при наблюдении с Земли). Экваториальный регион, обладающий собственным магнитным полем, вращается быстрее и делает один полный оборот за 26 дней при наблюдении с поверхности Солнца, или за 28 дней при наблюдении с Земли. Разные скорости вращения этих двух магнитных полей известны в науке как «дифференциальное вращение магнитных полей Солнца». Именно это магнитное взаимодействие заставляет заряженные частицы отрываться от солнечной поверхности и бомбардировать Землю.


Хранители гробницы

Рис. A14. Известно, что вариации солнечного излучения совпадают с изменениями активности солнечных пятен. В 1961 году английские инженеры Бабкок и Лейтон предположили, что солнечные пятна возникают в результате скручивания двух отдельных магнитных полей Солнца. Таким образом, солнечное излучение и плодовитость живых существ на Земле коррелируются с активностью солнечных пятен.

1 ... 37 38 39 40 41 42 43 44 45 ... 61
Перейти на страницу:
  1. Жалоба
Отзывы - 0

Прочитали книгу? Предлагаем вам поделится своим впечатлением! Ваш отзыв будет полезен читателям, которые еще только собираются познакомиться с произведением.


Уважаемые читатели, слушатели и просто посетители нашей библиотеки! Просим Вас придерживаться определенных правил при комментировании литературных произведений.

Просьба отказаться от дискриминационных высказываний. Мы защищаем право наших читателей свободно выражать свою точку зрения. Вместе с тем мы не терпим агрессии. На сайте запрещено оставлять комментарий, который содержит унизительные высказывания или призывы к насилию по отношению к отдельным лицам или группам людей на основании их расы, этнического происхождения, вероисповедания, недееспособности, пола, возраста, статуса ветерана, касты или сексуальной ориентации. Просьба отказаться от оскорблений, угроз и запугиваний. Просьба отказаться от нецензурной лексики. Просьба вести себя максимально корректно как по отношению к авторам, так и по отношению к другим читателям и их комментариям.

Надеемся на Ваше понимание и благоразумие. С уважением, администратор My-Books.me.


Новые отзывы

  1. Александра Александра15 январь 09:37 Очень интересная книга! Особенно, если любишь психологию и хочешь понимать себя и других. Обязательно послушаю до конца. Спасибо.... Кригер Борис – Гнев
  2. Галина Галина25 май 13:02 Очень уважаю Артема Шейнина, книга замечательная, очень мне близкая по духу.Перечитываю уже второй раз, столько пережитого и не... Мне повезло вернуться - Артем Шейнин
  3. Екатерина Екатерина11 январь 08:05 Доброе утро. Подскажите пожалуйста как сохранять книги, ставить закладки?... Подонок - Анастасия Леманн
Все комметарии
Новинки бесплатной онлайн библиотеки