Секретные инструкции ЦРУ и КГБ по сбору фактов, конспирации и дезинформации - Виктор Попенко
Книгу Секретные инструкции ЦРУ и КГБ по сбору фактов, конспирации и дезинформации - Виктор Попенко читаем онлайн бесплатно и без регистрации! Читать онлайн вы можете не только на компьютере, но и на андроид (Android), iPhone и iPad. Наслаждайтесь!
246 0 04:20, 14-05-2019Книга Секретные инструкции ЦРУ и КГБ по сбору фактов, конспирации и дезинформации - Виктор Попенко читать онлайн бесплатно без регистрации

Рис. 6.
Капсюль угольного микрофона: а — внешний вид; б — схема устройства; 1 — мембрана; 2 — подвижный электрод; 3 — слюдяная шайба; 4 — перфорированная металлическая крышка; 5 — корпус; 6 — пластмассовое кольцо; 7 — шайба; 8 — угольный порошок; 9 — неподвижный электрод

Рис. 7.
Разрез и схема включения в электрическую цепь угольного микрофона: 1 и 2 — подвижный и неподвижный электроды, подключаемые к электрической цепи; 3 — угольный порошок; 4 — корпус; 5 — защитный кожух; 6 — диафрагма; 7 — угольный микрофон; 8 — электрическая батарея питания микрофона; 9 — трансформатор; 10 — выводы трансформатора

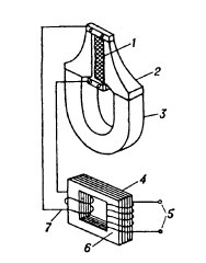
Рис. 8. Пьезоэлектрический микрофон (разрез): 1– защитный кожух; 2 — диафрагма; 3 — пьезоэлемент; 4 — корпус; 5 — кабель; 6 — выводы
Кроме того, они довольно чувствительны, но должны подсоединяться к усилителю. Такими своеобразными микрофонами могут служить древесно-стружечные плиты — крышки столов, шкафов и книжных полок с жестко-приклеенными к ним пьезокристаллами. Тонкие провода протягиваются под обоями или в плинтусах и обычно покидают комнату вместе с телефонной или радиотрансляционной линией. Явным недостатком является необходимость предварительного проникновения в намечаемое помещение при довольно долгом — вплоть до нескольких часов — пребывании там.
Существенным недостатком микрофонов этого типа является то, что они относительно нестойки к перепадам температур и влажности, что не позволяет их длительное использование вне закрытых помещений.
Третий тип микрофона — электродинамический (рис. 9–11), который представляется самым эффективным и устойчивым. Это сильный и чувствительный микрофон, но обычно он нуждается в дополнительном усилении. В этом микрофоне для преобразования звуковых колебаний в электрические используют явление возникновения электродвижущей силы индукции в металлическом проводнике, совершающем под действием звуковых волн вынужденные колебания в поле постоянного магнита.
Микрофоны, как уже было отмечено, преобразуют звук в электрический сигнал и в совокупности со специальными усилителями и фильтрами могут использоваться в качестве подслушивающих устройств. Для этого создается скрытая проводная линия связи, обнаружить которую можно лишь физическим поиском либо (что сложнее) путем контрольных измерений сигналов во всех проводах, имеющихся в помещении.
Стационарные микрофоны маскируются в самых разных местах контролируемого пространства и соединяются тончайшими проводниками с создаваемым неподалеку постом подслушивания.

Рис. 9. Катушечный электродинамический микрофон (разрез): 1 — акустическое сопротивление; 2 — корпус; 3 — трансформатор; 4 — выводы; 5 — кабель; 6 — магнит; 7 — акустический канал; 8 — гофрированный воротник; 9 — защитный кожух; 10 — диафрагма; 11 — звуковая катушка

Рис. 10. Электродинамический микрофон катушечного типа: 1 — диафрагма; 2 — звуковая катушка; 3 — гофрированный воротник; 4 — магнитопровод; 5 — полюсный наконечник; 6 — магнит

Рис. 11. Схема включения ленточного электродинамического микрофона в электрическую цепь: 1 — гофрированная лента; 2 — полюсные наконечники; 3– магнит; 4 — трансформатор; 5 — выводы трансформатора; 6 — вторичная обмотка трансформатора; 7 — первичная обмотка трансформатора

Рис. 12. «Зонтик» — микрофон
Микрофоны, подсоединяемые к усилителю, могут иметь самую разнообразную конструкцию, соответствующую «акустическим щелям», обнаруженным в предназначенном к прослушиванию помещении. Динамический тяжелый капсюль, например, можно опустить в вентиляционную трубу с крыши, а плоский кристаллический микрофон подвести под дверь снизу. При отсутствии подобных лазеек обращают внимание на электрические розетки, которые в смежных комнатах иногда бывают спаренными. Снятие защитной коробки с одной из них, открывает доступ к другой, а через нее — и в близлежащее помещение.
Иногда имеет смысл просверлить в стене небольшого диаметра (1,5–3 мм) отверстие в не приметном для чужого глаза (где-нибудь в углу либо на уровне плинтуса) месте или воспользоваться замочной скважиной. Для таких вариантов существует специфичный тонкотрубочный, или «игольчатый», микрофон, звук к которому подводится через довольно тонкую трубку, длиной 30 сантиметров. Данный микрофон несложно сделать самому, учитывая, что при твердой трубке обычно получается лучший звук, тогда как гибкую удобно заводить за всякие углы и пропускать через замочные скважины.
Наконец, существует ряд модификаций узконаправленных микрофонов, воспринимающих и усиливающих звуки, идущие только из одного направления и ослабляющие при этом все остальные звуки. Такие микрофоны имеют вид длинной трубки, батареи трубок или параболической тарелки. Такой микрофон может также быть выполнен и в маскированном виде.
На рисунке 12 — параболический микрофон, который выполнен в виде зонтика от солнца. Такой «зонтик», небрежно брошенный на морской пляжный песок, а на самом деле направленный на подслушиваемых (допустим, заплывших в лодке на расстояние до сотни метров от берега), позволяет четко слышать каждое слово.
Направленный микрофон — зеркало с параболическим отражателем и с обычным микрофоном в фокусе позволяет прослушивать разговор с расстояния более 100 м (рис. 12). Эффективны также плоские направленные микрофоны, встраиваемые в стенки кейсов или оформленные в виде жилета.
Прочитали книгу? Предлагаем вам поделится своим впечатлением! Ваш отзыв будет полезен читателям, которые еще только собираются познакомиться с произведением.
Уважаемые читатели, слушатели и просто посетители нашей библиотеки! Просим Вас придерживаться определенных правил при комментировании литературных произведений.
Просьба отказаться от дискриминационных высказываний. Мы защищаем право наших читателей свободно выражать свою точку зрения. Вместе с тем мы не терпим агрессии. На сайте запрещено оставлять комментарий, который содержит унизительные высказывания или призывы к насилию по отношению к отдельным лицам или группам людей на основании их расы, этнического происхождения, вероисповедания, недееспособности, пола, возраста, статуса ветерана, касты или сексуальной ориентации. Просьба отказаться от оскорблений, угроз и запугиваний. Просьба отказаться от нецензурной лексики. Просьба вести себя максимально корректно как по отношению к авторам, так и по отношению к другим читателям и их комментариям.
Надеемся на Ваше понимание и благоразумие. С уважением, администратор My-Books.me.
Оставить комментарий
-
Александра15 январь 09:37
Очень интересная книга! Особенно, если любишь психологию и хочешь понимать себя и других. Обязательно послушаю до конца. Спасибо....
Кригер Борис – Гнев
-
Галина25 май 13:02
Очень уважаю Артема Шейнина, книга замечательная, очень мне близкая по духу.Перечитываю уже второй раз, столько пережитого и не...
Мне повезло вернуться - Артем Шейнин
-
Екатерина11 январь 08:05
Доброе утро. Подскажите пожалуйста как сохранять книги, ставить закладки?...
Подонок - Анастасия Леманн