От Хиросимы до Фукусимы - Владимир Сливяк
Книгу От Хиросимы до Фукусимы - Владимир Сливяк читаем онлайн бесплатно и без регистрации! Читать онлайн вы можете не только на компьютере, но и на андроид (Android), iPhone и iPad. Наслаждайтесь!
148 0 11:21, 14-05-2019Книга От Хиросимы до Фукусимы - Владимир Сливяк читать онлайн бесплатно без регистрации
Приведенные здесь три примера из области современного атомного строительства хорошо иллюстрируют те тенденции, которые сегодня господствуют в России. Помимо этих случаев относительно недавно происходили во многом похожие процессы «обсуждения» новых реакторов на Ростовской и Ленинградской АЭС, а также в Томской области, где «слушался» проект Северской АЭС на территории Сибирского химического комбината. Однако увидеть что-либо принципиально новое в этих случаях мне не удалось. Проекты имеют весьма схожие недостатки, являются попросту недоработанными и неготовыми к осуществлению, а критики традиционно подвергаются более или менее активному давлению со стороны атомной промышленности.
Типы реакторов в России и остальном мире
Поколение 1 – реакторы разработаны в 1950-е и 1960-е годы и представляют из себя измененные (укрупненные) реакторы военного назначения для подводных лодок или производства плутония.
Поколение 2 – подавляющее большинство реакторов, находящихся в промышленной эксплуатации по всему миру.
Поколение 3 – реакторы вводятся в эксплуатацию в некоторых странах, преимущественно в Японии (по состоянию до аварии на АЭС «Фукусима-Дайчи»), еще в нескольких государствах, включая Россию, в стадии строительства.
Поколение 4 – находятся в стадии разработки, их планируется использовать только через 20–30 лет.
Первые реакторы советского производства ВВЭР 440–230 относятся к поколению 1. В этих энергоблоках вода используется для охлаждения, конструкция аналогична западному реактору типа PWR (наиболее распространенный тип в мире). В конструкции ВВЭР 440–230 содержатся серьезные проектные недостатки, вследствие чего страны, входящие в Евросоюз, а также страны-члены «большой восьмерки» считают, что такие энергоблоки не соответствуют современным стандартам безопасности.
Реакторы этого типа, функционирующие в Центральной Европе, в большинстве своем выведены или вскоре будут выведены из эксплуатации, хотя в России срок вывода откладывается. Отсутствие дополнительной системы предупреждения аварий атомных реакторов и системы аварийного охлаждения активной зоны реактора вызывают особое беспокойство[36].
Еще один пример реактора первого поколения, до сих пор находящегося в эксплуатации в Великобритании, являет Magnox – графитовый реактор с воздушным охлаждением. В некоторых реакторах этого типа металлические элементы состарились, подверглись коррозии и охрупчиванию. Авария на Magnox может привести к полной потере теплоносителя в первом контуре реактора и выходу большого количества радиации в окружающую среду. По этой причине ряд таких реакторов был остановлен еще до истечения 40-летнего срока эксплуатации, а в 2010 году этот срок истек у всех Magnox, и скоро они будут демонтированы.
Данные реакторы не оборудованы дополнительной системой, позволяющей защитить активную зону реактора от внешнего воздействия и предотвратить выход радиации. Существует большая вероятность крупных утечек радиации из реакторов даже после того, как их начали выводить из эксплуатации.
Наиболее распространенными являются реакторы с водой под давлением (PWR), которых в мире насчитывается свыше двухсот. Первоначально конструкция реакторов PWR была разработана для военных подводных лодок. Вода в первом контуре имеет более высокую температуру и уровень давления, чем в реакторах других типов. Эти факторы могут ускорять коррозию различных деталей; в частности, на таких реакторах часто заменяют парогенераторы. Данный тип реакторов работает на низкообогащенном уране.
Также в настоящее время накоплен большой объем информации об образовании трещин в стальной крышке корпуса реактора. Проведенные в разных странах исследования выявили схожие проблемы в реакторах во Франции, Швеции, Швейцарии и США. Наиболее серьезный случай был выявлен на АЭС «Дэвис Бесс» в штате Огайо, США. В этом случае процесс образования трещин беспрепятственно продолжался на протяжении десяти лет. Несмотря на регулярные проверки, его не могли обнаружить в течение длительного времени, а когда обнаружили, трещина уходила в глубину 160-миллиметрового слоя стали на 155 мм. В случае, если бы коррозия разъела сталь полностью, последствия могли быть самыми плачевными. Из всех типов реакторов PWR имеет наибольшее число лет эксплуатации в рабочем режиме.
Схожей конструкцией с PWR обладает российский реактор ВВЭР. В настоящее время работает свыше 50 таких реакторов, в том числе в Восточной Европе, России. Старейший, ВВЭР 440–230, был упомянут выше при описании поколения I.
Второе поколение ВВЭР (тип 440–213) было представлено как обладающее более эффективной аварийной системой охлаждения активной зоны реактора. Однако и у них есть существенные недостатки, в том числе не решена проблема защиты активной зоны от внешних воздействий.
Третья модификация ВВЭР (тип 1000-320) была существенно изменена, у нее более высокая мощность (до 1000 Мвт). Несмотря на это, ВВЭР-1000 не стали настолько же безопасными, как современные PWR. В Германии, задолго до аварии на АЭС «Фукусима-Дайчи», ВВЭР всех поколений были закрыты, а строительство новых остановлено. Причинами этого послужили как экономические факторы, так и проблемы безопасности.
Наиболее печально известным реактором в мире является РБМК, относящийся к поколению 2. Это графитовый ядерный реактор с кипящей водой. Также РБМК называют канальным реактором. Данный тип реактора эксплуатировался на Чернобыльской АЭС (Украина), которая стала местом наиболее страшной ядерной катастрофы в истории человечества. Данный реактор имеет большое количество конструктивных недостатков, и не все из них специалисты смогли устранить после Чернобыльской катастрофы.
По сравнению с другими типами реакторов в активной зоне РБМК содержится большее количество циркония (приблизительно на 50 % больше, чем в обычных реакторах с кипящей водой в качестве теплоносителя) и графита (около 1700 т). Горение графита может серьезно обострить аварийную ситуацию, так как при высоких температурах графит вступает в реакцию с водой, вырабатывая взрывоопасный водород.
К конструктивным недостаткам РБМК можно отнести:
– положительный коэффициент реактивности и эффект обезвоживания активной зоны;
– недостаточное быстродействие аварийной защиты в условиях допустимого снижения реактивности;

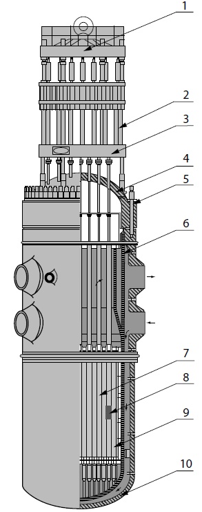
Реактор ВВЭР-1000 верхний блок, 2 – привод системы управления и защиты, 3 – теплоизоляция реактора, 4 – крышка реактора, 5 – шпилька, 6 – уплотнение, 7 – активная зона, 8 – регулирующие стержни, g – ТВЭЛы, 10– корпус
– недостаточное число автоматических технических средств, способных привести реакторную установку в безопасное состояние при нарушениях требований эксплуатационного регламента;
Прочитали книгу? Предлагаем вам поделится своим впечатлением! Ваш отзыв будет полезен читателям, которые еще только собираются познакомиться с произведением.
Уважаемые читатели, слушатели и просто посетители нашей библиотеки! Просим Вас придерживаться определенных правил при комментировании литературных произведений.
Просьба отказаться от дискриминационных высказываний. Мы защищаем право наших читателей свободно выражать свою точку зрения. Вместе с тем мы не терпим агрессии. На сайте запрещено оставлять комментарий, который содержит унизительные высказывания или призывы к насилию по отношению к отдельным лицам или группам людей на основании их расы, этнического происхождения, вероисповедания, недееспособности, пола, возраста, статуса ветерана, касты или сексуальной ориентации. Просьба отказаться от оскорблений, угроз и запугиваний. Просьба отказаться от нецензурной лексики. Просьба вести себя максимально корректно как по отношению к авторам, так и по отношению к другим читателям и их комментариям.
Надеемся на Ваше понимание и благоразумие. С уважением, администратор My-Books.me.
Оставить комментарий
-
Александра15 январь 09:37
Очень интересная книга! Особенно, если любишь психологию и хочешь понимать себя и других. Обязательно послушаю до конца. Спасибо....
Кригер Борис – Гнев
-
Галина25 май 13:02
Очень уважаю Артема Шейнина, книга замечательная, очень мне близкая по духу.Перечитываю уже второй раз, столько пережитого и не...
Мне повезло вернуться - Артем Шейнин
-
Екатерина11 январь 08:05
Доброе утро. Подскажите пожалуйста как сохранять книги, ставить закладки?...
Подонок - Анастасия Леманн