Всеобщая история архитектуры и строительной техники. Учебник. В 3 частях. Часть 1. История архитектуры и строительной техники Древнего и античного мира - Татьяна Забалуева
Книгу Всеобщая история архитектуры и строительной техники. Учебник. В 3 частях. Часть 1. История архитектуры и строительной техники Древнего и античного мира - Татьяна Забалуева читаем онлайн бесплатно и без регистрации! Читать онлайн вы можете не только на компьютере, но и на андроид (Android), iPhone и iPad. Наслаждайтесь!
442 0 00:46, 27-05-2019Книга Всеобщая история архитектуры и строительной техники. Учебник. В 3 частях. Часть 1. История архитектуры и строительной техники Древнего и античного мира - Татьяна Забалуева читать онлайн бесплатно без регистрации

Рис. 8.11. Храм Посейдона (ок. 450 г. до н. э.). Посейдония (Пестум)
Большой интерес представляют приемы обработки каменных элементов. Известно, что барабаны колонн, например в Парфеноне, притесаны с такой точностью, что между ними не входит даже лезвие тончайшего ножа. При исследовании колонн Парфенона – образца совершенства строительной техники своего времени – было установлено, что плоскости барабанов колонн выравнивались посредством вращения на слое песка, о чем свидетельствуют соответствующие следы на их поверхностях. Колонна греческого храма составлялась из нескольких барабанов. Причем начала каннелюр наносились только на верхнем и нижнем барабанах до их установки на место. Только затем каннелировался весь ствол колонны.
В стоечно-балочной системе греческих зданий практически все элементы работали на вертикальные нагрузки. Никаких боковых усилий элементы не испытывали, за исключением тех случаев, когда подвижки могли быть вызваны землетрясениями. Для обеспечения взаимной связи элементов в сооружении греки использовали металлические скобы. Еще в Микенах строители пользовались этим приемом. Они применяли бронзовые скобы. Греки применяли те же скобы или пироны (штыри), скрепляя ими многие элементы конструкции, причем для большей связи металла с камнем дополнительно заливали гнезда свинцом (рис. 8.10). Землетрясения все-таки являлись основной причиной разрушения древних памятников Греции. Усилия, направленные на обеспечение прочности и устойчивости сооружений, оказались недостаточными. Антаблемент (см. п. 8.5), имеющий большую массу и поднятый высоко над землей, при боковых усилиях от землетрясения создавал колоссальный эксцентриситет всей конструкции портика. Поэтому даже сравнительно небольшие по современной шкале Рихтера боковые усилия при землетрясении становились непреодолимыми. Это подтверждают развалины Селинунта и храма в Олимпии, где колонны лежат, опрокинутые набок. А вот храм Посейдона в Посейдонии (Пестум), разрушающийся в основном от времени, сохранился почти целиком (рис. 8.11).
Мы привыкли видеть памятники античной Греции в первозданной красоте великолепного мрамора. Однако многие храмы строились из других пород камня. В этом случае греки покрывали их штукатуркой. Несмотря на то что Пестум был построен из прекрасного травертина, он был покрыт штукатурным слоем, так же как и храмы в Акраганте, выложенные из грубых известняков. Сегодня трудно представить все великолепие этой архитектуры не в благородном белом цвете, но греки считали по-другому. Они достаточно ярко окрашивали свои храмы в самые разные цвета (вкл., рис. 110). Были распространены раскрашенные штукатурные поверхности.

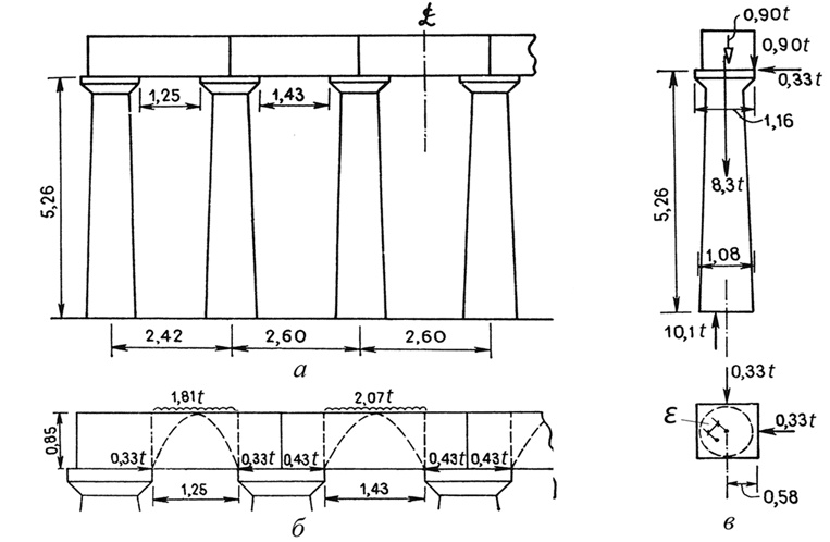
Рис. 8.12. Храм Афайи на о. Эгина. Исследование работы стоечно-балочной системы по Хеймену: a – основные размеры в м; б – предположительные усилия в архитраве (в старых мерах тс); в – усилия в угловой колонне (тс). Эксцентриситет ε, по Хеймену, равен 0,16 м

Рис. 8.13. Пропилеи Акрополя (437–432 гг. до н. э., архитектор Мнесикл) (Афины, Греция): а – линии главных напряжений в балке; б – восточный портик (трещины в архитравной балке, пересекающие линии главных напряжений)
Как уже отмечалось, древнее каменное строительство в целом характеризовалось большой прочностью. Прежде всего, балки, укладываемые через пролеты приблизительно в 1,5 м, обладали большим запасом прочности (многократно превосходящим необходимый) для шарнирно опертых балок. Поскольку балка имеет значительный вес, смещения на опорах предотвращаются силой трения. В данном случае балка работает уже как плоская арка в пролете между опорами. Эту особенность работы балок в греческом храме Афайи на о. Эгина рассмотрели Хеймен и Флетчер (вкл., рис. 111). Храм был построен из мягкого известняка желтого цвета, покрыт штукатуркой и окрашен. Архитрав имел сечение 850 × 850 мм. Величина основного пролета между колоннами (интерколумния) в свету составляет 1,43 м, между крайними – 1,25 м (рис. 8.12). Если принять плотность известняка равной 2000 кг/м³, то величина изгибающего момента ql²/8 составит 3,6 кНм. Такой момент обусловит растягивающее напряжение в известняке, равное 0,0354 МПа. Эта величина не превышает 1/30 его прочности на растяжение, что обусловливает сохранение прочностных свойств балок даже при появлении трещин от землетрясений или температурных деформаций. Принято считать, что греческие ордера явились прототипами стоечно-балочных систем. Это подтверждается визуально: на колонны-стойки укладываются горизонтальные блоки архитрава – балки. В современной строительной механике под балкой понимают изгибаемый поперечной силой плоский элемент (рис. 8.13, а). В балке, опирающейся на две опоры, можно обозначить две линии главных напряжений: сжатие (пунктирная линия) и растяжение (сплошная линия). Линия сжатия напоминает очертание арки, растяжение – очертание провисшей нити. Равнодействующие напряжений сжатия и растяжения, умноженные на плечо между ними, создают внутренний момент сопротивления балки внешнему изгибающему моменту. На фотографиях античных ордерных систем (рис. 8.13, б) в архитравных балках видны поперечные трещины, говорящие о том, что напряжения растяжения в них отсутствуют. Таким образом, остаются только напряжения сжатия, но конструкция стоит, т. е. архитрав работает по арочной схеме. Однако в этом случае в конструкции должен возникнуть распор, опрокидывающий крайние колонны. В книге Г. Дж. Коуэна[55] приводятся результаты исследования Хеймена на примере храма Афайи на о. Эгина. Они показывают, что при соотношении толщины и высоты колонны, высоты и длины архитрава между колоннами, указанных на рис. 8.12, в, момент, удерживающий колонну за счет собственного веса и нагрузки от архитрава в вертикальном положении, значительно (приблизительно в 5 раз) превышает момент от опрокидывающей силы. Таким образом, конструкция остается устойчивой. Из этого следует, что современное понятие стоечно-балочной системы не совсем соответствует работе ордерных систем древности.
Прочитали книгу? Предлагаем вам поделится своим впечатлением! Ваш отзыв будет полезен читателям, которые еще только собираются познакомиться с произведением.
Уважаемые читатели, слушатели и просто посетители нашей библиотеки! Просим Вас придерживаться определенных правил при комментировании литературных произведений.
Просьба отказаться от дискриминационных высказываний. Мы защищаем право наших читателей свободно выражать свою точку зрения. Вместе с тем мы не терпим агрессии. На сайте запрещено оставлять комментарий, который содержит унизительные высказывания или призывы к насилию по отношению к отдельным лицам или группам людей на основании их расы, этнического происхождения, вероисповедания, недееспособности, пола, возраста, статуса ветерана, касты или сексуальной ориентации. Просьба отказаться от оскорблений, угроз и запугиваний. Просьба отказаться от нецензурной лексики. Просьба вести себя максимально корректно как по отношению к авторам, так и по отношению к другим читателям и их комментариям.
Надеемся на Ваше понимание и благоразумие. С уважением, администратор My-Books.me.
Оставить комментарий
-
Александра15 январь 09:37
Очень интересная книга! Особенно, если любишь психологию и хочешь понимать себя и других. Обязательно послушаю до конца. Спасибо....
Кригер Борис – Гнев
-
Галина25 май 13:02
Очень уважаю Артема Шейнина, книга замечательная, очень мне близкая по духу.Перечитываю уже второй раз, столько пережитого и не...
Мне повезло вернуться - Артем Шейнин
-
Екатерина11 январь 08:05
Доброе утро. Подскажите пожалуйста как сохранять книги, ставить закладки?...
Подонок - Анастасия Леманн