Крейсер «Очаков» - Рафаил Мельников
Книгу Крейсер «Очаков» - Рафаил Мельников читаем онлайн бесплатно и без регистрации! Читать онлайн вы можете не только на компьютере, но и на андроид (Android), iPhone и iPad. Наслаждайтесь!
317 0 17:21, 26-05-2019Книга Крейсер «Очаков» - Рафаил Мельников читать онлайн бесплатно без регистрации
В январе 1902 г. определился и состав насалки. За неимением установленных нормативов каждый строитель составлял ее самостоятельно. В Севастопольском казенном адмиралтействе, еще ни разу не спускавшем крупные корабли, решили использовать состав, примененный при спуске „Ростислава” в Николаеве: сала говяжьего 57 %, сала слойкового 16 %, масла конопляного 13 % и мыла зеленого 14 %. Общий расход такой насалки при норме 3,52 фунта на 1 кв. фут составил около 470 пудов (7,7 т).
К июлю основные детали спускового устройства были готовы.
Выполненные строителем расчеты спуска были одобрены, и параллельно с завершением корпусных работ начался монтаж спускового устройства.
Напряжение обострялось ожидавшимся „высочайшим присутствием”. Начальство удвоило энергию и неизменно выражало неудовольствие недостаточными, по его мнению, темпами работ. О продвижении их капитан над портом приказал докладывать ему ежедневно. Указания о всемерном ускорении работ поступали и от главного корабельного инженера.
И снова начались хлопоты „по представительству”: показное благоустройство территории, сооружение царского павильона, заказ пригласительных билетов, устройство гирлянд из зелени и цветов, собиравшихся чуть ли не из всех садовых заведений города (для украшения павильона „высочайших особ” были взяты напрокат живые тропические растения и цветы в горшках). Неоднократно уточнялся и церемониал спуска. Окончательную его редакцию просмотрел и откорректировал сам главный командир Черноморского флота вице-адмирал С. П. Тыртов. Он лично распорядился установить на крейсере три флагштока, чтобы можно было одновременно с андреевским и адмиралтейским флагами поднять при спуске и императорский штандарт. Для доставки высоких гостей в Корабельную бухту с Графской пристани отбирались лучшие портовые катера и шлюпки с кораблей.
Торжества начались утром 21 сентября 1902 г. салютом флота, приветствовавшего появление из тоннеля царского поезда. Вслед за традиционным молебном наступила очередь строителя. В парадном мундире офицера корпуса корабельных инженеров, сознавая высокую ответственность момента, Н. И. Янковский, как опытный дирижер1 большого оркестра, уверенно руководил всеми операциями по спуску крейсера — от пересадки его со строительных кильблоков на спусковые полозья до решающей минуты выбивания упорных стрел, задерживающих салазки с кораблем на дорожках. А за ней — всегда волнующий, неуловимый глазом миг начала движения, вот оно нарастает — корабль неудержимо стремится в зовущую его родную стихию!
Глубоко врезалась в воду еще не успевшая всплыть корма „Очакова”, взметнулся пенный гребень воды, и вот, уже поднявшись на ровный киль, задерживаемый сопротивлением воды корабль начинает замедлять свой бег. Загрохотали цепи отдаваемых якорей, и в кружеве пены, под грохот артиллерийского салюта, крейсер остановился. Спуск был завершен благополучно [37].
Опередив Петербургский порт чуть ли не на год („Олег” был спущен только 14 августа 1903 г.), севастопольское начальство, обгоняя готовность спущенного ранее (в мае 1902 г.) „Кагула”, рассчитывало ввести „Очаков” в строй первым.

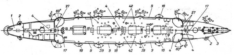
Общее расположение крейсера „Олег", Продольный разрез, вид сверху и план верхней палубы.
1 — салон командира; 2 — 47-мм орудие; 3 — щпиль и приводная брашпильная машина; 4 — щахта злеваторнрй подачи 75-мм патронов; 5 — главный компас; 6 — командирская рубка; 7 — штурманская рубка; 8 — грузовая стрела для подъема парового катера и электролебедка; 9 — коечные сетки; 10 — вентиляционная шахта; 11 — радиорубка; 12 — прожекторы на подвижной тележке на среднем поперечном мостике; 13 — угольная яма; 14 — ходовая рубка; 15 — боевая рубка; 16 — лазарет; 17 — шахта элеваторной подачи 47-мм патронов; 18 — 75-мм орудие; 19 — кран-крамбол;. 20 — мокрая провизия; 21 — цепной ящик; 22 — рефрижераторная мащина; 23 — пародинамомашина; 24 — погреб 152-мм боеприпасов; 25 — погреб 47-мм Латронов; 25 — погреб 64-, 47-и 37-мм патронов; 27 — шахты подачи 152-мм боеприпасов; 28 — центральный пост; 29 — боевой перевязочный пункт (операционная); 30 — котельное отделение; 31 — отделение подводных минных (торпедных) аппаратов; 32 — машинное отделение; 33 — упорный подшипник; 34 — погреб 152- и 37-мм боеприпасов; 35 — погреб 75-мм патронов; 36 — румпельное отделение; 37 — провизионные погреба; 38 — продольный мостик; 39 — 152-мм орудие; 40 — выстрел; 41 — пулемет, установленный на коечных сетках; 42 — горловины для погрузки угля; 43 — ростврные бимсы (для установки шлюпок над верхней палубой) с подвесным рельсом для беседок с патронами; 44 — скос броневой палубы; 45 — коффердам, наполненный пробкой; 46 — положение предполагавшегося по проекту № 5 (1906 г.) броневого пояса толщиной 50,8 мм; 47 — скуловой киль; 48 — коридор для переходов из кормового котельного отделения в среднее.
Первый бронированный крейсер Черноморского флота „Очаков” должен был стать украшением намеченных на осень 1904 г. торжеств 50-летия Синопского боя и Севастопольской обороны, включавших и „высочайший смотр” флота. Эти торжества должны были стать всероссийскими, к ним приурочивалось и открытие ряда памятников севастопольской обороны. Одним словом, опоздать с готовностью крейсера было нельзя!
Теперь все зависело от своевременности поставки плит вертикального бронирования (казематов, боевой рубки, башен, кожухов дымоходов и шахт элеваторов) и самих башенных установок. Если готовые котлы уже были в пути — плыли вокруг Европы к Севастополю, а главные машины монтировались для проведения испытаний на сормовском стенде, то о броне и башнях нельзя было даже сказать, что они существуют хотя бы в проекте.
Лишь в июне 1902 г. МТК установил основные принципы вертикального бронирования крейсеров, распределение поставок брони между заводами и сроки этих поставок. Только в ноябре Янковскому стало известно о представленных Металлическим заводом в МТК чертежах „кораблестроительных работ” по башенным установкам крейсеров; 4 декабря главный командир еще просил МТК о „скорейшем рассмотрении и утверждении” этих чертежей, чтобы дать возможность строителю начать разработку чертежей подачных труб башен.

Общее расположение крейсера „Олег”. Поперечное сечение по шп. 68 (см. в нос)
Значительными задержками из-за бесконечных переделок чертежей грозило и сильное опоздание, как это уже не раз случалось, решения МТК (журнал по артиллерии от 22 июня 1902 г.) о руководящих принципах и требованиях „при составлении окончательных чертежей для заказа брони на крейсера”. Как видим, этот важнейший вопрос обсуждался только в июне, хотя был поднят еще в апреле по настоянию главного корабельного инженера Петербургского порта Д. В. Скворцова.
Прочитали книгу? Предлагаем вам поделится своим впечатлением! Ваш отзыв будет полезен читателям, которые еще только собираются познакомиться с произведением.
Уважаемые читатели, слушатели и просто посетители нашей библиотеки! Просим Вас придерживаться определенных правил при комментировании литературных произведений.
Просьба отказаться от дискриминационных высказываний. Мы защищаем право наших читателей свободно выражать свою точку зрения. Вместе с тем мы не терпим агрессии. На сайте запрещено оставлять комментарий, который содержит унизительные высказывания или призывы к насилию по отношению к отдельным лицам или группам людей на основании их расы, этнического происхождения, вероисповедания, недееспособности, пола, возраста, статуса ветерана, касты или сексуальной ориентации. Просьба отказаться от оскорблений, угроз и запугиваний. Просьба отказаться от нецензурной лексики. Просьба вести себя максимально корректно как по отношению к авторам, так и по отношению к другим читателям и их комментариям.
Надеемся на Ваше понимание и благоразумие. С уважением, администратор My-Books.me.
Оставить комментарий
-
Александра15 январь 09:37
Очень интересная книга! Особенно, если любишь психологию и хочешь понимать себя и других. Обязательно послушаю до конца. Спасибо....
Кригер Борис – Гнев
-
Галина25 май 13:02
Очень уважаю Артема Шейнина, книга замечательная, очень мне близкая по духу.Перечитываю уже второй раз, столько пережитого и не...
Мне повезло вернуться - Артем Шейнин
-
Екатерина11 январь 08:05
Доброе утро. Подскажите пожалуйста как сохранять книги, ставить закладки?...
Подонок - Анастасия Леманн