Т-34 История танка - Михаил Барятинский
Книгу Т-34 История танка - Михаил Барятинский читаем онлайн бесплатно и без регистрации! Читать онлайн вы можете не только на компьютере, но и на андроид (Android), iPhone и iPad. Наслаждайтесь!
166 0 14:34, 26-05-2019Книга Т-34 История танка - Михаил Барятинский читать онлайн бесплатно без регистрации
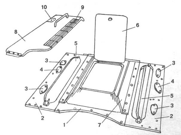
Корма корпуса состояла из верхнего наклонного листа, нижнего наклонного корытообразного листа и двух картеров бортовых передач. Верхний наклонный лист трапециевидной формы крепился петлями и винтами к нижнему и бортовым листам. В нем имелся четырехугольный люк (с 1942 года — круглый, за исключением танков, выпускавшихся на СТЗ), обеспечивавший доступ к агрегатам, установленным в задней части трансмиссионного отделения, и два овальных отверстия для выхлопных труб (снаружи эти отверстия защищались броневыми колпаками).
Крыша над боевым отделением представляла собой броневой лист, в котором имелись большой круглый вырез для установки башни и четыре выреза для доступа к верхней части подвесок катков, закрытых сверху крышками. Крыша над моторным отделением состояла из среднего продольного листа с люком для доступа к двигателю, двух боковых листов над радиаторами, двух продольных листов жалюзи и колпаков над радиаторами.
Крыша над трансмиссионным отделением состояла из двух броневых листов над баками для топлива, двух броневых листов жалюзи, узкого концевого поперечного листа и сетки над крышей.
По сравнению с Т-34, корпус танка Т-34-85 принципиальных изменений не претерпел. Все они в основном сводились к упрощению конструкции. В 1945 году из носовой части была изъята передняя балка, а верхний и нижний лобовые листы соединялись встык. К верхнему лобовому листу приваривались бонки для крепления запасных траков. Было ликвидировано отверстие для ввода антенны в правом верхнем бортовом листе. В кормовой части верхних бортовых листов приваривались крепления наружных масляного и топливных баков, а к верхним кромкам — защитные планки, предохранявшие погон башни от поражения пулями и осколками снарядов. На верхнем кормовом листе устанавливались кронштейны для крепления дымовых шашек МДШ.
БАШНЯ сварная, овальной обтекаемой формы, устанавливалась на шариковой опоре над боевым отделением корпуса.
В ее переднем лобовом листе имелись три выреза: центральный — для установки пушки; правый —для спаренного пулемета; левый — для телескопического прицела. В боковых листах башни были предусмотрены вырезы для приварки оснований смотровых приборов, а под ними — отверстия для стрельбы из револьвера.

Схема бронирования танка Т-34

Крыша над двигателем:
1 — средний лист: 2 — боковые листы: 3 — броневые крышки над шахтами подвески: 4 — броневые крышки заливных горловин масляных баков: 5 — броневой лист жалюзи; 6 — крышка люка над двигателем: 7 — броневая планка: 8 — колпак воздухопритока; 9 — решетка колпака воздухопритока: 10 — крышка лючка для заливки масла
В заднем листе ниши башни имелся люк для демонтажа пушки, его крышка крепилась четырьмя, а затем шестью болтами. У танков, выпущенных СТЗ в 1942 году, съемным был весь кормовой лист башни (крепился восемью болтами). У сормовских машин этот люк вообще отсутствовал.
В крыше башни имелся люк трапециевидной формы, закрывавшийся откидной крышкой, в которой находились два отверстия: левое — для установки прибора кругового обзора; правое — для сигнализации. С осени 1941 года прибор кругового обзора не устанавливался, а его отверстие заваривалось. На танках выпуска 1942 года этого отверстия уже не было.
В переднем листе крыши башни имелись два отверстия: слева—для установки перископического прицела; справа, на продольной оси башни, закрытое колпаком, — для вентиляции. С конца 1941 года отверстий для прицелов было два — слева и справа от вентилятора.
На танках первых выпусков в заднем листе крыши башни имелось отверстие для ввода антенны с приваренной бронировкой. У машин последующих выпусков это отверстие заваривалось, а позже просто не выполнялось, так как радиоаппаратуру вместе с антенным вводом перенесли из ниши башни в носовую часть корпуса (с правой стороны по ходу танка).
Помимо сварных, выпускались литые башни, в которых крыша и днище ниши вваривались после предварительной мехобработки. Основания боковых смотровых приборов отливались заодно с корпусом башни. В остальном литая башня отличий от сварной не имела.
В 1942 году была введена башня так называемой "улучшенной" формы, более близкая по своим очертаниям к правильному шестиграннику. Эта башня выполнялась как литой, так и штампованной.
Передняя наклонная стенка башни имела прямоугольный вырез для монтажа вооружения. Снаружи вырез закрывался броневым лобовым щитом, крепившимся к башне болтами.
На боковых стенках башни были прорезаны две смотровые щели, оборудованные смотровыми приборами. В задней стенке ниши находилось отверстие для крепления приспособления проверки отката и наката компрессора пушки. Отверстие закрывалось заглушкой, которая изнутри башни фиксировалась гайкой.
В части танков выпуска 1943 года под смотровыми щелями имелись отверстия для стрельбы из револьвера, закрывавшиеся заглушками.
Крыша башни представляла собой плоский броневой лист. В передней левой части крыши находилось отверстие для перископического прицела. На командирских танках в передней правой части крыши предусматривалось отверстие для командирской панорамы. В средней части крыши было оборудовано два круглых люка для входа и выхода экипажа. Между ними размещалась съемная перемычка, позволявшая вынимать через люки бортовые топливные баки, не снимая башни. В задней части крыши находился люк для вентиляции, закрытый броневым колпаком.
С лета 1943 года у ряда танков на левом люке устанавливалась командирская башенка цилиндрической формы с пятью смотровыми щелями с защитными стеклами. Во вращавшейся на шариковой опоре крыше башенки имелся люк, закрывавшийся двухстворчатой крышкой с отверстием для смотрового прибора в одной из створок. Танки с командирской башенкой съемной перемычки в крыше башни не имели.

Схема бронирования танка Т-34-85

Бронировка прицела ПТ-4-7

Бронировка смотрового прибора. На танках ранних выпусков верхняя крышка крепилась винтами, на поздних (это хорошо видно на соседнем снимке) — приваривалась

Литая башня танка Т-34 выпуска 1942 года. Завод № 183
Башня танка Т-34-85 представляла собой фасонную стальную отливку. В передней ее части имелись амбразуры для установки пушки, спаренного пулемета и прицела. Снаружи к боковым стенкам башни приваривались четыре рыма и три поручня, а на задней стенке — шесть скоб для крепления брезента.
Прочитали книгу? Предлагаем вам поделится своим впечатлением! Ваш отзыв будет полезен читателям, которые еще только собираются познакомиться с произведением.
Уважаемые читатели, слушатели и просто посетители нашей библиотеки! Просим Вас придерживаться определенных правил при комментировании литературных произведений.
Просьба отказаться от дискриминационных высказываний. Мы защищаем право наших читателей свободно выражать свою точку зрения. Вместе с тем мы не терпим агрессии. На сайте запрещено оставлять комментарий, который содержит унизительные высказывания или призывы к насилию по отношению к отдельным лицам или группам людей на основании их расы, этнического происхождения, вероисповедания, недееспособности, пола, возраста, статуса ветерана, касты или сексуальной ориентации. Просьба отказаться от оскорблений, угроз и запугиваний. Просьба отказаться от нецензурной лексики. Просьба вести себя максимально корректно как по отношению к авторам, так и по отношению к другим читателям и их комментариям.
Надеемся на Ваше понимание и благоразумие. С уважением, администратор My-Books.me.
Оставить комментарий
-
Александра15 январь 09:37
Очень интересная книга! Особенно, если любишь психологию и хочешь понимать себя и других. Обязательно послушаю до конца. Спасибо....
Кригер Борис – Гнев
-
Галина25 май 13:02
Очень уважаю Артема Шейнина, книга замечательная, очень мне близкая по духу.Перечитываю уже второй раз, столько пережитого и не...
Мне повезло вернуться - Артем Шейнин
-
Екатерина11 январь 08:05
Доброе утро. Подскажите пожалуйста как сохранять книги, ставить закладки?...
Подонок - Анастасия Леманн