» » » Боевые корабли японского флота 10.1918-8.1945 гг. Подводные лодки - Юрий Апальков

Боевые корабли японского флота 10.1918-8.1945 гг. Подводные лодки - Юрий Апальков

Книгу Боевые корабли японского флота 10.1918-8.1945 гг. Подводные лодки - Юрий Апальков читаем онлайн бесплатно и без регистрации! Читать онлайн вы можете не только на компьютере, но и на андроид (Android), iPhone и iPad. Наслаждайтесь!

222 0 17:14, 26-05-2019
Боевые корабли японского флота 10.1918-8.1945 гг. Подводные лодки - Юрий Апальков
26 май 2019
Автор: Юрий Апальков Жанр: Книги / Историческая проза Год публикации: 1999 Возрастные ограничения: (18+) Внимание! Аудиокнига может содержать контент только для совершеннолетних.
0 0

Книга Боевые корабли японского флота 10.1918-8.1945 гг. Подводные лодки - Юрий Апальков читать онлайн бесплатно без регистрации

Предлагаемый вниманию читателей справочник содержит сведения о тактико-технических элементах и карьере подводных лодок, входивших в состав действующих соединений, находившихся в постройке либо внесенных в кораблестроительные программы Японского Императорского флота в период с октября 1918 г. по август 1945 г. Схематично показан продольный разрез подводных лодок, их внешний вид в двух проекциях в различные периоды службы. Справочник предназначен для историков, слушателей и курсантов военно-морских заведений, а также для всех тех, кто интересуется историей войны на море.
1 ... 107 108 109 110 111 112 113 114 115 ... 135
Перейти на страницу:

В. Надводная: — 15,75 узла (максимальная, контрактная); — 11 узлов (экономическая), подводная: — 19 узлов (максимальная, контрактная); — 3 узла (в течение 15 часов).

Г. 95 т соляра.

Д. Надводная: — 8000 миль (11 узлов); — 5800 миль (16 узлов), подводная: — 18,5 миль (19 узлов); — 135 миль (3 узла).

Е. 10,9%

Ж. 31 человек.

З. 2 (2×1) — 25-мм/60 тип 96 (Д. стр. — 40 кбт./5200 м; от 110 до 260 выстрелов в минуту; 1800 унитарных партронов).

И. 4 носовых ТА 533-мм (10 торпеды).

Л. ПУТС для 533-мм ТА: АПТС тип 93; линейчатый ночной прицел тип 93; командтрский перископ.

М. РЛС обнаружения воздушных целей тип 3 мод. 3 модиф. 1, РЛС обнаружения надводных целей тип 3 мод. 2 модиф. 2.


Боевые корабли японского флота 10.1918-8.1945 гг. Подводные лодки

ПЛ I-201 типа ST после вступления в строй


Боевые корабли японского флота 10.1918-8.1945 гг. Подводные лодки

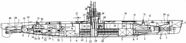
Продольный разрез ПЛ типа ST:

1. ЦГБ; 2. Дифферентные цистерны; 3. Топливные танки; 4. Торпедозаместительная цистерна; 5. Уравнительная цистерна; 6. Цистерны чистых масел; 7. Цистерна циркуляционных масел; 8. Цистерна пресной воды; 9. 533-мм ТА; 10. Торпедный отсек; 11. Торпедопогрузочный люк; 12. Носовая станция ВВД; 13. Носовой горизонтальный руль; 14. Привод носового горизонтального руля; 15. Якорный шпиль и его машинка; 16. Деррик-кран; 17. 25-мм зенитные автоматы; 18. Боевая рубка; 19. Репитер гирокомпаса; 20. Жилой отсек; 21. Центральный отсек (аккумуляторный); 22. АБ; 23. Центральный пост; 24. Шахта гирокомпаса; 25. Погреб артиллерийского боезапаса; 26. Центральный пост управления рулями; 27. Шахта общесудовой вентиляции; 28. Шахта устройства работы дизелей под водой ("шноркель"); 29. Ходовой мостик; 30. Радиорубка; 31. Дизель; 32. ГЭД; 33. Разобщительная муфта; 34. Дейдвудный сальник; 35. Упорный подшипник; 36. Компрессоры системы ВВД; 37. Щит управления ГЭД; 38. Привод кормовых горизонтальных рулей; 39. Машинка приводов кормовых горизонтальных рулей; 40. Привод вертикальиого руля; 41. Машинка привода вертикального руля

I-201 (до ноября 1944 г. заказ № 4501) После вступления в строй вошла в состав 15-го ДПЛ Шестого флота. По техническим причинам корабль к участию в боевых действиях не привлекался. 18.08.1945 г. I-201 передали в распоряжение американских оккупационных властей. Вероятно, ПЛ разобрали на металл в Хариме (бывшей верфи флота в Куре) в конце 1945 г.

I-202 (до ноября 1944 г. заказ № 4502) После вступления в строй вошла в состав 15-го ДПЛ Шестого флота. По техническим причинам корабль к участию в боевых действиях не привлекался. 18.08.1945 г. I-202 передали в распоряжение американских оккупационных властей. 5.04.1946 г. ПЛ затопили в Конго Пойнт.

I-203 (до ноября 1944 г. заказ № 4503) После вступления в строй вошла в состав Одиннадцатой эскадры ПЛ Шестого флота. По техническим причинам корабль к участию в боевых действиях не привлекался. 18.08.1945 г. I-203 передали в распоряжение американских оккупационных властей. Вероятно, ПЛ разобрали на металл в Хариме (бывшей верфи флота в Куре) в конце 1945 г.

I-204 (до ноября 1944 г. заказ № 4504) 2.06.1945 г. во время достройки ПЛ, имевшая 90 % готовность, была потоплена американской базовой авиацией у достроечной стенки верфи флота в Куре. 5.02.1948 г. корабль подняли и в середине 1948 г. разобрали на металл в Хариме (бывшей верфи флота в Куре).

I-205 (до ноября 1944 г. заказ № 4505) 28.07.1945 г. постройку ПЛ, имевшую 80 % готовность, прекратили из-за повреждений, нанесенных в результате налетов американской палубной авиации. В конце июля 1945 г. I-205 затонула у достроечной стенки верфи флота в Куре. 8.05.1948 г. ПЛ подняли и до конца 1948 г. разобрали на металл в Хариме (бывшей верфи флота в Куре).

I-206 (до ноября 1944 г. заказ № 4506) 26.03.1945 г. постройку ПЛ, имевшую 85 % готовность, прекратили. Корабль перевели на рейд порта Кобе. где 25.08.1945 г. он затонул во время шторма. 11.10.1946 г. I-206 подняли и до февраля 1947 г. разобрали на металл.

В. Средние подводные лодки постройки 1923–1945 гг

B.1 серий Ro

Типа L4

1 2 3 4 5 6 7
Ro–60 с. в. ф. "Мицубиси", Кобе декабрь 1921 г. 22.05.1922 г. 17.09.1923 г. 76,2×7,3×3,7/4,84 (12,5 мм) 996 (988)/1322 т
Ro–61 с. в. ф. "Мицубиси", Кобе декабрь 1922 г. 19.05.1923 г. 9.02.1924 г.
Ro–62 с. в. ф. "Мицубиси", Кобе январь 1923 г. 10.09.1923 г. 24.07.1924 г.
Ro–63 с. в. ф. "Мицубиси", Кобе сентябрь 1923 г. 24.01.1924 г. 20.12.1924 г.
Ro–64 с. в. ф. "Мицубиси", Кобе декабрь 1923 г. 19.08.1924 г. 30.04.1925 г.
Ro–65 с. в. ф. "Мицубиси", Кобе декабрь 1924 г. 25.09.1925 г. 30.06.1926 г.
Ro–66 с. в. ф. "Мицубиси", Кобе декабрь 1925 г. 25.10.1926 г. 28.07.1927 г.
Ro–67 с. в. ф. "Мицубиси", Кобе сентябрь 1925 г. 18.03.1926 г. 15.12.1926 г.
Ro–68 с. в. ф. "Мицубиси", Кобе сентябрь 1924 г. 23.02.1925 г. 29.10.1925 г.

А. Заказаны в рамках "Новой программы по замещению" 1923 г. № 59 (Ro-60) строилась по бюджету на 1921/22 гг., № 72 (Ro-61) и № 73 (Ro-62) — по бюджету на 1922/23 гг., № 84 (Ro-63) и Ro-64 — по бюджету на 1923/24 гг., Ro-65 и Ro-68 — по бюджету на 1924/25 гг., Ro-66 и Ro-67 — по бюджету на 1925/26 гг. Предназначались для борьбы с боевыми кораблями и торговым судоходством противника в прибрежных районах и на небольшом удалении от пунктов базирования. Проект разработан МТД на основе типа L3 и, в отличие от него, имел увеличенные размеры и шесть 533-мм ТА. ПЛ имела была полуторокорпусную конструкцию, плоские переборки делили прочный корпус на семь отеков, три группы ЦГБ, топливные танки вне прочного корпуса. Главные механизмы (ДГ, ЭД и компрессоры ВВД) на металлических амортизаторах. Автономность 20 суток. Рабочая глубина погружения 60 метров. ПЛ данного типа к моменту начала войны на Тихом океане морально устарenи и имели ограниченные боевые возможности.

1 ... 107 108 109 110 111 112 113 114 115 ... 135
Перейти на страницу:
  1. Жалоба
Отзывы - 0

Прочитали книгу? Предлагаем вам поделится своим впечатлением! Ваш отзыв будет полезен читателям, которые еще только собираются познакомиться с произведением.


Уважаемые читатели, слушатели и просто посетители нашей библиотеки! Просим Вас придерживаться определенных правил при комментировании литературных произведений.

Просьба отказаться от дискриминационных высказываний. Мы защищаем право наших читателей свободно выражать свою точку зрения. Вместе с тем мы не терпим агрессии. На сайте запрещено оставлять комментарий, который содержит унизительные высказывания или призывы к насилию по отношению к отдельным лицам или группам людей на основании их расы, этнического происхождения, вероисповедания, недееспособности, пола, возраста, статуса ветерана, касты или сексуальной ориентации. Просьба отказаться от оскорблений, угроз и запугиваний. Просьба отказаться от нецензурной лексики. Просьба вести себя максимально корректно как по отношению к авторам, так и по отношению к другим читателям и их комментариям.

Надеемся на Ваше понимание и благоразумие. С уважением, администратор My-Books.me.


Новые отзывы

  1. Александра Александра15 январь 09:37 Очень интересная книга! Особенно, если любишь психологию и хочешь понимать себя и других. Обязательно послушаю до конца. Спасибо.... Кригер Борис – Гнев
  2. Галина Галина25 май 13:02 Очень уважаю Артема Шейнина, книга замечательная, очень мне близкая по духу.Перечитываю уже второй раз, столько пережитого и не... Мне повезло вернуться - Артем Шейнин
  3. Екатерина Екатерина11 январь 08:05 Доброе утро. Подскажите пожалуйста как сохранять книги, ставить закладки?... Подонок - Анастасия Леманн
Все комметарии
Новинки бесплатной онлайн библиотеки