» » » Пулеметы России. Шквальный огонь - Семен Федосеев

Пулеметы России. Шквальный огонь - Семен Федосеев

Книгу Пулеметы России. Шквальный огонь - Семен Федосеев читаем онлайн бесплатно и без регистрации! Читать онлайн вы можете не только на компьютере, но и на андроид (Android), iPhone и iPad. Наслаждайтесь!

196 0 21:53, 24-05-2019
Пулеметы России. Шквальный огонь - Семен Федосеев
24 май 2019
Автор: Семен Федосеев Жанр: Книги / Историческая проза Год публикации: 2009 Возрастные ограничения: (18+) Внимание! Аудиокнига может содержать контент только для совершеннолетних.
0 0

Книга Пулеметы России. Шквальный огонь - Семен Федосеев читать онлайн бесплатно без регистрации

Трудно переоценить роль пулеметов в развитии военного дела — оборвав миллионы жизней, они навсегда изменили лицо войны. А ведь даже специалисты далеко не сразу оценили их по достоинству, поначалу рассматривая как специальное оружие с весьма узким кругом боевых задач, — так, на рубеже XIX — ХХ веков пулеметы считались всего лишь одним из видов крепостной артиллерии. Однако уже в ходе Русско-японской войны автоматический огонь доказал свою высочайшую эффективность, а в годы Первой мировой пулеметы стали одним из важнейших средств огневого поражения противника в ближнем бою, устанавливались на танках, боевых самолетах и кораблях. Автоматическое оружие произвело настоящую революцию в военном деле: шквальный пулеметный огонь буквально сметал наступающие войска, став одной из главных причин «позиционного кризиса», радикально изменив не только тактические приемы ведения боя, но и всю военную стратегию. Эта книга — самая полная и подробная на сегодняшний день энциклопедия пулеметного вооружения Русской, Советской и Российской армии с конца XIX и до начала XXI века, как отечественных моделей, так и зарубежных — покупных и трофейных. Автор, ведущий специалист по истории стрелкового оружия, не только приводит подробные описания устройства и работы станковых, ручных, единых, крупнокалиберных, танковых и авиационных пулеметов, но и рассказывает об их боевом применении во всех войнах, которые вела наша страна на протяжении бурного ХХ века.
1 ... 102 103 104 105 106 107 108 109 110 ... 143
Перейти на страницу:

Питание патронами — из рассыпной металлической звеньевой ленты, составленной из незамкнутых звеньев с шагом 23–24 мм и укладываемой в металлическую коробку, крепящуюся на кронштейне станка с левой стороны пулемета. Лотком подачи ленты служит козырек коробки. Барабанный приемник ДШК приводился в действие от рукоятки затворной рамы, — двигаясь назад, она натыкалась на вилку качающегося рычага-подавателя и поворачивала его. Собачка на другом конце рычага поворачивала на 60° барабан, который протягивал ленту. Одновременно в барабане находилось 4 патрона. Извлечение патрона из звена ленты — в боковом направлении. При вращении барабана патрон постепенно выдавливался из звена ленты и подавался в приемное окно ствольной коробки, где подхватывался движущимся вперед затвором.


Пулеметы России. Шквальный огонь

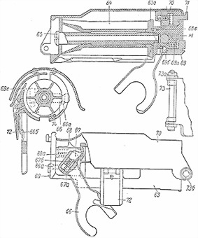
Приемник пулемета ДШК обр. 1938 г.: 63 — основание приемника, 64 — барабан, 65 — ось, 66–66 — рычаг, 67 — собачка рычага, 68 — защелка барабана, 69 — защелка основания приемника, 69е — отсекатель патронов, 70 — крышка приемника, 71 — защелка, 72 — поддержка ленты, 73 — болт, 74 — пружинная задержка патрона

В пулемете ДШКМ сверху ствольной коробки смонтирован приемник ползункового типа. Механизм подачи ДШКМ включает основные приемника со съемником звена ленты и снижателем патрона, крышку приемника с защелкой, ползун с пальцами подачи, рычаг привода с осью и передающий рычаг с осью и фиксатором. Ползун приводится в движение горизонтальным коленчатым рычагом, который поворачивается вертикальным качающимся рычагом с вилкой на конце. Последний также приводится в движение рукояткой затворной рамы. Перевернув коленчатый рычаг ползуна, можно изменить направление подачи ленты с левого на правое, что облегчило использование ДШКМ на комплексированных установках.

12,7-мм патрон имеет несколько вариантов — с бронебойной пулей обр. 1930 г. (Б-30), бронебойно-зажигательной обр. 1932 г. (Б-32), пристрелочно-зажигательной (ЗП), пристрелочной (П), трассирующей (Т), против зенитных целей применялась бронебойно-зажигательно-трассирующая обр. 1941 г. (БЗТ). Патроны с зажигательными пулями МД и МДЗ-3 использовались в основном в авиационных 12,7-мм пулеметах, с бронебойной БС-41 — в 12,7-мм однозарядных ПТР. Гильза не имеет выступающей закраины, что и позволило применить прямую подачу патрона. При стрельбе патронами с обычной бронебойной пулей Б-32, бронепробиваемость по нормали (т. е. под углом 90°) составляла 20 мм броневой стали со 100 м и 15 мм — с 500 м.


Пулеметы России. Шквальный огонь

Схема работы механизма подачи пулемета ДШКМ обр. 1938/46 г.: 1 — рукоятка (шип) затворной рамы, 2 и 4 — большой и малый передающие рычаги, 3 — ось с кулачком, 5 — подающие пальцы, 6 — ползун

Для стрельбы по наземным целям применяется откидной рамочный прицел, смонтированный на основании сверху ствольной коробки. Прицел имеет червячные механизмы установки целика и введения боковых поправок, рамка снабжена делениями до 3500 м через 100 и наклонена влево для компенсации деривации пули. Штыревая мушка с предохранителем размещена на высоком основании в дульной части ствола. Длина прицельной линии — 1110 мм. При стрельбе по наземным целям диаметр рассеивания на дальности 100 м составлял 200 мм.


Пулеметы России. Шквальный огонь

Пули патрона 12,7х108 слева направо: бронебойно-зажигательная, бронебойно-зажигательная трассирующая, зажигательная мгновенного действия, бронебойная


Пулеметы России. Шквальный огонь

12,7-мм пулемет ДШК с новым дульным тормозом на станке Колесникова (без щита и двух передних ног)

ДШК в ходе эксплуатации использовался с тремя типами зенитных прицелов. Кольцевой дистанционный прицел обр. 1938 г. предназначался для стрельбы по самолетам, летящим со скоростью до 500 км/ч, на дальности до 2400 м, хотя кольца его переднего визира были рассчитаны на скорости цели 100, 200, 300 и 400 км/ч. Прицел обр. 1941 г. был несколько упрощен, дальность стрельбы уменьшена до 1800 м, но возможная скорость полета цели увеличена до 625 км/ч: кольца визира соответствовали скоростям 125, 250, 375 и 500 км/ч, а «воображаемое» кольцо — 625 км/ч. Зенитный прицел обр. 1943 г. относился к типу ракурсных, был проще в использовании и позволял вести огонь при любом курсе цели, включая пикирование или кабрирование. Прицел обр. 1943 г. был универсальным — с небольшими изменениями мог ставиться и на «Максим» на зенитной треноге.

Пулемет ДШКМ снабжается коллиматорным зенитным прицелом, облегчающим прицеливание по скоростной цели и позволяющим видеть прицельную марку и цель с одинаковой отчетливостью. ДШКМ, ставившийся на танки в качестве зенитного, снабжался коллиматорным прицелом К-10Т. Оптическая система прицела формировала на выходе изображение цели и спроецированную на нее прицельную сетку с кольцами для стрельбы с упреждением и делениями угломера. Цена большого деления угломера — 20 тысячных (0 — 20), малого деления — 10 тысячных (0 — 10).

В «пехотном» варианте пулемет ставился на универсальный станок Колесникова обр. 1938 г. Тело пулемета крепилось на люльке качающейся части станка. Люлька установлена на вертлюге и снабжена пружинным амортизатором, вертлюг установлен на столе станка. К столу крепилась ось колесного хода и три складные ноги с сошниками. На качающейся части имелась рукоятка перезаряжания, стержневой механизм вертикальной наводки, ось крепления прицела, кронштейн патронной коробки. Для удобства наводки предусмотрен съемный наплечник с регулируемыми плечевыми упорами. Стрельба по наземным целям велась с колесного хода (ноги сложены). При этом фигурная опора, смонтированная на средней ноге станка, используется в качестве сиденья или подлокотников. Упор на треноге позволил несколько уменьшить ее подбрасывание при стрельбе. Для зенитной стрельбы колесный ход отделяется и станок раскладывается в виде треноги. О преимуществах универсальных и специализированных установок спорили долго, но опыт показал все же, что чисто наземный станок дает крупнокалиберному пулемету большую подвижность, не ухудшая устойчивости, а специальная зенитная установка — большую устойчивость, удобство наводки и эффективность стрельбы, нежели универсальный станок. Отрабатывались и другие типы установок, включая «противотанковую» в виде своеобразного облегченного артиллерийского лафета на колесах с шинами, допускавшими буксировку. Но установки остались опытными.

Для решения задач ПВО, ставших для ДШК основными, к пулемету был разработан ряд комплексированных зенитных установок. Н.Ф. Токарев (создатель счетверенной ЗПУ «Максим») в 1940 г. разработал для пулеметов ДШК строенную установку ТКБ-149 с раздельными механизмами наведения по горизонтали и вертикали. Строенные 12,7-мм установки с сиденьями для двух номеров расчета, механизмами наведения и прицелом на специальном кронштейне использовались ограниченно. В 1944 г. в ЦКБ-14 Н.Ф. Токарев разработал строенную 56-У-542А с магазинным питанием, а в Отделе главного конструктора завода № 2 в Коврове И.С. Лещинский разработал счетверенную УЛ-12,7 на шасси ЗИС-5; в ОКБ-43 на основе ДШК создали спаренную установку 2-УК-АА на шасси ГАЗ-АА. Сложности в создании комплексированных установок были связаны, прежде всего, с системой питания — при существующей схеме она не позволяла без существенных переделок перейти на подачу ленты с другой стороны. Между тем уже велась работа по модернизации ДШК, и еще в ходе войны Лещинским была разработана счетверенная установка под выпускавшийся и под модернизированный ДШК.

1 ... 102 103 104 105 106 107 108 109 110 ... 143
Перейти на страницу:
  1. Жалоба
Отзывы - 0

Прочитали книгу? Предлагаем вам поделится своим впечатлением! Ваш отзыв будет полезен читателям, которые еще только собираются познакомиться с произведением.


Уважаемые читатели, слушатели и просто посетители нашей библиотеки! Просим Вас придерживаться определенных правил при комментировании литературных произведений.

Просьба отказаться от дискриминационных высказываний. Мы защищаем право наших читателей свободно выражать свою точку зрения. Вместе с тем мы не терпим агрессии. На сайте запрещено оставлять комментарий, который содержит унизительные высказывания или призывы к насилию по отношению к отдельным лицам или группам людей на основании их расы, этнического происхождения, вероисповедания, недееспособности, пола, возраста, статуса ветерана, касты или сексуальной ориентации. Просьба отказаться от оскорблений, угроз и запугиваний. Просьба отказаться от нецензурной лексики. Просьба вести себя максимально корректно как по отношению к авторам, так и по отношению к другим читателям и их комментариям.

Надеемся на Ваше понимание и благоразумие. С уважением, администратор My-Books.me.


Новые отзывы

  1. Александра Александра15 январь 09:37 Очень интересная книга! Особенно, если любишь психологию и хочешь понимать себя и других. Обязательно послушаю до конца. Спасибо.... Кригер Борис – Гнев
  2. Галина Галина25 май 13:02 Очень уважаю Артема Шейнина, книга замечательная, очень мне близкая по духу.Перечитываю уже второй раз, столько пережитого и не... Мне повезло вернуться - Артем Шейнин
  3. Екатерина Екатерина11 январь 08:05 Доброе утро. Подскажите пожалуйста как сохранять книги, ставить закладки?... Подонок - Анастасия Леманн
Все комметарии
Новинки бесплатной онлайн библиотеки