Секреты домашнего копчения - Валерий Бестужев
Книгу Секреты домашнего копчения - Валерий Бестужев читаем онлайн бесплатно и без регистрации! Читать онлайн вы можете не только на компьютере, но и на андроид (Android), iPhone и iPad. Наслаждайтесь!
280 0 04:18, 25-05-2019Книга Секреты домашнего копчения - Валерий Бестужев читать онлайн бесплатно без регистрации
1 – корпус коптильни; 2 – профильные уголки; 3 – противень; 4 – крышка; 5 – заглушка
На рис. 17 представлена схема коптильни с мангалом.
Такую конструкцию удобно использовать на приусадебном или дачном участке, в кафе или шашлычных.

Рис. 17. Схема коптильни-мангала:
а – вид спереди; б – вид сбоку:
1 – дверца топки; 2 – поддувало; 3 – коптильная камера; 4 – мангал; 5 – дымоход; 6 – ниша для сушки дров; 7 – рамка для копчения; 8 – движение дыма; 9 – дверца коптильни
Коптильню-мангал можно изготовить из листового железа толщиной 10 мм свариванием деталей газо/электросваркой, а при отсутствии металла – выложить из шамотного кирпича (жаростойкого).
Коптильня состоит из топки, поддувала, коптильной камеры, через которую проходит дым и жар, дымохода. Сверху коптильной камеры располагается мангал. В мангал кладут дрова и разводят огонь.
Рядом с дымоходом сделана специальная ниша, где можно сушить сырые дрова.
Топка и коптильня имеют дверцы с засовом или крючком. В дверце топки снизу нужно сделать отверстия (поддувало), чтобы поступал воздух.
В коптильную камеру вставляют решетку или рамку, на которой располагают шампуры с мясом или продукты для копчения. Под решетку желательно установить поддон или противень для сбора жира. Такая конструкция позволяет закладывать большие куски мяса. Курицу, кролика или утку можно запекать целиком.
При одновременном копчении продукты приобретают особую пикантность.
Для запекания мяса в такой коптильне требуется примерно 60–80 мин в зависимости от размера кусков.
Для обустройства коптильни в дымоходе готовой печи (рис. 18) нужно в одной из стенок дымохода сделать проем для установки в нем дверцы 3 и вмонтировать в этом месте стальной прут 2 для подвешивания продуктов.
Продукты, подготовленные к копчению, подвешивают на прут и закрывают дверцу.
На колосники в топочном отделении кладут кирпичи, чтобы дым, проходя сквозь них из поддувала, где горят дрова, остывал. Тягу регулируют шибером. Для копчения используют дрова только лиственных пород деревьев. При таком способе копчения продукты будут готовы в течение 1–2 суток.
Такая коптильня должна примыкать непосредственно к дымоходной трубе и соединяться с ней отверстиями вверху и внизу (рис. 19).
Через нижнее отверстие дым из перекрытой заслонкой трубы входит в коптильню, а через верхнее отверстие выходит. С помощью заслонок можно регулировать условия копчения.

Рис. 18. Коптильня в печной дымоходной трубе:
1 – шибер; 2 – прут для подвешивания продуктов; 3 – дверца коптильни; 4 – кирпичи в топке; 5 – поддувало
Чтобы трансформировать мангал или барбекю в коптильню (рис. 19), потребуется провести всего 3–4 операции:
1) убрать зольник, если он есть;
2) заглушить переднюю стенку (максимально герметично);
3) установить дымогенератор в нижней части мангала или барбекю;
4) уложить или подвесить в верхней части мангала или барбекю продукты, предназначенные для копчения, и накрыть мешковиной.
Заглушку передней стенки проще всего сделать из деревянных досок, но в целях пожарной безопасности – лучше из стали. Для этого подойдет стальной лист толщиной около 1 мм. Прикрепить его к стенкам очага можно с помощью анкерных болтов (рис. 20). Их вкручивают наглухо в кирпичную стену очага или вставляют в предварительно вбитую в стену стальную трубку с резьбой. Если стенка-заглушка изготовлена из дерева, то барашковую гайку затягивают, подложив под нее небольшую деревянную поперечину.

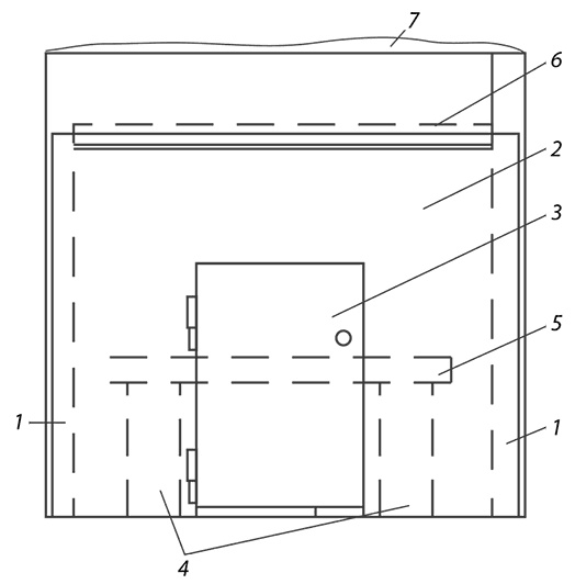
Рис. 19. Трансформация стационарного мангала, барбекю или гриля в коптильню:
1 – боковые кирпичные стенки очага; 2 – заглушка передней (как правило, открытой) стенки; 3 – дверца; 4 – подставки (обычно два кирпича); 5 – противень для опилок; 6 – решетка или подвес для продуктов; 7 – джутовая мешковина
Стена-заглушка необходима для того, чтобы ограничить утечку дыма из камеры для копчения. В качестве дымогенератора можно использовать противень с опилками над углями либо стальной пенал с опилками и паяльной лампой (только пенал придется нагревать вне коптильни и вставлять внутрь после разогрева, чтобы продукты горения паяльной лампы не попали на продукты).

Рис. 20. Варианты крепления стенки-заглушки:
1 – анкерный болт, наглухо вкрученный в кирпичную стенку очага; 2 – анкерный болт, вставленный в стальную трубку с резьбой; 3 – барашковая гайка; 4 – деревянная поперечина; 5 – стенка-заглушка; 6 – фронтальный торец кирпичной стенки очага
При использовании в качестве коптильни круглого барбекю-гриля никаких особых модернизаций не требуется. Достаточно только установить дымогенератор в нижней части, разместить продукты в верхней части и накрыть конструкцию мешковиной.
Вертикальныйтандыр – это практически готовая коптильня. Достаточно в горле установить решетки для размещения продуктов, накрыть конструкцию сверху мешковиной, а подачу дыма осуществлять через нижнее топочное отверстие.
Русская печь по своей компоновке – это тоже готовая коптильня и сушилка для различных продуктов. Коптить их можно, разместив в верхней части дымохода, а сушить – уложив в остывающей печи (под сводом).
Прочитали книгу? Предлагаем вам поделится своим впечатлением! Ваш отзыв будет полезен читателям, которые еще только собираются познакомиться с произведением.
Уважаемые читатели, слушатели и просто посетители нашей библиотеки! Просим Вас придерживаться определенных правил при комментировании литературных произведений.
Просьба отказаться от дискриминационных высказываний. Мы защищаем право наших читателей свободно выражать свою точку зрения. Вместе с тем мы не терпим агрессии. На сайте запрещено оставлять комментарий, который содержит унизительные высказывания или призывы к насилию по отношению к отдельным лицам или группам людей на основании их расы, этнического происхождения, вероисповедания, недееспособности, пола, возраста, статуса ветерана, касты или сексуальной ориентации. Просьба отказаться от оскорблений, угроз и запугиваний. Просьба отказаться от нецензурной лексики. Просьба вести себя максимально корректно как по отношению к авторам, так и по отношению к другим читателям и их комментариям.
Надеемся на Ваше понимание и благоразумие. С уважением, администратор My-Books.me.
Оставить комментарий
-
Александра15 январь 09:37
Очень интересная книга! Особенно, если любишь психологию и хочешь понимать себя и других. Обязательно послушаю до конца. Спасибо....
Кригер Борис – Гнев
-
Галина25 май 13:02
Очень уважаю Артема Шейнина, книга замечательная, очень мне близкая по духу.Перечитываю уже второй раз, столько пережитого и не...
Мне повезло вернуться - Артем Шейнин
-
Екатерина11 январь 08:05
Доброе утро. Подскажите пожалуйста как сохранять книги, ставить закладки?...
Подонок - Анастасия Леманн