Интеллектуальная собственность в бизнесе: изобретение, товарный знак, ноу-хау, фирменный бренд... - Микаэл Дашян
Книгу Интеллектуальная собственность в бизнесе: изобретение, товарный знак, ноу-хау, фирменный бренд... - Микаэл Дашян читаем онлайн бесплатно и без регистрации! Читать онлайн вы можете не только на компьютере, но и на андроид (Android), iPhone и iPad. Наслаждайтесь!
221 0 16:06, 21-05-2019Книга Интеллектуальная собственность в бизнесе: изобретение, товарный знак, ноу-хау, фирменный бренд... - Микаэл Дашян читать онлайн бесплатно без регистрации
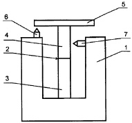
Формула изобретения
Устройство микроперемещений, содержащее основание, пьезотрубку с электродами, один конец которой закреплен на основании, а другой снабжен первой опорой, отличающееся тем, что в него введена вторая опора вторая опора размещена внутри пьезотрубки, при этом один конец второй опоры жестко закреплен на основании, а другой расположен под перемещаемым объектом.

Рис. Устройство перемещения
Патент РФ № 2282258 на изобретение «Способ перемещений» (патентообладатель: ЗАО «НТ-МДТ»; приоритет от 9 сентября 2004 г.)
Извлечения из формулы изобретения
Устройство перемещения, состоящее из основания с закрепленным на нем одним концом совмещенным узлом блока перемещения по одной координате (Z) и блока перемещений по двум взаимно перпендикулярным координатам (X, Y), другим свободным концом совмещенного узла блока перемещения вместе с расположенным на нем держателем объекта, отличающееся тем, что на упомянутом основании введены упоры, размещенные через зазоры напротив упомянутых свободного конца совмещенного узла и держателя объекта, при этом величины зазоров превышают величины функциональных перемещений конца совмещенного узла и держателя объекта в направлении соответствующих упоров, но меньше, чем предельно допустимые по прочности совмещенного узла отклонения в тех же направлениях.

Рис. Устройство перемещения
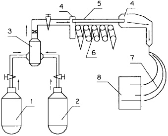
Патент РФ № 2282581 на изобретение «Способ изготовления калиброванного нанокапиллятора и устройство для его изготовления» (патентообладатель: федеральное государственное унитарное предприятие «Государственный научный центр Российской Федерации Институт теоретической и экспериментальной физики им. А.И. Алиханова»; приоритет от 29 ноября 2004 г.)
Извлечения из формулы изобретения

Рис. Устройство для изготовления калиброванного нанокапилляра
Способ изготовления калиброванного нанокапилляра, включающий процедуру оценки его диаметра, отличающийся тем, что выполняют непрерывный контроль диаметра капилляра по заданному шаблону, причем в качестве «пробки» минимального диаметра выбирают одноатомный газ, а в качестве «пробки» максимального диаметра выбирают молекулярный газ и, пропуская смесь этих газов через заготовку капилляра, оценивают диаметр капилляра по изменению соотношения концентраций атомного и молекулярного газов при управляемом разложении в капилляре молекулярной компоненты газовой смеси.
Патент РФ № 2293766 на изобретение «Способ получения надмолекулярных композитов» (патентообладатель: Дерябин Д.Г., Давыдова О.К.; открытая лицензия; приоритет от 13 апреля 2005 г.)
Извлечения из описания изобретения
Основной задачей, на решение которой направлен заявляемый способ, является получение надмолекулярных композитов из ДНК и формообразующего амфифильного вещества, в составе которых достигается упорядоченное (параллельное) расположение нитей ДНК.
Дополнительной задачей, решаемой при осуществлении заявляемого способа, является длительное сохранение нативной структуры и физико-химических свойств ДНК в составе образующегося надмолекулярного композита.
Извлечения из формулы изобретения
Способ получения надмолекулярных композитов из линейных молекул дезоксирибонуклеиновой кислоты путем смешивания двухцепочечных молекул ДНК с амфифильным формообразующим веществом в водном растворе и последующего инкубирования полученной смеси, отличающийся тем, что в качестве амфифильного формообразующего вещества используют вещество с химической формулой.

Рис. Химическая формула к патенту РФ № 2293766
Патент РФ № 2282583 на изобретение «Углеродный полимер» (патентообладатель: Левченко В.А., Раков Д.Л.; приоритет от 11 декабря 2003 г.)
Извлечения из описания изобретения
Целью изобретения является повышение трибологических свойств материала, в частности уменьшение трения, а также увеличение твердости, износостойкости, плотности упаковки атомов, задиростойкости и температурной стабильности.

Рис. Углеродный полимер
Извлечения из формулы изобретения
Углеродный полимер с гомеотропно-ориентированными атомами углерода, отличающийся тем, что выполнен в виде монокристаллической структуры с плотной упаковкой атомов углерода с sp-sp3-гибридизацией, при этом расстояние между цепочками углерода составляет от 3,97 до 5,11 Е.
Патент РФ № 2291835 на изобретение «Способ получения микроструктур» (патентообладатель: федеральное государственное унитарное предприятие «Научно-исследовательский институт комплексных испытаний оптико-электронных приборов и систем» (ФГУП НИИКИ ОЭП); приоритет от 21 июля 2005 г.)
Извлечения из реферата изобретения
Изобретение относится к области микро– и нанотехнологий обработки материалов с применением лазерного излучения. Техническим результатом изобретения является разработка производительного, экологически чистого, высокотехнологичного способа получения микроструктур с плоским дном как ячеистого, так и канального типа.
Патент РФ № 23000158 на изобретение «Способ формирования субмикронной и нанометровой структуры» (патентообладатель: Институт информатики и микроэлектроники РАН; приоритет от 29 сентября 2005 г.)
Извлечения из реферата изобретения
Прочитали книгу? Предлагаем вам поделится своим впечатлением! Ваш отзыв будет полезен читателям, которые еще только собираются познакомиться с произведением.
Уважаемые читатели, слушатели и просто посетители нашей библиотеки! Просим Вас придерживаться определенных правил при комментировании литературных произведений.
Просьба отказаться от дискриминационных высказываний. Мы защищаем право наших читателей свободно выражать свою точку зрения. Вместе с тем мы не терпим агрессии. На сайте запрещено оставлять комментарий, который содержит унизительные высказывания или призывы к насилию по отношению к отдельным лицам или группам людей на основании их расы, этнического происхождения, вероисповедания, недееспособности, пола, возраста, статуса ветерана, касты или сексуальной ориентации. Просьба отказаться от оскорблений, угроз и запугиваний. Просьба отказаться от нецензурной лексики. Просьба вести себя максимально корректно как по отношению к авторам, так и по отношению к другим читателям и их комментариям.
Надеемся на Ваше понимание и благоразумие. С уважением, администратор My-Books.me.
Оставить комментарий
-
Александра15 январь 09:37
Очень интересная книга! Особенно, если любишь психологию и хочешь понимать себя и других. Обязательно послушаю до конца. Спасибо....
Кригер Борис – Гнев
-
Галина25 май 13:02
Очень уважаю Артема Шейнина, книга замечательная, очень мне близкая по духу.Перечитываю уже второй раз, столько пережитого и не...
Мне повезло вернуться - Артем Шейнин
-
Екатерина11 январь 08:05
Доброе утро. Подскажите пожалуйста как сохранять книги, ставить закладки?...
Подонок - Анастасия Леманн