» » » Современные теплицы и парники - Валентина Назарова

Современные теплицы и парники - Валентина Назарова

Книгу Современные теплицы и парники - Валентина Назарова читаем онлайн бесплатно и без регистрации! Читать онлайн вы можете не только на компьютере, но и на андроид (Android), iPhone и iPad. Наслаждайтесь!

216 0 09:09, 25-05-2019
Современные теплицы и парники - Валентина Назарова
25 май 2019
Автор: Валентина Назарова Жанр: Книги / Домашняя Год публикации: 2011 Возрастные ограничения: (18+) Внимание! Аудиокнига может содержать контент только для совершеннолетних.
0 0

Книга Современные теплицы и парники - Валентина Назарова читать онлайн бесплатно без регистрации

В настоящем издании представлены самые полные сведения о том, как собственными руками возвести на своем участке теплицу или парник. Кроме того, в ней содержатся современные подходы к выращиванию садовых, огородных и цветочных культур, требования к почве, удобрениям и многое другое.
1 2 3 ... 70
Перейти на страницу:


Дополнительные угольники от оконных переплетов предохраняют профили от перекосов. Петли или шарниры, замок – завершают монтаж двери. Между кромками стекла и жести прокладывают уплотнитель. Дверь уплотняют с помощью самоклеющегося уплотнителя из поролона или резины и приклеивают к дверной коробке.

Технология изготовления коробки и рамы для форточки

Коробка проектируется так, чтобы ее ширина соответствовала ширине стекла. Верхний профиль коробки изготавляют из уголковой стали, остальные стороны из уголкового профиля. Верхний профиль коробки задвигают под кожух конька. Боковые профили загибают и скрепляют с верхней и нижней сторонами коробки. Монтаж коробки для форточки заканчивается прикреплением шарниров и фиксатора для установочной планки. Рама форточки будет иметь прочность, если верхнюю и боковые части согнуть из одного куска Т-образного профиля.

Современные теплицы и парники

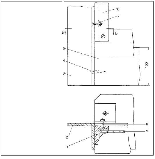
Рис. 28. Крепление дверной коробки к цоколю и стойке:

1 —стойка дверной коробки, Г-образный профиль 20x30x 4 мм; 2 – дверная коробка, Г-образный профиль 40x 4 мм; 3 – дверная коробка подгоняется к поверхности земли; 4 – шуруп 6x40 мм с дюбелем; 5 – цоколь; 6 – показано без стекла; 7 – болт с потайной головкой М6х15; 8 – болт с потайной головкой М6х20; 9 – стекло на замазке


Соединения выполняют болтами нижней части из уголковой стали, для установочной планки монтируется опора.

Возможности изменения конструкции теплиц

Устанавливать нужно на постоянный фундамент с цоколем. Высота цоколя 10 см над поверхностью земли. Цоколь не ухудшает освещенность теплицы, в тоже время металлические детали конструкции отдаляются от земли, снижается опасность коррозии. В дверном проеме цоколь прерывается, чтобы обеспечить свободный проход в теплицу. Каркас теплиц состоит из имеющихся в продаже стальных профилей соединяющихся между собой болтами.

Современные теплицы и парники

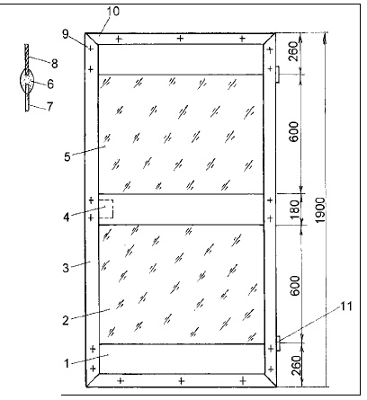
Рис. 29. Проект двери теплицы:

1 – 2-миллиметровая сталь на замазке; 2 – стекло; 3 – рама двери, Г-образный профиль 40x4 мм; 4 – врезной замок, оконная завертка и т. д.; 5 – стекло на замазке; 6 – пластмассовый профиль; 7 – стекло; 8 – листовая сталь; 9 – болт с потайной головкой М 6x10; 10 – углы скрепляются оконными угольниками; 11 – петля или шарнир

Современные теплицы и парники

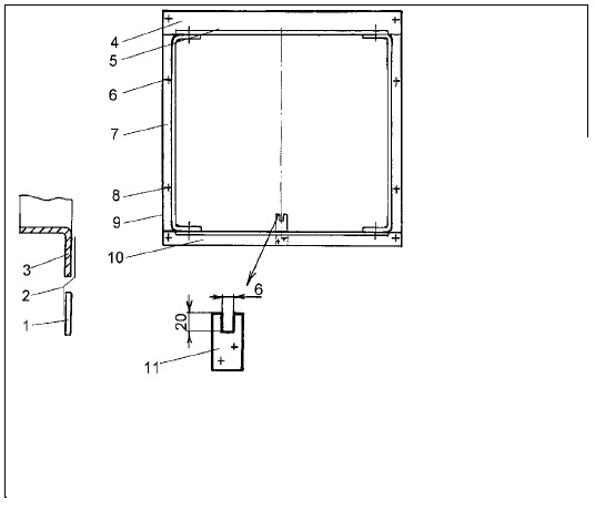
Рис. 30. Технология изготовления коробки для форточки в крыше и стене:

1 – стекло; 2 – вложенная полоска жести; 3 – профиль рамы; 4 – Г– образный профиль 60x30x3 мм, обработанный; 5 – шарнир для форточки; 6 – болт с потайной головкой М6x10; 7 – Г – образный профиль 30x3 мм, концы обработаны и согнуты; 8 – болт с потайной головкой М6x15; 9 – коробка кладется на замазку и скрепляется со шпросами болтами; 10 – Г– образный профиль 30x3 мм, обработанный; 11 – фиксатор, профиль 30x5 мм, длина 60 мм

Современные теплицы и парники

Рис. 31. Технология изготовления рамы форточки:

1 – шарнир; 2 – форточка, Т-образный профиль 40x20x4 мм, углы обработаны, рама согнута из одного куска профиля; 3 – стекло на замазке, штапики, упоры; 4 – болт с потайной головкой M6x 10; 5 – Г-образный профиль 40x20x3 мм; 6 – стекло на замазке; 7 – Т-образный профиль 40x20x4 мм; 8 – самоклеющийся уплотнитель; 9 – изображено без стекла; 10 – Г-образный профиль 25x4 мм, длина 30 см; 11– болт с шестигранной головкой M6x30 с шайбой, гайкой и контрагайкой; 12 – установочная планка, профиль 30x5 мм, изображена в укороченном виде; 13 – несколько зарубок; 14 – болт с потайной головкой M4x12; 15 – профиль 40x20x3 мм; 16 – стекло


Болты оцинкованы и снабжены шайбой с гайкой. В основном используются болты М6 с шестигранными и потайными головками, или болты с плоскими шестигранными головками. Отдельные отверстия в соединяемых деталях просверливают вместе, чтобы добиться их совместимости. Стальная конструкция может быть сварной. Сварная конструкция экономит время, труд, материал. Стальные конструкции можно полностью или частично заменить алюминиевым сплавом.

Современные теплицы и парники

Рис. 32. Цокольная шина


В целях экономии энергии в зимних теплицах, покрытие должно состоять из полых плит с внутренними ребрами жесткости.

Способы ускорения постройки

Облегчить и ускорить сооружение теплицы могут готовые оцинкованые двери, форточки, торцевые стенки, шпросы и другие мелкие детали. При использовании полых плит необходимо установить межцентровые расстояния между шпросами крыши и стенок. Торцы плит плотно закрываются с помощью уплотняющих профилей, самоклеющейся ленты, алюминиевой фольги. Чтобы сохранить тепло в теплице зимой, необходима замазка щелей. Очень удобна замазка, наносимая шприцем, которая обеспечивает свободное тепловое расширение стенок и металлических конструкций.

Современные теплицы и парники

Рис. 33. Полые плиты с внутренними ребрами жесткости:

1 – нижний алюминиевый профиль, шпрос 16; 2 – нащельная планка из ПВХ; 3 – нижний алюминиевый профиль, крайний шпрос 16


Для надежной фиксации стекла применяются штапики, упоры, зажимы. Вставлять стекла желательно целые, такие стекла обеспечивают необходимую герметичность.

Современные теплицы и парники

Рис. 35. S – образные крючки для фиксации стекол, установленных внахлест


Современные теплицы и парники

Рис. 34. Карнизная шина, выполненная как одно целое с приемным желобом для конденсации влаги

Как выбрать материал для остекления теплицы

В течении многих лет единственным материалом для покрытия теплиц было стекло. В настоящее время популярность приобрели пленочные покрытия.


К пленочным покрытиям относятся:

• полиэтиленовая пленка;

1 2 3 ... 70
Перейти на страницу:
  1. Жалоба
Отзывы - 0

Прочитали книгу? Предлагаем вам поделится своим впечатлением! Ваш отзыв будет полезен читателям, которые еще только собираются познакомиться с произведением.


Уважаемые читатели, слушатели и просто посетители нашей библиотеки! Просим Вас придерживаться определенных правил при комментировании литературных произведений.

Просьба отказаться от дискриминационных высказываний. Мы защищаем право наших читателей свободно выражать свою точку зрения. Вместе с тем мы не терпим агрессии. На сайте запрещено оставлять комментарий, который содержит унизительные высказывания или призывы к насилию по отношению к отдельным лицам или группам людей на основании их расы, этнического происхождения, вероисповедания, недееспособности, пола, возраста, статуса ветерана, касты или сексуальной ориентации. Просьба отказаться от оскорблений, угроз и запугиваний. Просьба отказаться от нецензурной лексики. Просьба вести себя максимально корректно как по отношению к авторам, так и по отношению к другим читателям и их комментариям.

Надеемся на Ваше понимание и благоразумие. С уважением, администратор My-Books.me.


Новые отзывы

  1. Александра Александра15 январь 09:37 Очень интересная книга! Особенно, если любишь психологию и хочешь понимать себя и других. Обязательно послушаю до конца. Спасибо.... Кригер Борис – Гнев
  2. Галина Галина25 май 13:02 Очень уважаю Артема Шейнина, книга замечательная, очень мне близкая по духу.Перечитываю уже второй раз, столько пережитого и не... Мне повезло вернуться - Артем Шейнин
  3. Екатерина Екатерина11 январь 08:05 Доброе утро. Подскажите пожалуйста как сохранять книги, ставить закладки?... Подонок - Анастасия Леманн
Все комметарии
Новинки бесплатной онлайн библиотеки