Лучшие рецепты спиртных напитков и самогона - Н. Е. Фомина
Книгу Лучшие рецепты спиртных напитков и самогона - Н. Е. Фомина читаем онлайн бесплатно и без регистрации! Читать онлайн вы можете не только на компьютере, но и на андроид (Android), iPhone и iPad. Наслаждайтесь!
228 0 22:52, 13-05-2019Книга Лучшие рецепты спиртных напитков и самогона - Н. Е. Фомина читать онлайн бесплатно без регистрации
Золотисто-оранжевый, или померанцевый, цвет самогон приобретает настаиванием на шафране и добавлением небольшого количества сока из ягод голубики или черники. Самогон можно настаивать также на померанцевой корке, корке недозревшего апельсина или перегородках грецкого ореха.
Желтые цвета можно получить, употребляя большее или меньшее количество шафрана. Желтый цвет получается также при настаивании с мелиссой, вероникой или мятой, а также листьями петрушки, хрена или сельдерея. Иногда самогон перегоняют вместе с шафраном. Полученную эссенцию можно хранить в темноте в плотно закупоренной бутылке.
Красный цвет самогона получают настаиванием сушеных ягод черники. Используют также смесь пищевой карминовой краски и винного камня (соотношение 6:1). Их размельчают до порошкообразного состояния и растворяют в горячей воде. Полученный раствор процеживают и добавляют к самогону.
Различные оттенки желтого, красного и фиолетового можно получить добавлением в самогон различных сортов варенья.
Алый цвет получается, если 4 г порошка пищевой краски и 4 г порошка очищенного винного камня сварить в 1,1 л воды. Дать отстояться, процедить через марлю и хранить для дальнейшего использования. Этим раствором можно подкрашивать самогон в алый цвет различных оттенков, в зависимости от количества красителя.
Бледно-синий цвет – процедить самогон через цветки бедренца (анис) или тысячелистника.
Голубой цвет получается при настаивании самогона на цветках васильков.
Фиолетовый цвет. Подкрашенный кармином самогон процедить через цветки бедренца или тысячелистника. Можно в подкрашенный кармином самогон добавить несколько капель густого отвара черники или сандала. А проще всего – настоять самогон на шелухе семян подсолнечника.
Зеленый цвет. 3–4 горсти кервеля мелко истолочь и, положив в тонкую ткань над воронкой, процедить через него самогон. Можно также настаивать самогон с листьями черной смородины, соком листьев петрушки, а также перьев лука. При использовании зеленого лука его следует перемыть, положить в горячую воду и вскипятить два раза. Затем переложить в холодную воду, отжать через ткань сок из перьев и варить его в серебряной разливной ложке до тех пор, пока объем сока не уменьшится вполовину. Так получится зеленая краска.
Светло-коричневый цвет. Для его получения необходимо перегонять брагу с корнем калгана.
Коричневый цвет. Растопить сахарный песок в медном тазике и держать на огне до тех пор, пока он не примет совершенно темный цвет. Полученную массу развести горячей водой или подогретым самогоном и хранить в стеклянной плотно закупоренной посуде.
Рекомендуется подкрашивание производить после подслащивания, чтобы не испортить потом цвет и прозрачность жидкости.
Для приготовления самогона необходим целый комплекс специального и вспомогательного оборудования: различные емкости, фляги, устройства для перегонки, фильтры, термометры, ареометры, различные другие приспособления. Условно все основное оборудование можно разделить на три группы:
1) приборы (аппараты) для перегонки;
2) измерительные приборы;
3) фильтры.
Стоит также обратить внимание на использование различных емкостей и тары.
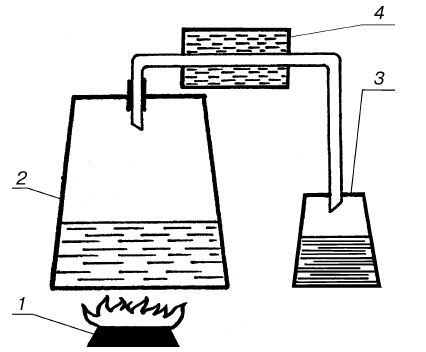
Принципиальная схема всех приборов для перегонки приведена на рисунке 1.
При закипании браги в баке (2) образуются спиртосодержащие пары, которые поступают по трубке в холодильник (4), в нем конденсируются и стекают в сборник (3).
Все приборы для перегонки основаны на нагревании спиртосодержащей жидкости. Нагревание – очень важная операция при приготовлении самогона, т. к. только от режима нагрева зависит качество продукта.

Рис. 1
В основном применяют нагревание пламенем газовой горелки (1). При этом температуру регулируют уменьшением или увеличением пламени или изменением расстояния от пламени до бака. Такой нагрев дает неравномерную температуру, вызывая быстрое повышение температуры нижних слоев браги. В результате пригорает осадок, очистить который потом довольно трудно.
Для нагрева лучше применять металлическую пластину, асбестовую плиту или электронагреватели закрытого типа – электроплиты и т. п. Один из простых способов равномерного нагрева – воздушная баня, для которой годится любая металлическая емкость соответствующих размеров. Часть дна у емкости вырезают, а отверстие покрывают асбестовой пластиной. На пластину ставят металлическую подставку на ножках – таким образом дно бака с брагой не будет соприкасаться с асбестовой пластиной. Нагреваемый воздух будет подниматься и обволакивать сосуд с брагой со всех сторон.
Для нагрева воздушной бани можно применять и электроприборы, а также использовать чугунки, наполненные песком. Нагревают их снизу, на газовой или электрической плите.
Во всех конструкциях перегонных аппаратов имеется холодильник. Лучше использовать холодильник с принудительным охлаждением – с непрерывно циркулирующей холодной водой. Он значительно эффективней и проще в эксплуатации. Воду обычно берут из водопровода. Если нет водопровода или конструкция аппарата не позволяет охлаждать циркулирующей водой, то воду в холодильнике необходимо менять, т. к. она нагревается и процесс конденсации спиртовых паров замедляется.
Обычно трубку внутри холодильника, по которой проходят спиртовые пары, изгибают в виде змеевика, тем самым увеличивая площадь охлаждения.
Каждый из предлагаемых ниже вариантов имеет свои преимущества и недостатки, поэтому каждую конструкцию можно рассматривать как набор взаимозаменяемых модулей; так что при выборе окончательного варианта самогонного аппарата целесообразно учитывать имеющиеся возможности использования готовых элементов (например, в качестве испарителя часто используют скороварку или эмалированный бачок).
Это самый простой аппарат (рис. 2). Собирается из подручных средств. Необходимо только подобрать кастрюлю (3), таз (4) и тарелку (2) соответствующих размеров. Таз с холодной водой используется как холодильник. Главное условие – чтобы на дне таза был выступ для скатывания сконденсированных капель самогона непосредственно в тарелку.

Рис. 2
Тарелка просто плавает на поверхности браги. В процессе перегонки самогон, собравшийся в тарелке, периодически сливают. Брагу можно нагревать также и песочной баней.
Прочитали книгу? Предлагаем вам поделится своим впечатлением! Ваш отзыв будет полезен читателям, которые еще только собираются познакомиться с произведением.
Уважаемые читатели, слушатели и просто посетители нашей библиотеки! Просим Вас придерживаться определенных правил при комментировании литературных произведений.
Просьба отказаться от дискриминационных высказываний. Мы защищаем право наших читателей свободно выражать свою точку зрения. Вместе с тем мы не терпим агрессии. На сайте запрещено оставлять комментарий, который содержит унизительные высказывания или призывы к насилию по отношению к отдельным лицам или группам людей на основании их расы, этнического происхождения, вероисповедания, недееспособности, пола, возраста, статуса ветерана, касты или сексуальной ориентации. Просьба отказаться от оскорблений, угроз и запугиваний. Просьба отказаться от нецензурной лексики. Просьба вести себя максимально корректно как по отношению к авторам, так и по отношению к другим читателям и их комментариям.
Надеемся на Ваше понимание и благоразумие. С уважением, администратор My-Books.me.
Оставить комментарий
-
Александра15 январь 09:37
Очень интересная книга! Особенно, если любишь психологию и хочешь понимать себя и других. Обязательно послушаю до конца. Спасибо....
Кригер Борис – Гнев
-
Галина25 май 13:02
Очень уважаю Артема Шейнина, книга замечательная, очень мне близкая по духу.Перечитываю уже второй раз, столько пережитого и не...
Мне повезло вернуться - Артем Шейнин
-
Екатерина11 январь 08:05
Доброе утро. Подскажите пожалуйста как сохранять книги, ставить закладки?...
Подонок - Анастасия Леманн