Лестницы и перила. Проектируем и строим - Галина Серикова
Книгу Лестницы и перила. Проектируем и строим - Галина Серикова читаем онлайн бесплатно и без регистрации! Читать онлайн вы можете не только на компьютере, но и на андроид (Android), iPhone и iPad. Наслаждайтесь!
168 0 19:31, 17-05-2019Книга Лестницы и перила. Проектируем и строим - Галина Серикова читать онлайн бесплатно без регистрации
Предположим, что от носка проступи балясину будут отделять 70 мм (стандарт диктует, что минимальный отступ балясины от края проступи составляет два радиуса калевки, т. е. 25 мм). Это расстояние и отмерьте от переднего ребра каждой проступи.
Поручень соответствующей длины поместите между угловыми стойками так, чтобы он касался носков ступеней, и перенесите на боковую грань поручня размеченные ранее отметки.
Переложите поручень на стол верхней стороной вниз и скопируйте отметки с боковой стороны на нижнюю. Это и будут точки крепления передних балясин.
Вторые балясины расположите точно между полученными отметками.
Снова положите поручень на лестницу и отметьте на проступях точки крепления промежуточных балясин.
О простейшей конструкции ограждения мы говорили выше, но обычно перила выполняются более сложными по форме и конструктивно. Крепление же балясин к поручню и тетивам или проступям можно выполнять непосредственно, но гораздо удобнее использовать для этого переходные детали, такие как рейки в поручень и подбалясенник. Этот прием работает и на косоурных лестницах. Использование подбалясенника позволяет придать ограждению необходимую пропорциональность, а также собирать его целыми секциями, что значительно ускоряет монтаж.
Сборка осуществляется в таком порядке (напомним, что предварительно проводится контрольный монтаж без применения клея):
• соедините тетивы с опорными стойками шкантами, посадив их на клей. Опорные стойки не будут скользить по полу, если насадить их на анкер, заранее установленный в полу;
• наложите на тетиву подбалясенник с выбранным пазом прямоугольного сечения (по размеру он должен совпадать с размером квадрата, который имеется на конце промежуточных балясин) и зафиксируйте его шурупами впотай;
• расставьте промежуточные балясины внизу в пазы подбалясенника, смазав их клеем, вверху – в пазы, выбранные в поручне. При этом не забудьте спилить балясины под углом, равным уклону лестницы. Чтобы не допустить ошибок, сначала подготовьте одну балясину, вставьте ее в пазы и проконтролируйте вертикальность. Если геометрические размеры не нарушены, используйте данную балясину в качестве шаблона для других подобных элементов лестницы. Размещая балясины, вставляйте внизу между ними брусок, сечение которого совпадает с сечением паза, а длина равна шагу между промежуточными балясинами, вверху – рейку в поручень;
• прикрепите поручень к опорной стойке металлическим уголком и зафиксируйте декоративными гайками.
На косоурной лестнице балясины имеют специально выполненные шипы, которыми они вставляются в выбранные гнезда в проступях и поручне. Под нижнюю опорную стойку в нижней проступи выполните вырез, а косоур соедините с ней шиповым соединением, усиленным клеем.
Лестницы различного назначения
В индивидуальном доме бывает нужно подняться на чердак, отремонтировать крышу, соединить террасу с лужайкой и т. д. Во всех случаях обойтись одной лестницей невозможно. Поэтому и изготавливаются разные по назначению и конструкции лестницы. Предлагаем некоторые, наиболее простые варианты, которые можно построить самостоятельно.
Высота этажа включает и толщину конструкции пола нижнего и верхнего этажа. Если первый выложен керамической плиткой, а второй – паркет, выполненный по лагам и черному полу из фанеры, то в расчет высоты этажа войдут толщина стяжки, слоя плиточного клея и плитки внизу и толщина лаг, фанеры и собственно паркета вверху.
Если во время строительства вы не учли возможность использования чердачного пространства в качестве дополнительной территории, то непременно столкнетесь с необходимостью организовать проход на чердак. Поскольку место для этого не было предусмотрено, придется выбрать складную конструкцию, которую можно убирать, когда надобность в ней отпадает.
Складные лестницы, которые продаются в магазинах, имеют разные эксплуатационные характеристики и сборку (бывают складными, телескопическими, откидными), изготавливаются из металла и дерева. Для них нужно обеспечить проем в перекрытии, подготовить крышку люка и т. д. Мы предлагаем простую конструкцию, которая, будучи сложенной, не займет много места, поскольку прислоняется к стене и удерживается обычным дверным крючком (рис. 69).
Данная конструкция имеет ряд отличительных особенностей:
• лестница имеет одну жестко зафиксированную дюбелями с шурупами (длина – 70 мм, диаметр – 6 мм) тетиву (пристенную), а другую – подвижную;
• проступи соединяются с тетивами карточными петлями.
Материалом для тетив и проступей служит строганая сосновая доска толщиной 30 мм. Ширина тетив составляет 200 мм, а длина определяется высотой помещения и уклоном лестницы.
Размер проступей – 500 × 120 × 30 мм.
Выполняя расчет лестницы, следует учесть несколько моментов:
• ширина проступей и шаг, с которым они будут крепиться к тетивам, зависят от уклона лестницы: чем угол наклона больше, тем уже получатся проступи;
• в сложенном виде между проступями необходимо предусмотреть зазор не менее 10 мм. Поэтому при разметке крепежа надо проявить точность;

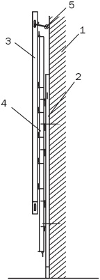
Рис. 69. Складная лестница в сложенном виде: 1 – стена; 2 – пристенная тетива; 3 – внешняя тетива; 4 – проступь; 5 – крючок
• для крепления карточных петель используйте шурупы диаметром 4 мм и длиной 25 мм;
• прежде чем собирать лестницу, приложите выкроенную пристенную тетиву в месте установки, чтобы скорректировать разметку;
• используйте пристенную тетиву в качестве шаблона для подвижной тетивы.
Конструкция лестницы представлена на рис. 70.

Рис. 70. Конструкция складной лестницы (размеры указаны в миллиметрах): 1 – пристенная тетива; 2 – внешняя тетива; 3 – проступь; 4 – карточные петли; 5 – кольцо для крючка
Если участок находится на склоне, совершенно необязательно полностью выравнивать, гораздо интереснее заложить на нем террасы, для соединения которых понадобятся лестницы (такую же лестницу можно построить и использовать в качестве входной, для спуска сад и пр.). Об одной из возможных конструкций и пойдет речь. После того как вы определитесь с тем, где установить лестницу, подсчитайте количество ступеней. При этом исходите из того, что лестница будет построена из стандартных бетонных плит (их количество зависит от высоты и числа ступеней, а также ширины лестницы, причем крупная плита должна будет подпирать откос, а меньшие – использоваться в качестве проступей), что существенно ускорит дело и облегчит работу, которую можно разделить на несколько этапов:
Прочитали книгу? Предлагаем вам поделится своим впечатлением! Ваш отзыв будет полезен читателям, которые еще только собираются познакомиться с произведением.
Уважаемые читатели, слушатели и просто посетители нашей библиотеки! Просим Вас придерживаться определенных правил при комментировании литературных произведений.
Просьба отказаться от дискриминационных высказываний. Мы защищаем право наших читателей свободно выражать свою точку зрения. Вместе с тем мы не терпим агрессии. На сайте запрещено оставлять комментарий, который содержит унизительные высказывания или призывы к насилию по отношению к отдельным лицам или группам людей на основании их расы, этнического происхождения, вероисповедания, недееспособности, пола, возраста, статуса ветерана, касты или сексуальной ориентации. Просьба отказаться от оскорблений, угроз и запугиваний. Просьба отказаться от нецензурной лексики. Просьба вести себя максимально корректно как по отношению к авторам, так и по отношению к другим читателям и их комментариям.
Надеемся на Ваше понимание и благоразумие. С уважением, администратор My-Books.me.
Оставить комментарий
-
Александра15 январь 09:37
Очень интересная книга! Особенно, если любишь психологию и хочешь понимать себя и других. Обязательно послушаю до конца. Спасибо....
Кригер Борис – Гнев
-
Галина25 май 13:02
Очень уважаю Артема Шейнина, книга замечательная, очень мне близкая по духу.Перечитываю уже второй раз, столько пережитого и не...
Мне повезло вернуться - Артем Шейнин
-
Екатерина11 январь 08:05
Доброе утро. Подскажите пожалуйста как сохранять книги, ставить закладки?...
Подонок - Анастасия Леманн