Благоустройство территории вокруг коттеджа - Юрий Казаков
Книгу Благоустройство территории вокруг коттеджа - Юрий Казаков читаем онлайн бесплатно и без регистрации! Читать онлайн вы можете не только на компьютере, но и на андроид (Android), iPhone и iPad. Наслаждайтесь!
192 0 09:13, 25-05-2019Книга Благоустройство территории вокруг коттеджа - Юрий Казаков читать онлайн бесплатно без регистрации
Из арболита можно возводить монолитные стены, используя съемные и скользящие опалубки высотой 1-1,2 м. Можно изготовить опалубки из асбестоцементных листов или шифера и смазать их внутренние поверхности известковым молоком. На фундамент или на готовую часть стены устанавливают листы опалубки на стяжных болтах со стяжными брусьями. Верхние края листов соединяют между собой распорками и закрепляют в вертикальном положении укосинами. Подготовленную массу укладывают в опалубку слоями высотой не более 50 см, каждый слой утрамбовывают.
В теплое время года на застывание арболита уходит двое-трое суток, в холодное – около недели. Снимая опалубку, болты осторожно выкручивают, чтобы не повредить стену. Вертикальные швы между соседними участками стены выполняют в виде шпунтовых соединений.
Стены бань могут быть и каркасными. Данная технология позволяет использовать любые строительные материалы. На фундамент ставят каркас стен или целиком бани, а крышу и фундамент обшивают снаружи и изнутри. Полости наполняют теплоизоляционным материалом.
Покрытие бани делается с чердаком (рис. 4.24) или без него (рис. 4.25). Выполняя чердачные перекрытия, к щитам наката снизу прикрепляют потолок. Балки перекрытий чаще всего производятся из древесины хвойных пород. Потолок как в чердачном, так и в бесчердачном покрытии можно изготовить из любого материала с низкой теплопроводностью, лучше всего – из дерева с низким содержанием смолы. Можно сделать его панельным, настильным или подшивным.

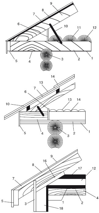
Рис. 4.24. Чердачное покрытие крыши: 1 – пароизоляция; 2 – обшивка потолка; 3 – верхняя обвязка стен; 4 – балка чердачного перекрытия; 5 – карнизная доска; 6 – доска перегородки; 7 – водоизолирующий слой; 8 – настил из досок; 9 – стропила; 10 – скоба; 11 – покрытие утеплителя из горбыля; 12 – утепляющая засыпка; 13 – шифер; 14 – обрешетка крыши; 15 – покрытие утеплителя из шифера; 16 – подстропильный брус; 17 – покрытие утеплителя из несгораемых плит; 18 – обшивка стен

Рис. 4.25. Бесчердачные крыши: а – односкатная панельная крыша; б – двускатная панельная крыша: 1 – каркас панели перекрытия; 2 – нижняя обшивка из досок; 3 – пароизоляция; 4 – верхняя обшивка; 5 – водоизоляция; 6 – утеплитель; 7 – теплоизолирующая прокладка; 8 – стеновая панель; 9 – связующие доски; 10 – карниз; 11 – промежуточный брус каркаса; 12 – стойка; 13 – коньковый брус-низ; 14 – коньковый брус-верх; 15 – кровельная сталь (жесть)
Крыша бани выполняется односкатной или двускатной. Уклон рассчитывается с учетом нагрузки возможного снежного покрова. Типовые решения можно найти в СНиП 2.01.01-82 «Строительная климатология». Без расчета допускается использовать балки и несущие стропила сечением 50×150 мм, если длина пролета составляет не более 3 м. Главный несущий элемент скатных крыш – стропила. От количества пролетов в крыше и ее величины зависит вид стропил. Все элементы висячих стропил должны быть прочно соединены между собой, так как эта конструкция опирается лишь на две крайние опоры. Для стропил применяются брусья из просушенной, хорошего качества древесины хвойных пород. Дощатые стропила крепят гвоздями.
Что касается вида покрытия, то выбор достаточно широк и зависит от разных факторов, в первую очередь, от района строительства (климат диктует мощность теплоизоляции), от уклона крыши и от финансовых возможностей. Для покрытия крыши применяются кровельная сталь, толь, рубероид, асбестоцементные плитки, шифер.
Из перечисленных материалов оптимальным вариантом является листовая сталь толщиной 0,5-1 мм, оцинкованная или без покрытия (черная), хотя она достаточно дорога и сложна в изготовлении.
Основные достоинства металлической кровли – возможность использования в конструкциях сложных геометрических форм, легкость, пожаробезопасность и долговечность, причем оцинкованная сталь долговечнее черной и при надлежащем уходе служит 25-30 лет.
Минимальный угол наклона металлической крыши – 20°.
Основанием под нее являются обрешетка из брусков сечением 50×50 мм или доски толщиной не менее 5 мм. Максимальное расстояние между брусками или досками – 200 мм.
Под лежачие (горизонтальные) фальцы укладывают доски шириной не менее 100-120 мм. При длине листа 1420 мм расстояние между лежачими фальцами – 1370-1400 мм. Иногда под стальную кровлю кладут сплошную обрешетку с настилом из рубероида. Этот материал впитывает водяные пары, проникающие через чердачное перекрытие, и защищает сталь от ржавчины.
После завершения монтажа стальную кровлю покрывают масляной краской. В ходе эксплуатации с поверхности кровли следует регулярно удалять пыль и грязь, которые задерживают влагу и вследствие этого вызывают коррозию. При нагревании солнечными лучами стальная кровля и нанесенная на нее краска расширяются неравномерно. Из-за этого слой краски постепенно растрескивается, в трещины попадает влага, и сталь начинает ржаветь. При обнаружении участков с потрескавшейся краской необходимо не откладывая в долгий ящик зачистить поврежденные места мягкой стальной щеткой, удалить грязь и закрасить их масляной краской в один или два слоя.
Кстати, при настиле крыши стальными листами, ее последующей окраске и ремонте надевайте обувь на резиновой подошве: она не скользит по кровле и не наносит ей вреда. Во время работ для собственной безопасности привязывайтесь крепкой веревкой за стропила, используйте переносные стремянки-трапы, которые следует зацеплять за обрешетку с помощью крючков.
Профнастил – профильные листы из оцинкованной стали – наиболее популярный вариант стального кровельного покрытия. Различают три типа профиля кровельных листов: трапецеидальный, коробчатый и волнистый.
Кровлю из профнастила монтируют следующим образом. Листы накладывают с напуском. В поперечном направлении достаточно напуска в 5-12 см, а в продольном – 12-20 см. К деревянным балкам профнастил крепят винтовыми гвоздями с пластиковыми колпачками и резиновыми шайбами. К металлическим стропилам листы прикручивают болтами с головкой-крюком. Конек кровли покрывают специальным профилированным колпаком из листовой стали. Отверстия для болтов или шурупов делают с запасом, чтобы компенсировать температурные деформации.
Еще один весьма распространенный в кровельном деле материал – асбестоцементные волнистые листы, то есть обычный шифер (рис. 4.26). Шиферная крыша получается легкой, долговечной и недорогой, к тому же она не требует ухода. Этот материал лучше всего подходит для крыш с уклоном от 20 до 45°.
Прочитали книгу? Предлагаем вам поделится своим впечатлением! Ваш отзыв будет полезен читателям, которые еще только собираются познакомиться с произведением.
Уважаемые читатели, слушатели и просто посетители нашей библиотеки! Просим Вас придерживаться определенных правил при комментировании литературных произведений.
Просьба отказаться от дискриминационных высказываний. Мы защищаем право наших читателей свободно выражать свою точку зрения. Вместе с тем мы не терпим агрессии. На сайте запрещено оставлять комментарий, который содержит унизительные высказывания или призывы к насилию по отношению к отдельным лицам или группам людей на основании их расы, этнического происхождения, вероисповедания, недееспособности, пола, возраста, статуса ветерана, касты или сексуальной ориентации. Просьба отказаться от оскорблений, угроз и запугиваний. Просьба отказаться от нецензурной лексики. Просьба вести себя максимально корректно как по отношению к авторам, так и по отношению к другим читателям и их комментариям.
Надеемся на Ваше понимание и благоразумие. С уважением, администратор My-Books.me.
Оставить комментарий
-
Александра15 январь 09:37
Очень интересная книга! Особенно, если любишь психологию и хочешь понимать себя и других. Обязательно послушаю до конца. Спасибо....
Кригер Борис – Гнев
-
Галина25 май 13:02
Очень уважаю Артема Шейнина, книга замечательная, очень мне близкая по духу.Перечитываю уже второй раз, столько пережитого и не...
Мне повезло вернуться - Артем Шейнин
-
Екатерина11 январь 08:05
Доброе утро. Подскажите пожалуйста как сохранять книги, ставить закладки?...
Подонок - Анастасия Леманн