» » » Корни китайского цигун. Секреты успешной практики - Ян Цзюньмин

Корни китайского цигун. Секреты успешной практики - Ян Цзюньмин

Книгу Корни китайского цигун. Секреты успешной практики - Ян Цзюньмин читаем онлайн бесплатно и без регистрации! Читать онлайн вы можете не только на компьютере, но и на андроид (Android), iPhone и iPad. Наслаждайтесь!

513 0 18:17, 25-05-2019
Корни китайского цигун. Секреты успешной практики - Ян Цзюньмин
25 май 2019
Автор: Ян Цзюньмин Жанр: Книги / Домашняя Год публикации: 2007 Возрастные ограничения: (18+) Внимание! Аудиокнига может содержать контент только для совершеннолетних.
+2 2

Книга Корни китайского цигун. Секреты успешной практики - Ян Цзюньмин читать онлайн бесплатно без регистрации

Известный мастер китайских боевых искусств и оздоровительных практик подробно рассказывает об истории древнего искусства цигун, о его основных направлениях и методах и о трех «корнях» — энергиях ци, цзин и шэнь. Это самое фундаментальное и систематизированное введение в цигун, которое когда-либо издавалось на русском языке. Книгу Ян Цзюньмина можно назвать «академической», при этом она написана очень доступно и увлекательно. Автор обсуждает современные гипотезы о природе энергии ци и приводит список вопросов, ответы на которые пока еще не найдены. Читатель, занимающийся любым стилем цигун, найдет в книге множество практических указаний о регулировании тела, дыхания и «трех корней», о самых распространенных ошибках и способах их исправления, а также подробное объяснение теории главных и «чудесных» меридианов ци (с описанием их траекторий и полными списками всех активных точек). «Корни китайского цигун» — незаменимое пособие для всех, кто интересуется китайской метафизикой и ее практическими аспектами: цигун, боевыми искусствами, массажем, целительством.
1 ... 18 19 20 21 22 23 24 25 26 ... 103
Перейти на страницу:

Несмотря на то что связь между теорией телесного электричества и китайской теорией ци становится все более общепринятой и доказательной, все же остается немало вопросов, ожидающих своего ответа. Например, каким образом разум может направлять ци (электричество)? Как разуму удается генерировать ЭМС (электромагнитную силу), управляющую движением электричества внутри организма? Какое влияние на электромагнитное поле человека оказывает множество других электрических полей, окружающих нас в жизни и образующихся в результате радио и телевизионных волн, наличия большого количества электроприборов и электропроводки? Наконец, в состоянии ли мы перенастроить наше электромагнитное поле для того, чтобы выжить в открытом космосе или на других планетах, где электромагнитное поле абсолютно отличается от земного? Уже из этих нескольких вопросов видно, насколько захватывающим и интересным может оказаться будущее цигун и биоэлектрических исследований. Сейчас самое время использовать современные технологии для того, чтобы разобраться в мире внутренней энергии, до сих пор игнорируемом западным обществом.


4-3. Некоторые гипотезы


Есть несколько вопросов, которые уже многие годы ставят в тупик цигунистов и иглоукалывателей. Если ци — то же самое, что сейчас называют биоэлектричеством, которое западные медики только-только начали открывать, тогда можно сделать некоторые логические выводы и гипотезы, способные предложить убедительные объяснения многих из этих загадок. В этом разделе я попытаюсь, основываясь на моем личном понимании, связать воедино эти аспекты восточной и западной научной мысли. В частности, мне хотелось бы поднять некоторые вопросы и очертить некоторые гипотезы, относящиеся, например, к тому, каким образом человеческое тело может реагировать на внешние электромагнитные поля (скажем, на поле Земли) и подвергаться влиянию последних. Надеюсь, что этот раздел даст вам новую пищу для размышлений, а также поможет более консервативным поклонникам цигун принять точку зрения новой науки и участвовать в будущих дискуссиях по этому вопросу.


1. Электромагнитное поле в организме человека

а. Как образуется электромагнитное поле человека?

Поскольку все мы — и люди, и остальные живые организмы — формируемся и живем в магнитном поле Земли, наши тела также обладают собственным магнитным полем. Магнитное поле нашего тела всегда соответствует полю Земли и находится под его влиянием. Современная наука доказала, что магнитное и электрическое поля неразделимы и в действительности представляют собой две формы одной и той же силы. Поэтому там, где присутствует одно поле, всегда есть и другое. Следовательно, этот тип энергетического поля называют электромагнитным.

Если сталь поместить внутри магнитного поля, она становится магнитом (рис. 4–1).


Корни китайского цигун. Секреты успешной практики

Рис. 4–1. Сталь, помещенная в магнитное поле, сама становится магнитом.


Если вспомнить, что наши тела созданы из тканей, обладающих проводимостью, а также то, что мы находимся в магнитном поле Земли, то можно вполне обоснованно предположить, что наши тела подобны магниту. Поскольку магнит имеет два полюса, которые всегда располагаются вдоль осевой линии самого магнита, мы можем с легкостью предположить, что соответствующие полюса нашего тела должны располагаться где-то в районе головы и нижней части брюшной полости. Итак, первая наша задача состоит в том, чтобы отыскать полюса человеческого магнита.

Но прежде чем мы продолжим, давайте рассмотрим некоторые понятия, имеющие отношение к магнитному полю Земли. Во-первых, вы должны уяснить разницу между четырьмя терминами, которые часто ошибочно путают:

1. Северный и южный полюса магнита.

2. Северный и Южный магнитные полюса Земли.

3. Географические Северный и Южный полюса Земли.

4. Действительные Северный и Южный полюса Земли как магнита.

Каждый знает, что Земля обладает собственным магнитным полем. Если мы расположим узкую полоску магнита в магнитном поле Земли, то он направится вдоль линий собственного поля планеты. При этом «северным» полюсом этого магнита является «направленный к северу полюс», указывающий на Север магнитного поля Земли, который называется Северным Полюсом (рис. 4–2). Естественно, полюс магнита, указывающий на юг, будет «южным полюсом». Следовательно, полюса магнита определяются в соответствии с направлениями, на которые они указывают, находясь внутри магнитного поля Земли.


Корни китайского цигун. Секреты успешной практики

Рис. 4–2. Магнитное поле Земли.


Кроме того, мы определили тот полюс Земли, на который указывает северный полюс магнита, как «Северный магнитный полюс», соответственно, противоположный полюс будет «Южным магнитным полюсом Земли». Строго говоря, это значит, что для облегчения навигационного ориентирования и просто для удобства люди договорились во всех случаях считать Северный магнитный полюс Земли совпадающим с Северным географическим полюсом Земли (хотя в действительности географические полюса не точно совпадают с магнитными) (рис. 4–2).

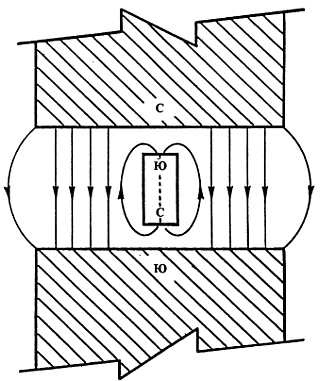
Мы до сих пор не знаем, каким образом сформировалось магнитное поле Земли. Наиболее приемлемое объяснение состоит в наличии электрического тока, циркулирующего либо глубоко под землей, либо в верхних слоях атмосферы, либо и там и там. Не известно также, каким образом магнитные полюса оказались настолько близки к полюсам географическим. Мы также знаем, что магнитное поле Земли начинается у Южного географического полюса и заканчивается у Северного географического полюса по крайней мере на протяжении последнего миллиона лет (хотя есть неопровержимые доказательства того, что на протяжении последних нескольких миллионов лет магнитные полюса Земли неоднократно менялись местами)[10]. Это вступает в противоречие с нашим пониманием того, как должно выглядеть магнитное поле брускового магнита, поскольку силовые линии снаружи магнита начинаются у северного полюса и заканчиваются у южного, в то время как силовые линии внутри магнита идут от южного полюса к северному (рис. 4–3).


Корни китайского цигун. Секреты успешной практики

Рис. 4–3. Магнитное поле магнита.


Следовательно, то, что мы по привычке называем Северным магнитным полюсом Земли, на самом деле является Южным полюсом магнитного поля Земли. Другими словами, в действительности магнитные поля планеты диаметрально противоположны тем, что указаны на навигационных картах (рис. 4–2).

1 ... 18 19 20 21 22 23 24 25 26 ... 103
Перейти на страницу:
  1. Жалоба
Отзывы - 0

Прочитали книгу? Предлагаем вам поделится своим впечатлением! Ваш отзыв будет полезен читателям, которые еще только собираются познакомиться с произведением.


Уважаемые читатели, слушатели и просто посетители нашей библиотеки! Просим Вас придерживаться определенных правил при комментировании литературных произведений.

Просьба отказаться от дискриминационных высказываний. Мы защищаем право наших читателей свободно выражать свою точку зрения. Вместе с тем мы не терпим агрессии. На сайте запрещено оставлять комментарий, который содержит унизительные высказывания или призывы к насилию по отношению к отдельным лицам или группам людей на основании их расы, этнического происхождения, вероисповедания, недееспособности, пола, возраста, статуса ветерана, касты или сексуальной ориентации. Просьба отказаться от оскорблений, угроз и запугиваний. Просьба отказаться от нецензурной лексики. Просьба вести себя максимально корректно как по отношению к авторам, так и по отношению к другим читателям и их комментариям.

Надеемся на Ваше понимание и благоразумие. С уважением, администратор My-Books.me.


Новые отзывы

  1. Александра Александра15 январь 09:37 Очень интересная книга! Особенно, если любишь психологию и хочешь понимать себя и других. Обязательно послушаю до конца. Спасибо.... Кригер Борис – Гнев
  2. Галина Галина25 май 13:02 Очень уважаю Артема Шейнина, книга замечательная, очень мне близкая по духу.Перечитываю уже второй раз, столько пережитого и не... Мне повезло вернуться - Артем Шейнин
  3. Екатерина Екатерина11 январь 08:05 Доброе утро. Подскажите пожалуйста как сохранять книги, ставить закладки?... Подонок - Анастасия Леманн
Все комметарии
Новинки бесплатной онлайн библиотеки