Лестницы и перила. Проектируем и строим - Галина Серикова
Книгу Лестницы и перила. Проектируем и строим - Галина Серикова читаем онлайн бесплатно и без регистрации! Читать онлайн вы можете не только на компьютере, но и на андроид (Android), iPhone и iPad. Наслаждайтесь!
156 0 19:31, 17-05-2019Книга Лестницы и перила. Проектируем и строим - Галина Серикова читать онлайн бесплатно без регистрации
• с трубы и сгона снимите фаску. Данную операцию ни в коем случае нельзя пропускать, иначе сварной шов останется без обработки (т. е. с наплывами), что создаст проблемы при нанизывании ступеней – придется надевать их с противоположного конца трубы;
• сварите обе детали. В процессе надо контролировать их соосность, т. е. не допускать, чтобы сгон завалился набок. Учитывая, что при сварке невозможно удерживать сгон руками, следует, например, насадить обе детали на палку и прихватить, после чего убрать сгон и выполнить весь шов.
Необходимо позаботиться о предотвращении скольжения на ступенях винтовой лестницы, например покрыв проступи ковролином. Для этого с помощью фрезы на ступенях выбирается древесина и в образовавшееся углубление наклеивается какой-либо материал.
Лестница считается законченной, когда она достигла верхнего этажа и установлена стойка ограждения, место под которую совпадает с центральной опорой. В связи с этим взамен муфты на резьбу накручивается еще одна труба (она называется обжимной), одновременно играющая роль муфты и стойки ограждения. Более того, если нижний опорный узел недостаточно прочен, эта труба становится элементом верхнего узла крепления всей конструкции. Для соединения верхней части лестницы с ограждением проема к трубе прикрепляется деревянная пластина, которая становится не только поручнем ограждения, но и связью верхнего узла крепления лестницы.
Обжимная труба должна иметь на нижнем конце внутреннюю резьбу, если изготавливается из той же трубы, что и гильзы (о них будет сказано ниже), или внешнюю резьбу при использовании трубы, аналогичной обсадной. В этом случае соединение осуществляется через сантехническую муфту.
Помимо стальной обсадной и обжимной труб, у винтовой лестницы есть другие металлические детали – опорные гильзы.
Они должны иметь определенную высоту, которая зависит от того, погружен ли узел в конструкцию пола или же он находится на его поверхности. Предпочтительнее сделать гильзы соответствующей высоты, и если ошибиться – то лучше в сторону ее уменьшения. Если гильза будет ниже, чем требуется, тогда высоту, которая равна подъему ступеней, можно компенсировать шайбами; если же гильза получится выше, чем нужно, то подкорректировать вертикальный шаг ступеней не удастся. Общая высота гильз и шайб должна примерно на 1–2 мм превышать высоту вертикального шага ступеней, чтобы при обжиме лестницы шайбы немного смяли древесину, углубившись в нее. Это позволит сделать соединение более плотным, а также повысит прочность ступеней и лестницы вообще.
Диаметр гильз должен быть таким, чтобы обсадная труба вошла в нее внатяг, без зазора. Например, хорошо совмещаются толстостенная труба с внешним диаметром 50 мм с трубой диаметром 57 мм и толщиной стенок 3–3,5 мм.
Кроме нижней (ее размер зависит от особенностей места крепления опоры к полу и высоты, на которой будет установлена нижняя ступень), все гильзы должны быть одинаковыми. Перед монтажом лестницы их надо каким-либо образом отделать – хромировать, окрасить и т. п. Регулировочные шайбы можно выточить на токарном станке или заменить их сантехническими фланцами.
Вверху лестница фиксируется одним из двух способов:
• посредством напуска площадки на перекрытие и жесткого их соединения;
• путем жесткого прикрепления к обжимной трубе поручня ограждения.
После того как все подготовительные работы закончены, винтовую лестницу надо смонтировать, причем сборка должна быть, так сказать, примерочной, что позволит выявить погрешности и недочеты и исправить их. Предварительная сборка проходит в следующем порядке (рис. 41):
• установите нижний опорный узел;
• вставьте в него центральную опору;
• наденьте на стойку гильзы, шайбы, ступени;
• расположите ступени по кругу;
• примерьте стойки ограждения;
• разметьте отверстия под болты для крепления балясин и просверлите их.
При фиксации поручня к балясинам винтовой лестницы он может не поддаваться изгибанию. Чтобы исправить ситуацию, оберните его сначала мокрой тканью, потом полиэтиленовой пленкой и выдержите не менее суток, после чего попробуйте еще раз прикрепить его к балясинам. Предполагая такое развитие событий, при склеивании шпона используйте водостойкий клей.
После того как станет понятно, удалось ли избежать ошибок при проектировании лестницы и изготовлении ее элементов, разберите конструкцию и подготовьте к отделке, которая может заключаться в шлифовке деревянных деталей, их окрашивании или лакировании. Металлическим деталям тоже должен быть придан соответствующий вид.

Рис. 41. Монтаж винтовой лестницы: а – общий вид; б – процесс сборки; 1 – нижний опорный узел; 2 – обсадная труба; 3 – шайба; 4 – гильза; 5 – обжимная труба; 6 – поручень; 7 – болт; 8 – декоративная заглушка
Останется только окончательно собрать лестницу и установить поручень. Самый простой вариант – приобрести поручень из поливинилхлорида и придать ему необходимую форму с помощью строительного фена. Самый элегантный – изготовить гнутый деревянный поручень, тем более что уже есть опыт, полученный при создании обрамления для круглого лестничного проема. Хотя сложности будут, поскольку поручень должен быть изогнут не только в горизонтальной плоскости – ему надо придать уклон, характерный для лестницы.
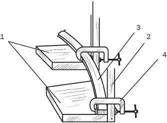
Для того чтобы не допустить ошибку, склеивать полосы шпона и изгибать поручень следует непосредственно на лестнице, покрыв ее полиэтиленовой пленкой, чтобы не закапать клеем. Порядок работы такой (рис. 42):
• смажьте шпон клеем;
• скомпонуйте заготовки в пакет;
• уложите на ступени;
• притяните будущий поручень струбцинами к стойкам, не пропуская ни одну из них;
• на участках между струбцинами стяните поручень шпагатом;
• оставьте поручень до высыхания, после чего снимите струбцины и шпагат.
В процессе работы обязательно соблюдайте следующие условия:
• действуйте быстро и аккуратно, не допуская высыхания клея, иначе полосы шпона изогнутся неравномерно и сдвинутся;
• под зажимы струбцин подкладывайте, например, фанеру, чтобы не повредить древесину;
• во избежание необходимости отделывать поручень, придайте ему прямоугольное сечение с заоваленными ребрами;

Рис. 42. Изготовление поручня: 1 – ступени; 2 – стойка ограждения; 3 – поручень; 4 – струбцина
• если трудно единовременно выполнить весь поручень, разделите его на отдельные сегменты, которые потом сплотите на балясинах;
Прочитали книгу? Предлагаем вам поделится своим впечатлением! Ваш отзыв будет полезен читателям, которые еще только собираются познакомиться с произведением.
Уважаемые читатели, слушатели и просто посетители нашей библиотеки! Просим Вас придерживаться определенных правил при комментировании литературных произведений.
Просьба отказаться от дискриминационных высказываний. Мы защищаем право наших читателей свободно выражать свою точку зрения. Вместе с тем мы не терпим агрессии. На сайте запрещено оставлять комментарий, который содержит унизительные высказывания или призывы к насилию по отношению к отдельным лицам или группам людей на основании их расы, этнического происхождения, вероисповедания, недееспособности, пола, возраста, статуса ветерана, касты или сексуальной ориентации. Просьба отказаться от оскорблений, угроз и запугиваний. Просьба отказаться от нецензурной лексики. Просьба вести себя максимально корректно как по отношению к авторам, так и по отношению к другим читателям и их комментариям.
Надеемся на Ваше понимание и благоразумие. С уважением, администратор My-Books.me.
Оставить комментарий
-
Александра15 январь 09:37
Очень интересная книга! Особенно, если любишь психологию и хочешь понимать себя и других. Обязательно послушаю до конца. Спасибо....
Кригер Борис – Гнев
-
Галина25 май 13:02
Очень уважаю Артема Шейнина, книга замечательная, очень мне близкая по духу.Перечитываю уже второй раз, столько пережитого и не...
Мне повезло вернуться - Артем Шейнин
-
Екатерина11 январь 08:05
Доброе утро. Подскажите пожалуйста как сохранять книги, ставить закладки?...
Подонок - Анастасия Леманн