Печи для бань и саун своими руками - С. Калюжный
Книгу Печи для бань и саун своими руками - С. Калюжный читаем онлайн бесплатно и без регистрации! Читать онлайн вы можете не только на компьютере, но и на андроид (Android), iPhone и iPad. Наслаждайтесь!
159 0 16:25, 13-05-2019Книга Печи для бань и саун своими руками - С. Калюжный читать онлайн бесплатно без регистрации
Совет мастера
Для оштукатуривания печи подойдут растворы следующих составов — гипс: известь: песок (2: 2: 1); глина: известь: песок (1: 1: 3); глина: цемент: песок (1: 1: 3); глина: песок (1: 2). Независимо от выбора раствора, в него рекомендуется добавить 0,1–0,2 части асбеста.
Для обогрева бани часто применяют такие газовоздушные отопительные приборы, как калориферы, конвекторы, работающие на сжиженном или природном газе и имеющие патрубок для вывода продуктов сгорания в дымоход. Необходимо, чтобы в дымоходе была встроена стальная коробка с камнями для получения пара. Но нужно учитывать, что температура нагрева камней будет невысокой (не более 200 °C). Для получения сухого пара с высокой температурой чаще всего ставят обычные печи-каменки, в топливнике которых монтируются газовые горелки с инжекторами и воздухораспределителями.
Газ считается наиболее опасным топливом. Он может стать причиной возникновения пожара, взрыва и отравления. При его использовании возможно накопление в топке взрывчатой смеси газа с воздухом при потушенном пламени, проникновение в помещение продуктов горения, содержащих повышенное количество угарного газа. Поэтому к таким печам, работающим на газе, предъявляются повышенные требования.
Для топки печей-каменок рекомендуется использовать жидкое топливо, которое без труда можно транспортировать и хранить в канистрах, бидонах или другой закрытой таре. Для топки печей разрешено применять нефтепродукты с высокой температурой вспышки: печное дистиллированное топливо, дизельное топливо, керосин, мазут. От температуры вспышки зависит состояние топлива в момент массового выделения паров, которые могут вспыхнуть при наличии пламени. Чем выше температура вспышки, тем сложнее воспламеняется топливо, следовательно, оно становится более безопасным.
Горение жидкого топлива заключается в нескольких этапах: распыления, смешения с воздухом, нагрева, испарения и окисления. В промышленных установках, где наблюдается большой расход топлива, его распыление осуществляется с помощью форсунок.
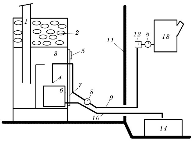
В бытовых печах, в том числе в печах-каменках, используют способ разбрызгивания при ударе капель о дно горелки (рис. 23).

Рис. 23. Схема использования горелки с разбрызгиванием топлива: 1 — дымоходная труба; 2 — камни;3 — топливник печи; 4 — капельница; 5 — глазок;6 — стакан горелки; 7 — дверка топливника; 8 — вентили; 9 — трубка для подачи топлива; 10 — переливная трубка; 11 — стена помещения; 12 — фильтр;13 — топливный бак; 14 — сливной бак
Горелка представляет собой металлический стакан с капельницей, расположенной над ним. Лучше всего подойдет отслуживший поршень двигателя, изготовленный из жаропрочного чугуна или стали. Тонкостенные стаканы склонны к быстрому прогоранию.
Капельница должна располагаться на такой высоте, чтобы удобно было следить за тем, как стекает топливо. С помощью трубки капельница сообщается с топливным баком, расположенным вне помещения бани.
На трубке монтируется фильтр и два вентиля. Один необходимо установить у бака после фильтра, он будет использоваться для его отключения. А второй вентиль следует расположить у печи, он будет нужен для регулирования расхода топлива. Нижняя часть стакана с помощью переливной трубки сообщается со сливным баком, который также находится вне банного помещения.
Скорость и полнота горения топлива зависят от степени нагрева стакана: чем выше его температура, тем быстрее происходит испарение топлива и практически полностью сгорают его пары. Для достижения большей полноты сгорания топлива рекомендуется в боковой стенке стакана просверлить отверстия для подачи воздуха.
Также можно наполовину заполнить стакан кусками металла или камня, благодаря которым будет осуществляться предварительный нагрев воздуха и наиболее равномерное смешение его с парами топлива.
В целом печи-каменки, функционирующие на газообразном и жидком топливе, имеют довольно сложную конструкцию.
Для того чтобы самостоятельно обустроить их, необходимо специальное оборудование и определенный опыт, а также не менее важно иметь механизмы для регулирования подачи топлива и защиты от перегрева.
В бани, оборудованные такими печами, проникает определенное количество газообразных компонентов топлива, из-за чего образуются посторонние запахи.
Поэтому в индивидуальных банях рекомендуется использовать печи-каменки, работающие на твердом топливе — дровах, реже — на угле.
Одними из наиболее удобных для использования являются печи-каменки постоянного действия с электрическим нагревом. Мощность такой печи зависит от объема парилки, качества теплоизоляции ее стен и температуры в помещении.
Самая простая электрическая печь-каменка является электропечью закрытого типа. На ней располагается металлическая коробка с камнями. Если мощности данной печи не хватает, чтобы хорошо нагреть воздух, то рекомендуется воспользоваться второй электропечью закрытого типа, закрепив на нее крупный кусок металла для улучшения отвода тепла.
В электрокаменках заводского производства нагрев камней происходит благодаря трубчатым электронагревателям, которые снизу входят в толщу каменной засыпки.
Наиболее приемлемыми считаются электрокаменки, в которых вентиляционный воздух не проникает через насыпь камней, а свободно обтекает каменную засыпку между двумя кожухами. Нагрев воздуха при использовании таких каменок происходит с помощью дополнительных электронагревателей.
Нагрев камней при этом достигает 350–450 °C, а температура воздуха доходит до 100–120 °C. За счет увеличения количества камней в засыпке повышается запас накапливаемого ими тепла для получения пара.
Способ мягкого нагрева представляет собой систему раздельного нагрева каменной засыпки и воздуха с регулированием массы камней.
Ее преимуществом является отсутствие контакта воздуха с раскаленными камнями и нагревателями. Поэтому не возникает неприятного запаха, а также не происходит выгорание кислорода воздуха.
Совет мастера
С целью обеспечения удобства обслуживания электрокаменки такая печь должна быть оборудована регуляторами и ограничителями температуры, которые смогут выключить нагреватели при достижении температуры воздуха заданного предела. Кроме того, рекомендуется использовать реле времени для отключения нагревателей через заданное время.
Прочитали книгу? Предлагаем вам поделится своим впечатлением! Ваш отзыв будет полезен читателям, которые еще только собираются познакомиться с произведением.
Уважаемые читатели, слушатели и просто посетители нашей библиотеки! Просим Вас придерживаться определенных правил при комментировании литературных произведений.
Просьба отказаться от дискриминационных высказываний. Мы защищаем право наших читателей свободно выражать свою точку зрения. Вместе с тем мы не терпим агрессии. На сайте запрещено оставлять комментарий, который содержит унизительные высказывания или призывы к насилию по отношению к отдельным лицам или группам людей на основании их расы, этнического происхождения, вероисповедания, недееспособности, пола, возраста, статуса ветерана, касты или сексуальной ориентации. Просьба отказаться от оскорблений, угроз и запугиваний. Просьба отказаться от нецензурной лексики. Просьба вести себя максимально корректно как по отношению к авторам, так и по отношению к другим читателям и их комментариям.
Надеемся на Ваше понимание и благоразумие. С уважением, администратор My-Books.me.
Оставить комментарий
-
Александра15 январь 09:37
Очень интересная книга! Особенно, если любишь психологию и хочешь понимать себя и других. Обязательно послушаю до конца. Спасибо....
Кригер Борис – Гнев
-
Галина25 май 13:02
Очень уважаю Артема Шейнина, книга замечательная, очень мне близкая по духу.Перечитываю уже второй раз, столько пережитого и не...
Мне повезло вернуться - Артем Шейнин
-
Екатерина11 январь 08:05
Доброе утро. Подскажите пожалуйста как сохранять книги, ставить закладки?...
Подонок - Анастасия Леманн