» » » Пэчворк. Лоскутный шедевр за 3 дня - Сергей Кашин

Пэчворк. Лоскутный шедевр за 3 дня - Сергей Кашин

Книгу Пэчворк. Лоскутный шедевр за 3 дня - Сергей Кашин читаем онлайн бесплатно и без регистрации! Читать онлайн вы можете не только на компьютере, но и на андроид (Android), iPhone и iPad. Наслаждайтесь!

219 0 05:00, 27-05-2019
Пэчворк. Лоскутный шедевр за 3 дня - Сергей Кашин
27 май 2019
Автор: Сергей Кашин Жанр: Книги / Домашняя Год публикации: 2015 Возрастные ограничения: (18+) Внимание! Аудиокнига может содержать контент только для совершеннолетних.
0 0

Книга Пэчворк. Лоскутный шедевр за 3 дня - Сергей Кашин читать онлайн бесплатно без регистрации

В этой книге вы найдете прекрасные пошаговые руководства по изготовлению изделий в технике лоскутного шитья. Даже совсем неопытные рукодельницы без особого труда освоят этот традиционный английский вид рукоделия. А опытные мастерицы найдут новый источник вдохновения.
1 ... 11 12 13 14 15 16 17 18 19 ... 43
Перейти на страницу:

Рисунок 71. Последовательность стачивания ромбов в шестиугольник вручную

При использовании швейной машины действуйте так же, как описано выше, но, когда при стачивании третьей детали с угловым фрагментом вы проложите строчку от края до центральной точки, поднимите лапку (иглу при этом опустите в центральную точку так, чтобы она прошла между деталями углового фрагмента), поверните ткань, совместите очередные 2 среза, опустите лапку машины и доведите шов до конца. Разверните заготовку, припуски загладьте на детали, образующие угол (рис. 72).


Пэчворк. Лоскутный шедевр за 3 дня

Рисунок 72. Порядок стачивания ромбов в шестиугольник на швейной машине

Не менее интересные блоки складывают при радиальной сборке, когда детали лоскутной мозаики, сходятся углами в центральной точке блока. При построении таких узоров нужно использовать радиальную сетку (рис. 73).

Для этого надо соединить противоположные углы и стороны квадрата.

Основой лоскутного шитья считают цвет. Поэтому любую работу начинают с того, что продумывают цветовую гамму, в которой представляют свое изделие. Если вы знаете, какой интерьер оно будет украшать, то и ткани подбирайте в той же тональности. Для нового интерьера можно позволить себе создать нечто необычное и к нему подобрать интерьер.

Пэчворк. Лоскутный шедевр за 3 дня

Рисунок 73. Радиальная сетка

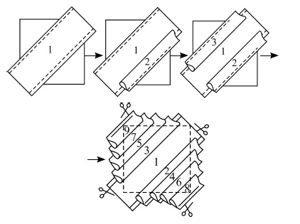
Узор получится качественным только тогда, когда максимально точно состыкуются углы отдельных деталей в центральной точке узора. Не менее важно соблюсти порядок сборки элементов в блок. Для наглядности потренируйтесь на узоре, называемом «Компас».

Процесс создания композиции предполагает упорядочение отдельных частей в единое полотно, которое подчиняется определенным правилам. В традиционном пэчворке они устанавливаются самой техникой выполнения и мотивами. Знание техники лоскутного шитья позволяет создавать свободные композиции.

Он имеет 8 секторов, каждый из которых состоит из 3 деталей – треугольников. Чтобы они по всему узору были одинаковыми, приготовьте 3 шаблона, по которым и выкроите детали соответствующих цветов. Перед тем как начать сборку, разложите детали на столе по рисунку и собирайте сразу все сектора, выполняя сходные операции с одинаковыми деталями.

Сначала сложите лицевыми сторонами внутрь детали 1 и 2, совместите срезы, чтобы они дали сплошную ровную линию, параллельную будущему шву.

Боковые срезы должны совпасть только в точках прохождения шва. Сколите детали булавками, стачайте, разверните заготовку, отутюжьте швы в сторону более темной детали. После его пристрочите треугольник 3, разверните заготовку целого сектора, отутюжьте шов.

Далее стачайте сектора попарно, чтобы получились квадраты, которые последовательно сшейте в полосу, составляющую половину блока. На последнем этапе соедините 2 половины узора. Ход работы наглядно показан на рисунке 74.


Пэчворк. Лоскутный шедевр за 3 дня

Рисунок 74. Последовательность операций при радиальной сборке

Плоскость полотна можно подчинить законам симметрии или асимметрии. Первая обеспечивает строгость, равновесие, статику, вторая – динамику, поэтому первая менее интересная, вторая очень непринужденная, подвижная и живая.

Как уже было сказано, качество узора зависит от точности сборки деталей в центральной точке. Чтобы добиться этого, после того как сектора соединены попарно, проверьте, равен ли угол, выходящий к центру, 90°. Далее обратите внимание на то, чтобы срезы заготовок были абсолютно прямолинейными. В конце сборки аккуратно совместите швы, сколите их булавками (не забудьте, что припуски на швы на заготовках должны быть отутюжены в разные стороны) и проложите строчку. Подготовленный блок разверните, отгладьте. Простым приемом в пэчворке является сшивание блока из полос, которые могут располагаться вертикально, горизонтально и диагонально. На последнем варианте мы и остановимся, поскольку с предыдущими все вполне понятно. Для начала нарежьте заготовки по долевой нити (удобно воспользоваться роликовым ножом и специальной линейкой, но при их отсутствии начертите на изнаночной стороне полоски и вырежьте их ножницами). Полоски вообще, и диагональные в частности, лучше пришивать на основу, потому что при таком способе они меньше деформируются и не искажают рисунок. Итак, положите первую полоску лицевой стороной вверх по диагональной линии основы, приколите ее булавками, как обычно, поперек полосы. Следующую полоску наложите на первую лицевой стороной внутрь, совместив срезы, проложите машинную строчку, прошивая все 3 слоя ткани. Отверните полоску на лицевую сторону, отутюжьте ее и срежьте излишек. С третьей и остальными полосками проделайте то же самое, пока все полотно с 1 стороны не будет заполнено. Нашейте полоски на оставшуюся часть полотна, соблюдая ту же методику. Порядок работы показан на рисунке 75.


Пэчворк. Лоскутный шедевр за 3 дня

Рисунок 75. Последовательность шитья полос на основу

Если изделию требуется придать объем, то лоскутное шитье из полос – наиболее подходящий вариант. Такое шитье обязательно требует основы. Что касается тканей, то подойдут любые, кроме толстых, например драпа, вельвета и пр. Наиболее интересные узоры получают из трикотажного полотна. Но есть и недостаток, о котором тоже необходимо знать. На объемное шитье понадобится в 2 раза больше ткани.

Блоки, из которых складывается лоскутное шитье, подчиняются определенному ритму, а мы, в свою очередь, можем на него влиять. Ведь достаточно повернуть блок в горизонтальной или вертикальной плоскости, как картинка, словно в калейдоскопе, меняется. Это особенно ощущается на примере традиционных узоров.

Рассмотрим объемное шитье на примере использования диагональных полос. На основу по диагонали положите полосу лицевой стороной вверх, приколите ее булавками и прошейте на машине. Следующую полосу сложите пополам лицевой стороной вверх и наложите на длинный срез первой полосы, прикрыв ее припуск на шов на 5–7 мм (этого правила придерживайтесь и далее), приколите и закрепите машинной строчкой. Причем соблюдайте параллельность элементов. Таким же образом заполните всю основу, лишнюю ткань срежьте.

Последовательность выполнения объемного узора показана на рисунке 76.


Пэчворк. Лоскутный шедевр за 3 дня

1 ... 11 12 13 14 15 16 17 18 19 ... 43
Перейти на страницу:
  1. Жалоба
Отзывы - 0

Прочитали книгу? Предлагаем вам поделится своим впечатлением! Ваш отзыв будет полезен читателям, которые еще только собираются познакомиться с произведением.


Уважаемые читатели, слушатели и просто посетители нашей библиотеки! Просим Вас придерживаться определенных правил при комментировании литературных произведений.

Просьба отказаться от дискриминационных высказываний. Мы защищаем право наших читателей свободно выражать свою точку зрения. Вместе с тем мы не терпим агрессии. На сайте запрещено оставлять комментарий, который содержит унизительные высказывания или призывы к насилию по отношению к отдельным лицам или группам людей на основании их расы, этнического происхождения, вероисповедания, недееспособности, пола, возраста, статуса ветерана, касты или сексуальной ориентации. Просьба отказаться от оскорблений, угроз и запугиваний. Просьба отказаться от нецензурной лексики. Просьба вести себя максимально корректно как по отношению к авторам, так и по отношению к другим читателям и их комментариям.

Надеемся на Ваше понимание и благоразумие. С уважением, администратор My-Books.me.


Новые отзывы

  1. Александра Александра15 январь 09:37 Очень интересная книга! Особенно, если любишь психологию и хочешь понимать себя и других. Обязательно послушаю до конца. Спасибо.... Кригер Борис – Гнев
  2. Галина Галина25 май 13:02 Очень уважаю Артема Шейнина, книга замечательная, очень мне близкая по духу.Перечитываю уже второй раз, столько пережитого и не... Мне повезло вернуться - Артем Шейнин
  3. Екатерина Екатерина11 январь 08:05 Доброе утро. Подскажите пожалуйста как сохранять книги, ставить закладки?... Подонок - Анастасия Леманн
Все комметарии
Новинки бесплатной онлайн библиотеки