Обустройство и ремонт дома быстро и дешево. Коммуникации и интерьер своими руками всего за 2 месяца - Юрий Казаков
Книгу Обустройство и ремонт дома быстро и дешево. Коммуникации и интерьер своими руками всего за 2 месяца - Юрий Казаков читаем онлайн бесплатно и без регистрации! Читать онлайн вы можете не только на компьютере, но и на андроид (Android), iPhone и iPad. Наслаждайтесь!
294 0 09:12, 25-05-2019Книга Обустройство и ремонт дома быстро и дешево. Коммуникации и интерьер своими руками всего за 2 месяца - Юрий Казаков читать онлайн бесплатно без регистрации
Трехходовые краны применяют при регулировке нагревательных устройств однотрубной системы с нижней разводкой.
Запорно-регулирующая арматура (проходные краны, задвижки, вентили) предназначена для отключения частей системы и регулировки их функционирования.
Использование панельных радиаторов в сочетании с терморегулиру-ющей арматурой в зданиях с индивидуальными тепловыми системами, например в коттеджах, обеспечивает существенную экономию энергии, а значит и денег.
Установка радиаторов подразумевает следующие этапы.
1. Развертывание (свертывание) ниппелей (при группировке радиаторных секций). При этом используются радиаторные ключи, у которых имеются отверстия для ручки, и плоская отвертка определенной ширины – достаточной для свободного прохождения отвертки сквозь ниппельные отверстия (с упором на внутренние грани).
2. Отсоединение радиаторных секций. Для этого прибор закрепляют на верстаке и в ниппельные отверстия вставляют два радиаторных ключа. В целях обеспечения одновременного развертывания ниппелей данную операцию должны проводить два человека.
3. Присоединение радиаторных секций. Две соединяемые части кладут на верстак. Ниппели смазывают олифой, одевают прокладки, а затем вкручивают ниппели вручную на 1–2 резьбовые линии. После этого подводят к ним дополнительную радиаторную секцию и производят одновременное (двумя ключами) завертывание ниппелей в секции до упора. Тем самым предотвращается перекос радиаторных частей.
Внимание
При разборке радиатора действия производятся в обратном порядке.
4. Гидравлическая прессовка для выявления трещин (протечек). Собранный радиатор подключают к гидравлическому прессу, после чего одновременно производятся выпуск воздуха и заполнение радиатора водой. Пресс создает нужное давление. Если отсутствует протечка (при ее наличии стрелка манометра падает), радиатор готов к установке. Устранить протечку можно благодаря подтяжке ниппелей.
Перед окончательной установкой на стене радиаторы следует огрунтовать и окрасить.
Данный вид отопления рассмотрим более подробно, поскольку оно еще используется в 50 % домов сельской местности в странах СНГ. Кроме самого распространенного топлива – дров – применяют природный газ.
При установке печи учитываются особенности архитектуры дома, количество этажей, материал стен и размеры ограждающих элементов.
Достоинства печного отопления:
♦ низкая стоимость (относительно других видов);
♦ простота устройства;
♦ большой выбор видов топлива;
♦ вентиляция отапливаемых помещений.
Недостатки печного отопления:
♦ низкий КПД (по сравнению, например, с водяным);
♦ неравномерное распределение теплого воздуха;
♦ переохлаждение подвальных помещений;
♦ громоздкость используемых конструкций (потери полезной площади около 5–6 %);
♦ постоянная потребность в топливе;
♦ неудобства эксплуатации (загрязнение помещения топливными отходами – шлаком, золой и т. п.);
♦ риск отравления угарным газом (в основном по причине неправильного ухода);
♦ пожароопасность.
По продолжительности работы все отопительные печи можно подразделить на два основных типа:
♦ периодического действия (топятся 1–2 раза в сутки);
♦ длительного горения (топка продолжается несколько суток, при этом используется жидкое топливо или сортированный уголь).
Примечание
У печи периодического действия уровень температурного колебания воздуха не должен превышать интервал -3… +3 °C в сутки.
По количеству вырабатываемого тепла печи подразделяются на теплоемкие и нетеплоемкие. Теплоемкость печей определяется их активным объемом (всей нагревающейся площадью). У печей, считающихся теплоемкими, активный объем более 0,2 м3, у нетеплоемких – меньше 0,2 м3.
Нетеплоемкие печи не держат тепло, поэтому их следует топить постоянно. Область применения – дома, не рассчитанные для постоянного проживания.
Теплоемкие печи, которые сохраняют тепло до 12 ч, топят 2 раза в сутки, до 8 ч – 2–3 раза, до 3–4 ч – с небольшими интервалами от 5 раз в сутки.
В зависимости от используемых материалов все печи классифицируются следующим образом (по возрастанию их теплоемкости):
♦ чугунные (без футеровки (защитной отделки));
♦ стальные (с внутренней футеровкой из огнеупорного кирпича);
♦ кирпичные (устанавливаются в металлических футлярах);
♦ из огнеупорного бетона;
♦ кирпичные (со штукатуркой);
♦ кирпичные изразцовые.
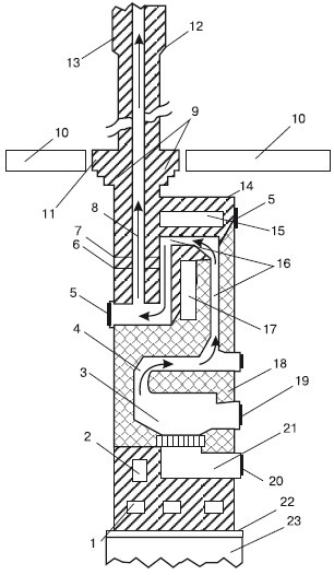
Основные элементы печного устройства представлены на рис. 3.11.
Принцип действия печи таков. Тепло, выделяемое в ней при сгорании топлива, передается помещению через стенки топливника и газоходов; охладившиеся газы отводятся наружу через дымовую трубу.

Рис. 3.11. Устройство бытовой печи:
1 – шанцы; 2 – подтопочный канал; 3 – топливник; 4 – проем в перекрытии топливника (хайло); 5 – прочистные отверстия; 6, 7 – задвижки; 8 – дымовой канал (дымоход); 9 – разделка; 10 – перекрытие; 11 – теплоизоляция; 12 – выдра; 13 – дымовая труба; 14 – перекрыша; 15 – душник; 16 – конвективная система; 17 – камера; 18 – свод; 19, 20 – дверцы; 21 – зольниковая камера (поддувало, зольник); 22 – гидроизоляция; 23 – фундамент
Перед кладкой печи необходимо определить ее место в помещении. Она должна не «конфликтовать» с другими конструкциями дома и гармонично вписываться в интерьер.
Чаще всего печь устанавливают в ближайшем к входной двери углу капитальной внутренней стены (здесь же проходят и дымовые каналы). Это освобождает часть полезной площади помещения. При капитальных ремонтах зданий печи необходимо устанавливать как можно ближе к дымовой трубе, чтобы топить можно было из коридора или другого нежилого помещения.
Рекомендую в качестве наиболее практичного варианта открытую установку отопительной печи, при которой весь ее массив будет отдавать теплоту непосредственно в помещение.
Прочитали книгу? Предлагаем вам поделится своим впечатлением! Ваш отзыв будет полезен читателям, которые еще только собираются познакомиться с произведением.
Уважаемые читатели, слушатели и просто посетители нашей библиотеки! Просим Вас придерживаться определенных правил при комментировании литературных произведений.
Просьба отказаться от дискриминационных высказываний. Мы защищаем право наших читателей свободно выражать свою точку зрения. Вместе с тем мы не терпим агрессии. На сайте запрещено оставлять комментарий, который содержит унизительные высказывания или призывы к насилию по отношению к отдельным лицам или группам людей на основании их расы, этнического происхождения, вероисповедания, недееспособности, пола, возраста, статуса ветерана, касты или сексуальной ориентации. Просьба отказаться от оскорблений, угроз и запугиваний. Просьба отказаться от нецензурной лексики. Просьба вести себя максимально корректно как по отношению к авторам, так и по отношению к другим читателям и их комментариям.
Надеемся на Ваше понимание и благоразумие. С уважением, администратор My-Books.me.
Оставить комментарий
-
Александра15 январь 09:37
Очень интересная книга! Особенно, если любишь психологию и хочешь понимать себя и других. Обязательно послушаю до конца. Спасибо....
Кригер Борис – Гнев
-
Галина25 май 13:02
Очень уважаю Артема Шейнина, книга замечательная, очень мне близкая по духу.Перечитываю уже второй раз, столько пережитого и не...
Мне повезло вернуться - Артем Шейнин
-
Екатерина11 январь 08:05
Доброе утро. Подскажите пожалуйста как сохранять книги, ставить закладки?...
Подонок - Анастасия Леманн