Полы, арки и перегородки в современном доме - В. Котельников
Книгу Полы, арки и перегородки в современном доме - В. Котельников читаем онлайн бесплатно и без регистрации! Читать онлайн вы можете не только на компьютере, но и на андроид (Android), iPhone и iPad. Наслаждайтесь!
178 0 16:06, 13-05-2019Книга Полы, арки и перегородки в современном доме - В. Котельников читать онлайн бесплатно без регистрации
Совет мастера
Хороший гидроизоляционный барьер можно создать, если уложить на основание пола пленку из вспененного полиэтилена. Но при этом нужно следить за тем, чтобы соблюдалась также изоляция стыков полотен.
Укладка массива на фанеру
Под доски необходимо проложить водостойкую фанеру толщиной не менее 12 мм. Ее листы следует раскроить на полосы в 40–60 см по направлению меньшей стороны и уложить «вразбежку» с зазором, который между полосками должен составлять 5 мм, а у стены – 8-12 мм.
Если в стяжке нет коммуникаций, то крепление фанеры можно осуществлять с использованием шурупов и дюбелей, утапливая их головки вглубь фанеры на 3–4 мм.
Если по основанию расположены коммуникации, то саморезы их могут повредить, поэтому крепление нужно производить на клей (рис. 21). Для лучшего сцепления клея с поверхностью листы рекомендуется пригружать.

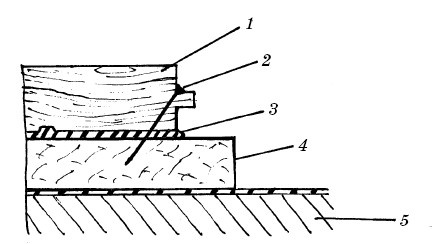
Рис. 21. Основание из фанеры по стяжке: 1 – доска; 2 – гвоздь; 3 – клей; 4 – фанера; 5 – клей
Нужно дать время на полимеризирование клея, а фанеру в это время следует отшлифовать и обеспылить. Для лучшей сцепляемости фанеру необходимо прогрунтовать. Когда грунтовка высохнет, можно наносить клей. Лучше, если это будет двухкомпонентный состав.
Первую доску, начиная от стены, нужно расположить шипом к стене, оставив деформационный зазор. Во всех последующих рядах доски необходимо притягивать саморезами под углом примерно 45–50° с шагом 20–30 см, утапливая его головку на глубину 3 мм. Деформационный зазор нужно по окончании работ зашпаклевать и закрыть плинтусом.
Если массив стыкуется с керамической плиткой на одном уровне, рекомендуется прокладывать компенсационную ленту из пробки, тогда не понадобится декоративный порожек. А при расширении доски компенсационная нагрузка перейдет на пробку.
Укладка массива на стяжку
Массивную доску можно укладывать на стяжку без применения фанеры или предварительной укладки лаг. Но данный вариант подходит только для помещений, расположенных выше второго этажа. При этом основание пола должно быть практически идеальным: ровным и прочным. Рекомендуется использовать только двухкомпонентные клеи: полиуретановые, эпоксидно-полиуретановые или полиуретановые эластичные.
Перед нанесением клея поверхность необходимо прогрунтовать специальным раствором на эпоксидной основе. Это придаст полу прочность, усилит пароизоляционные качества, обеспечит надежную сцепляемость.
В отличие от деревянного основания, доски на стяжку можно монтировать как в направлении от стены, так и от середины помещения.
Совет мастера
Так как двухкомпонентный клей имеет ограниченный срок сцепления, процесс укладки с двух сторон является более выгодным. Пока происходит склеивание нескольких рядов, уложенных с одной стороны, с другой стороны можно подготовить и уложить следующие доски.
Первоначально необходимо уложить по крайней мере три ряда – «закладные». Расстояние от стен следует тщательно регулировать. После наклеивания доски нужно оставить под грузом до окончательного схватывания клея. Вся дальнейшая работа должна проводиться с ориентиром на полученную закладную линию.
Производя укладку, не следует забывать о необходимом зазоре между доской и стеной: по продольной стороне он должен составлять 10–15 мм, а с торцевой части – всего 5-10 мм, так как сезонная деформация древесины в продольном направлении небольшая.
Так как укладка массивной доски имеет большие объемы, то необходима предварительная подгонка и подборка. Все элементы рекомендуется собрать сначала всухую, без клея. Планки нужно разложить на основании и проверить их расположение, правильность стыковки и сочетаются ли они по рисунку дерева. Особое внимание следует обратить на торцы, где не должно быть трещин и сколов.
Затем необходимо приступить к закреплению элементов пола. Можно использовать как жесткое, так и «плавающее» крепление. При жестком креплении массив нужно подтянуть к основанию с помощью саморезов, закрепив их с шагом 20–30 см.
Варианты раскладки массивной доски
Существует несколько вариантов раскладки массивной доски (рис. 22). Есть традиционная палубная укладка массивной доски, которая имеет разную длину. Панели при этом должны быть размещены вразбежку, т. е. исключается расположение стыков одного над другим.

Рис. 22. Варианты раскладки массивной доски
Второй способ такой же, но он предназначен для материала различной ширины. Ряды покрытия при этом способе располагаются параллельно стенам, при этом они имеют разную ширину и чередуются в произвольном порядке. Еще один способ – укладка планок с различной длиной по диагонали. Но этот вариант неэкономичный – остается много отходов материала.
Замковая массивная доска проста в монтаже и идеальна в эксплуатации. Для устройства пола по замковой технологии не требуется ни большой физической силы, ни особых навыков или инструментов. Единственным недостатком такого покрытия является его относительная дороговизна.
Материал, предназначенный для клеевой укладки, стоит значительно дешевле, однако он не подлежит демонтажу с возможностью последующей повторной укладки.
Преимуществами замкового соединения кроме простоты в укладке является экономия времени, так как не требуется время на высыхание клея. Соединение панелей между собой обеспечивает менее заметное, но более надежное крепление. Такой пол можно эксплуатировать сразу после монтажа. Смонтированная из досок по замковой системе плоскость составляет единое покрытие, которое не пружинит и не скрипит при ходьбе по нему.
Легкий демонтаж возможен благодаря наличию специальных торцевых стыковочных пазов и гребней на замковой системе. Механизмы соединений различные, но все они по способу фиксации делятся на замки типа «Lock» и сборно-разборные типа «Click».
Замковая система типа «Lock»
Доски, которые оснащены защелками типа «Lock», являются наиболее экономичным вариантом (рис. 23). Благодаря простоте конструкции и надежной стыковке, такая система стала самой популярной в последнее время. У данного способа соединения есть и другое название – «забивное», так как оно отражает особенности сборки пола.
Прочитали книгу? Предлагаем вам поделится своим впечатлением! Ваш отзыв будет полезен читателям, которые еще только собираются познакомиться с произведением.
Уважаемые читатели, слушатели и просто посетители нашей библиотеки! Просим Вас придерживаться определенных правил при комментировании литературных произведений.
Просьба отказаться от дискриминационных высказываний. Мы защищаем право наших читателей свободно выражать свою точку зрения. Вместе с тем мы не терпим агрессии. На сайте запрещено оставлять комментарий, который содержит унизительные высказывания или призывы к насилию по отношению к отдельным лицам или группам людей на основании их расы, этнического происхождения, вероисповедания, недееспособности, пола, возраста, статуса ветерана, касты или сексуальной ориентации. Просьба отказаться от оскорблений, угроз и запугиваний. Просьба отказаться от нецензурной лексики. Просьба вести себя максимально корректно как по отношению к авторам, так и по отношению к другим читателям и их комментариям.
Надеемся на Ваше понимание и благоразумие. С уважением, администратор My-Books.me.
Оставить комментарий
-
Александра15 январь 09:37
Очень интересная книга! Особенно, если любишь психологию и хочешь понимать себя и других. Обязательно послушаю до конца. Спасибо....
Кригер Борис – Гнев
-
Галина25 май 13:02
Очень уважаю Артема Шейнина, книга замечательная, очень мне близкая по духу.Перечитываю уже второй раз, столько пережитого и не...
Мне повезло вернуться - Артем Шейнин
-
Екатерина11 январь 08:05
Доброе утро. Подскажите пожалуйста как сохранять книги, ставить закладки?...
Подонок - Анастасия Леманн